GM Service Manual Online
For 1990-2009 cars only
Makes
🢒
Pontiac
🢒
2004
🢒
Bonneville
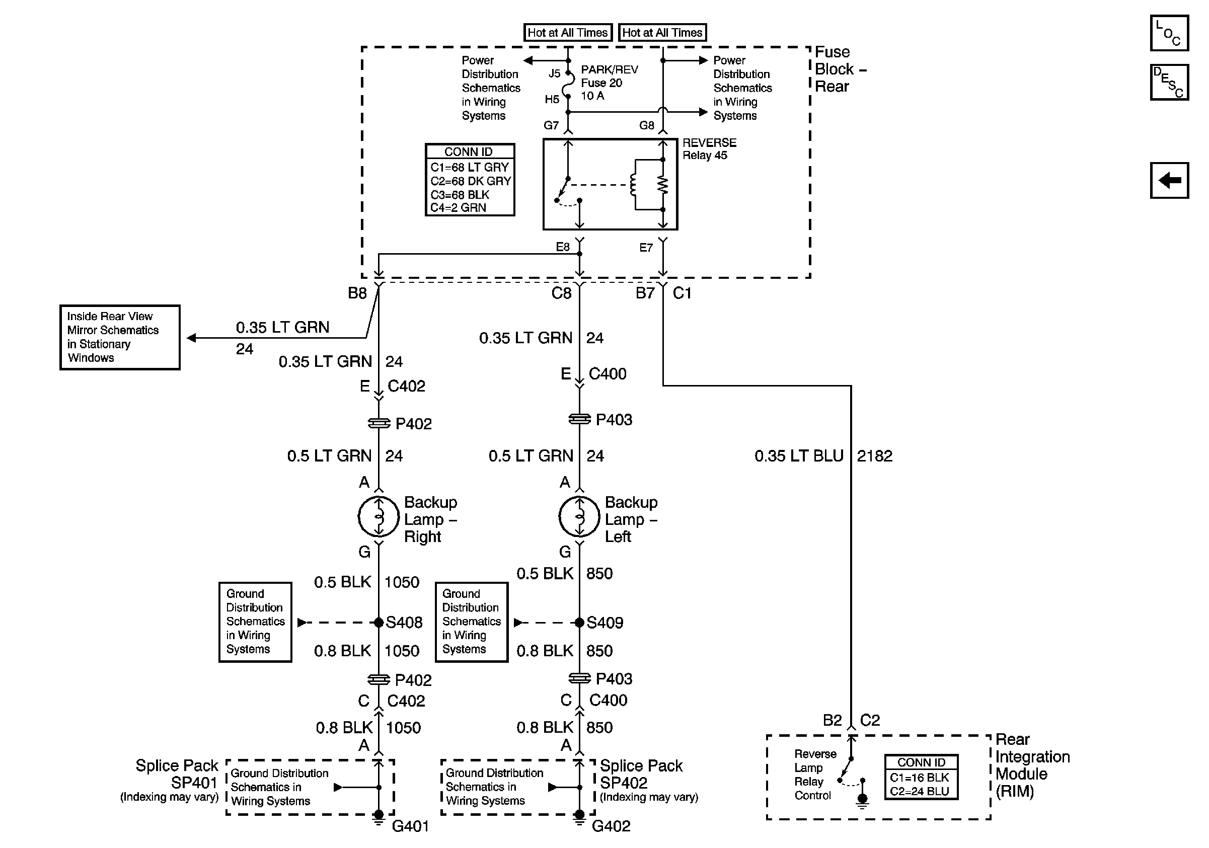
🢒 Backup Lamps
Backup Lamps
Backup Lamps
Master Electrical Component List
Exterior Lighting Systems Description and Operation
Park LP Relay and License Lamps
Inside RV Mirror Schematic
G401 (2 of 2)
G401 (2 of 2)
IGN SW, and PRK/REV Fuses
G402
G402
IGN SW, and PRK/REV Fuses