GM Service Manual Online
For 1990-2009 cars only
Makes
🢒
Pontiac
🢒
1985
🢒
Demonstrator
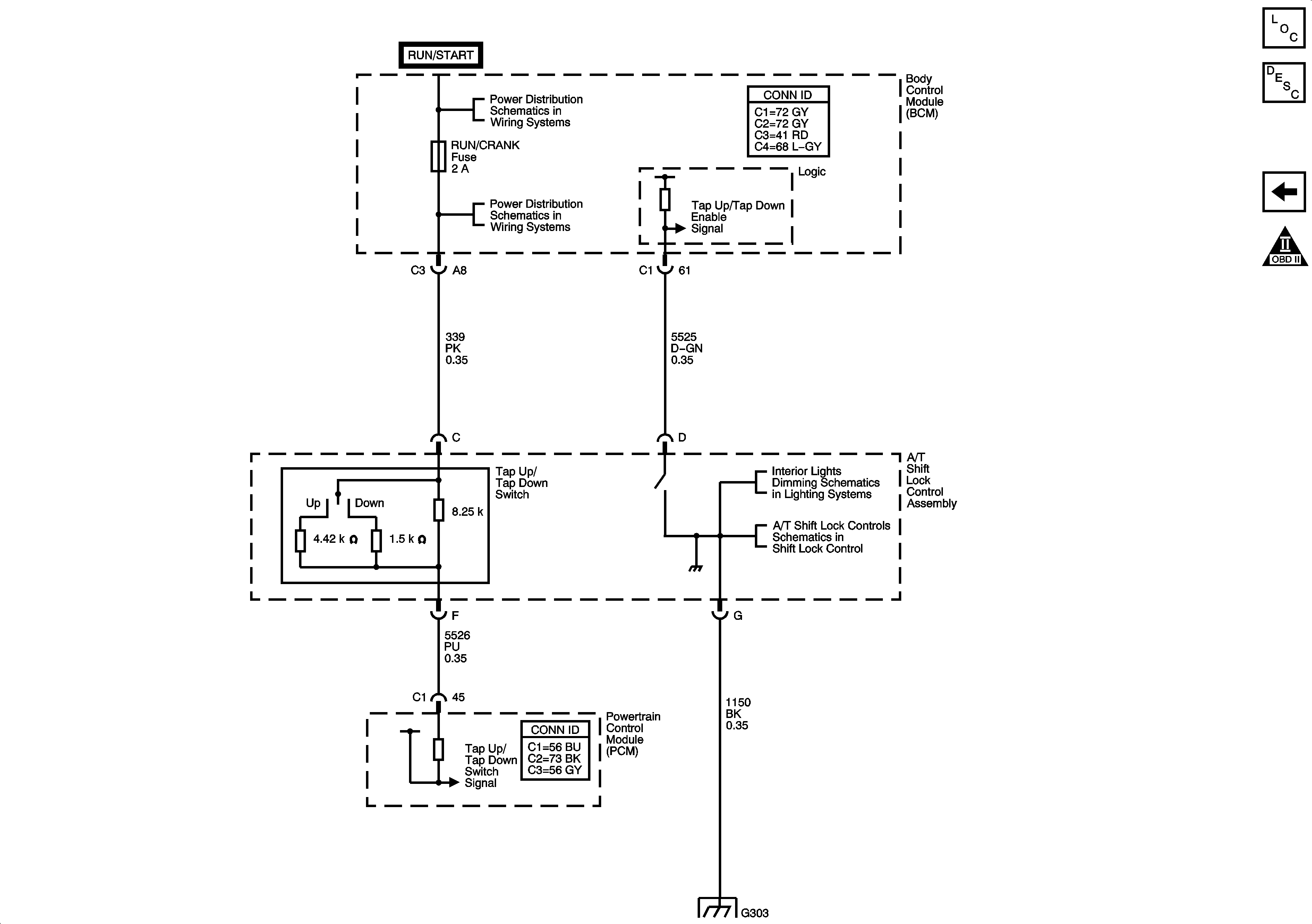
🢒 Tap Up/Tap Down Switch
Tap Up/Tap Down Switch
Tap Up/Tap Down Switch
Master Electrical Component List
Electronic Component Description
Park/Neutral Position Switch
Automatic Transmission Schematic Icons
Fuse Block - Underhood - IBCM R/C Fuse, BCM - AIRBAG (IGN), EPS, and RUN/CRANK Fuses
Fuse Block - Underhood - IBCM R/C Fuse, BCM - AIRBAG (IGN), EPS, and RUN/CRANK Fuses
Fuse Block - Underhood - IBCM R/C Fuse, BCM - AIRBAG (IGN), EPS, and RUN/CRANK Fuses
Seats and Center Console
A/T Shift Lock Controls Schematics
G303