GM Service Manual Online
For 1990-2009 cars only
Makes
🢒
Pontiac
🢒
2002
🢒
Firebird
🢒 Vehicle Theft Deterrent Components
Vehicle Theft Deterrent Components
Vehicle Theft Deterrent Components
Master Electrical Component List
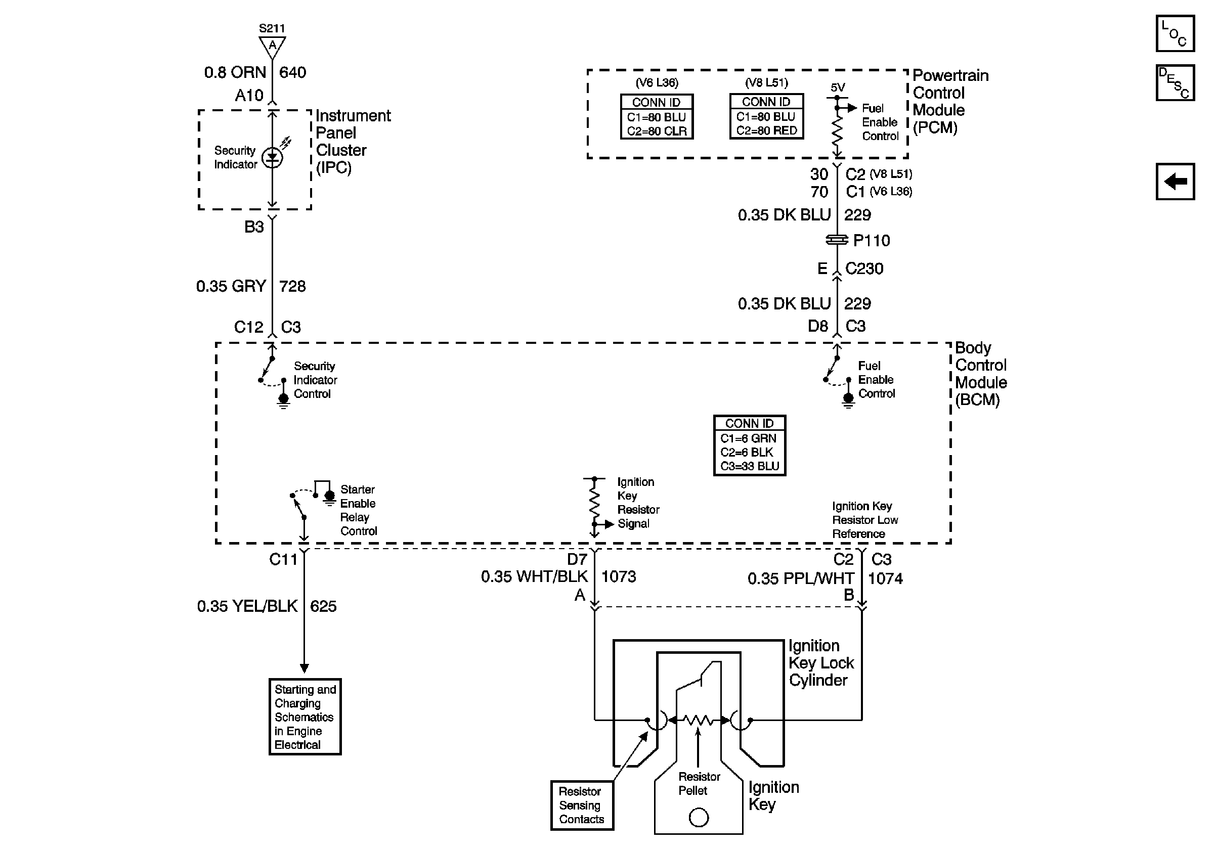
Theft Systems Description and Operation
Content Theft Deterrent Components
Content Theft Deterrent Components
Starting