GM Service Manual Online
For 1990-2009 cars only
Makes
🢒
Pontiac
🢒
2006
🢒
G6
🢒 Brake Warning System Schematics
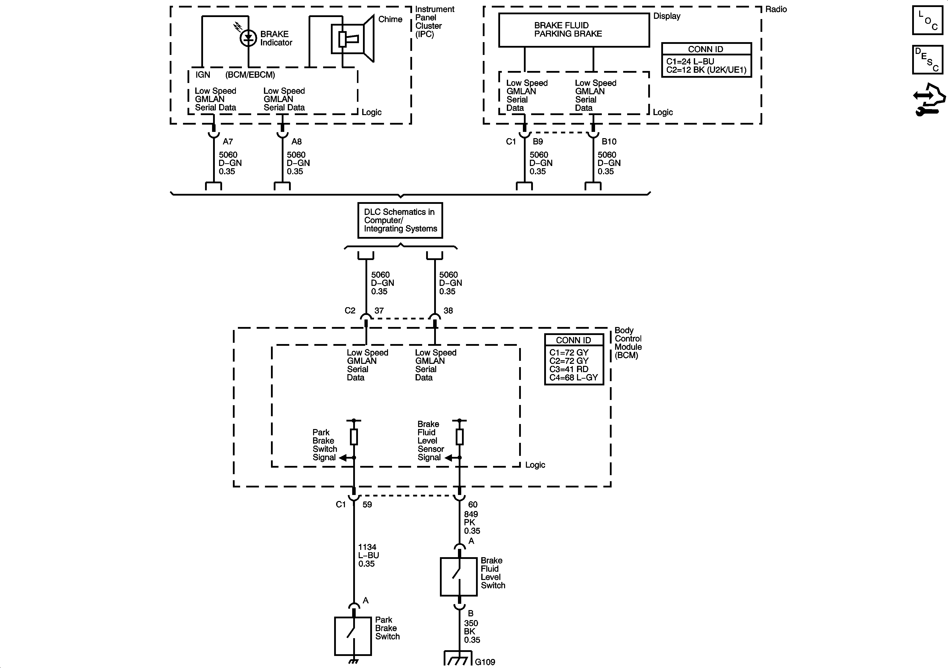
Brake Warning System Schematics
Master Electrical Component List
Brake Warning System Description and Operation
Control Module References
Low Speed Serial Data
G109