GM Service Manual Online
For 1990-2009 cars only
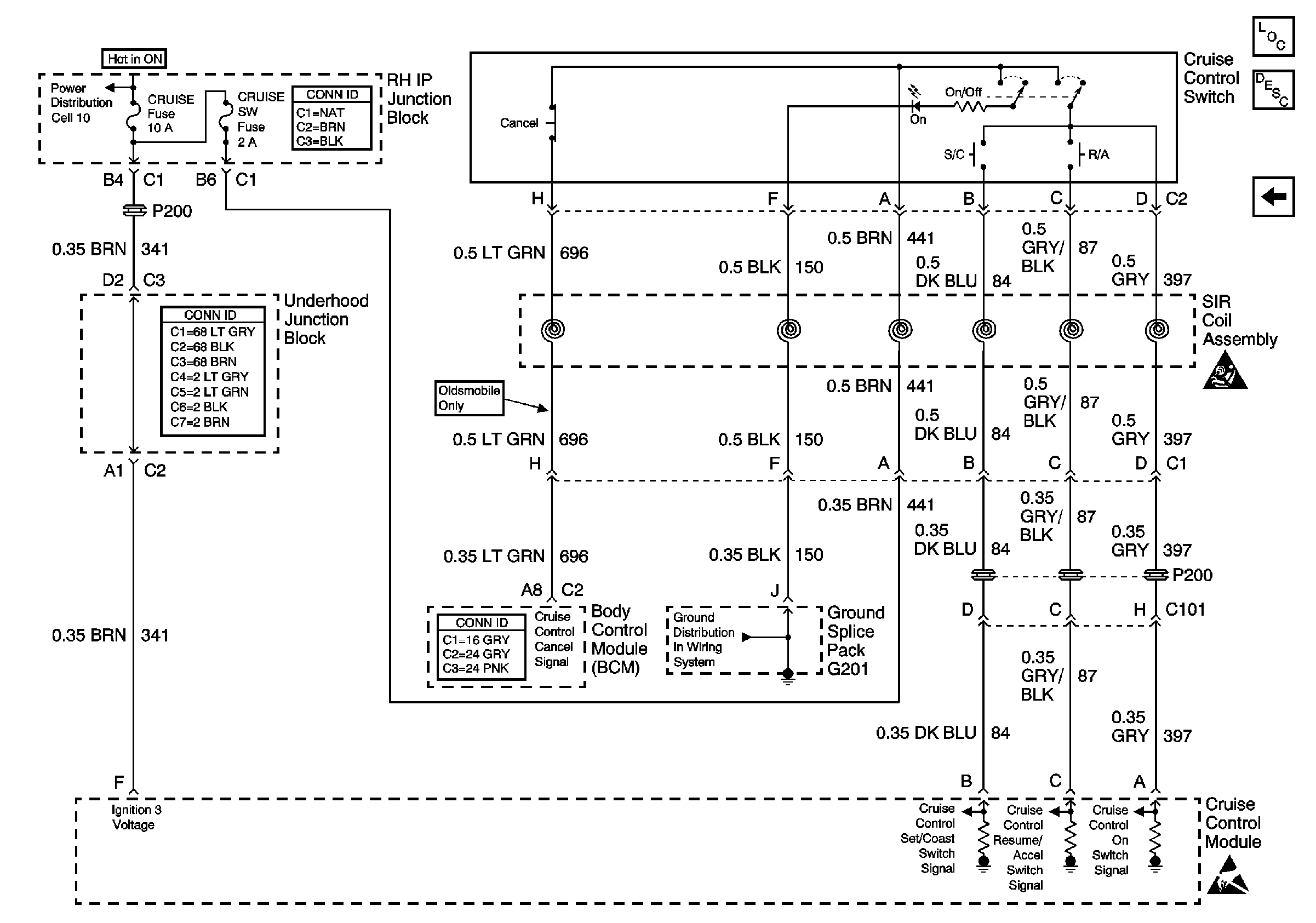
Figure 1:

Cruise Control Module


Object Number: 487512  Size: FS
Cruise Control Components
Cruise Control System Circuit Description
Cruise Control Switch Schematics
Handling ESD Sensitive Parts Notice
Handling ESD Sensitive Parts Notice
Ground Distribution Schematics
Handling ESD Sensitive Parts Notice
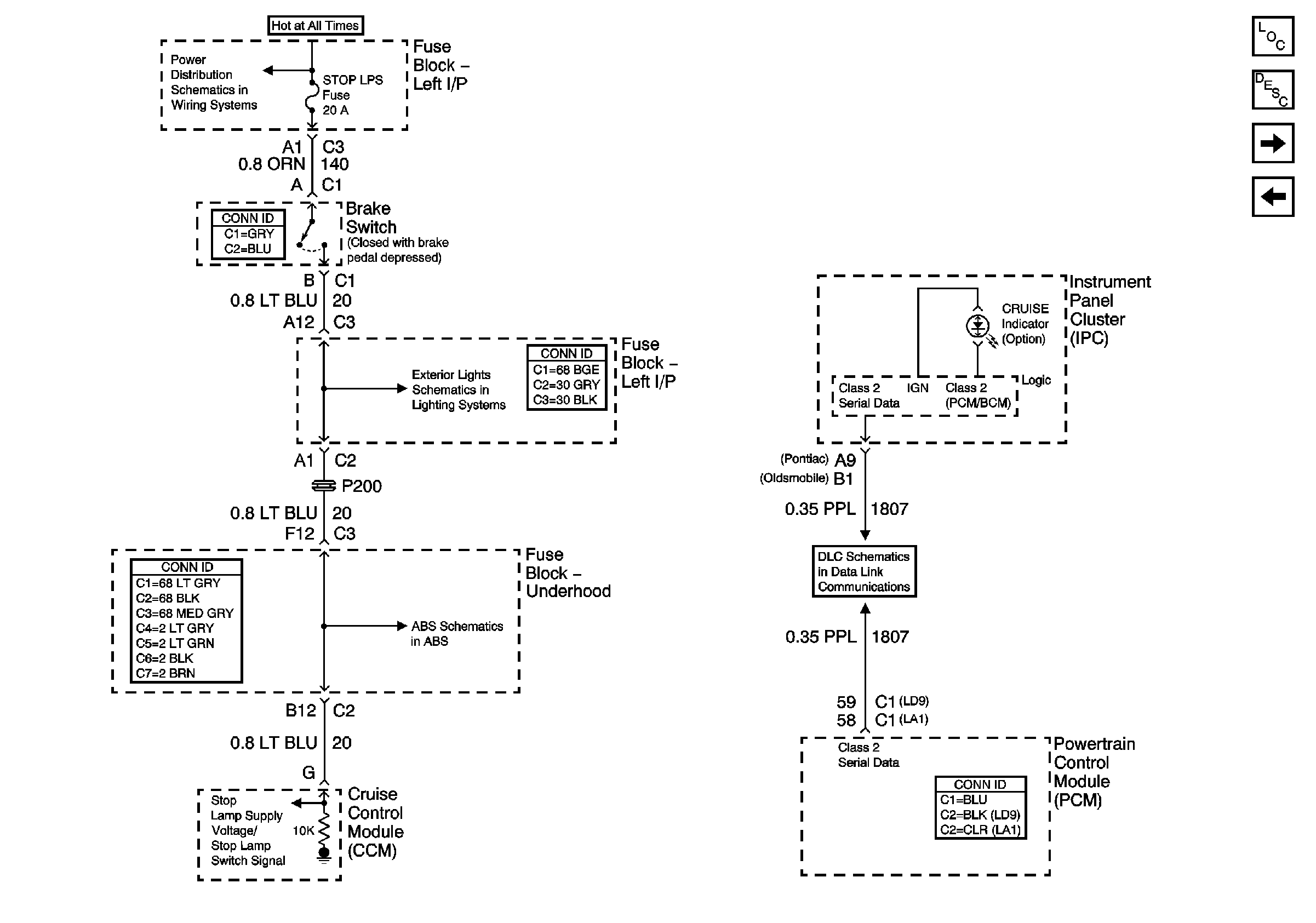
Figure 2:

Brake Switch and Indicator


Object Number: 814804  Size: FS
Master Electrical Component List
Cruise Control System Circuit Description
Cruise Control Switch Schematics
Cruise Control Module
LH BEC BATT 1, AUX PWR/CIGAR, PARK LPS, PCM BATT, PWR SEAT, PWR MIRROR, DR LOCK and TRUNK REL/RFA RADIO AMP Fuses
Brake Switch and High Mounted Stop Lamp
Instrument Cluster, Brake Switch and PCM
Class 2 Data Lines
Figure 3:

Cruise Control Switch Schematics


Object Number: 487513  Size: FS
Cruise Control Components
Cruise Control System Circuit Description
Cruise Control Module
SIR Handling Caution
Handling ESD Sensitive Parts Notice
Ground Distribution Schematics