GM Service Manual Online
For 1990-2009 cars only
Makes
🢒
Pontiac
🢒
2000
🢒
Grand Am
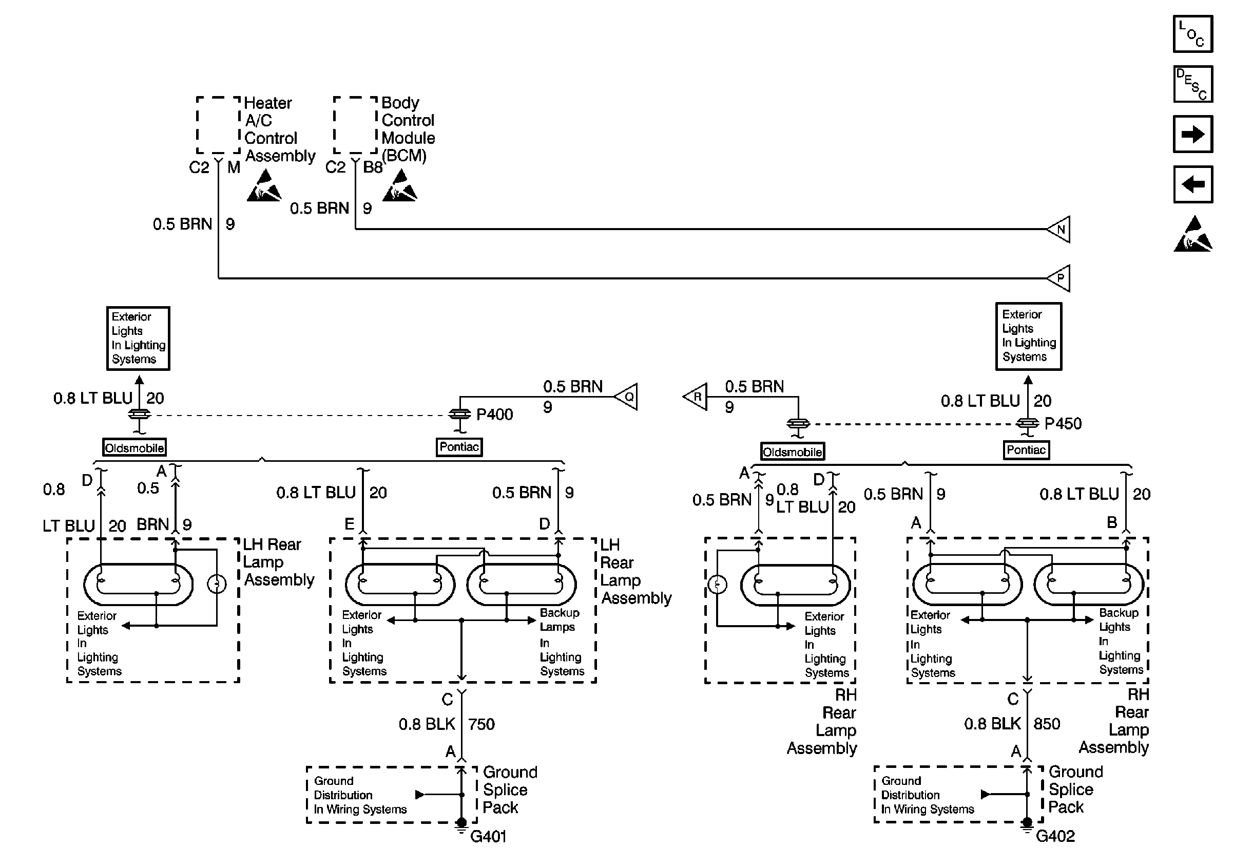
🢒 Tail/Stop Lamps
Tail/Stop Lamps
Tail/Stop Lamps
Lighting Systems Components
Exterior Lights Circuit Description
Rear Compartment Lid Lamp and License Lamp
Brake Switch and High Mounted Stop Lamp
Handling ESD Sensitive Parts Notice
Handling ESD Sensitive Parts Notice
Handling ESD Sensitive Parts Notice
Brake Switch and High Mounted Stop Lamp
Brake Switch and High Mounted Stop Lamp
Ground Distribution Schematics
Ground Distribution Schematics