GM Service Manual Online
For 1990-2009 cars only
Makes
🢒
Pontiac
🢒
1999
🢒
Grand Prix
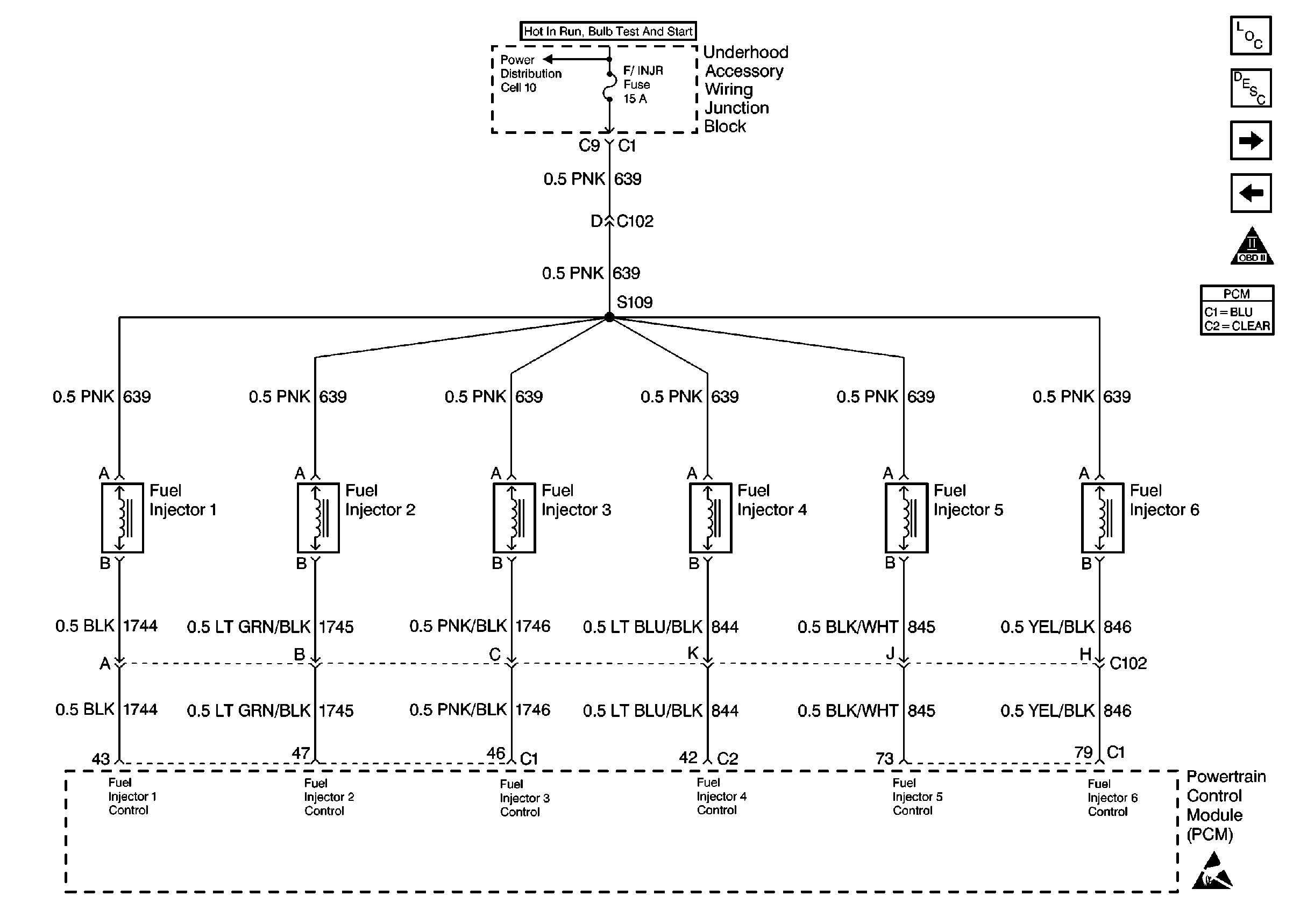
🢒 Fuel Injectors
Fuel Injectors
Fuel Injectors
Engine Controls Components
Information Sensors/Switches Description
Indicator Lamps
Fuel Control
OBD II Symbol Description Notice
Powertrain Control Module Connector End Views