GM Service Manual Online
For 1990-2009 cars only
Makes
🢒
Pontiac
🢒
1999
🢒
Grand Prix
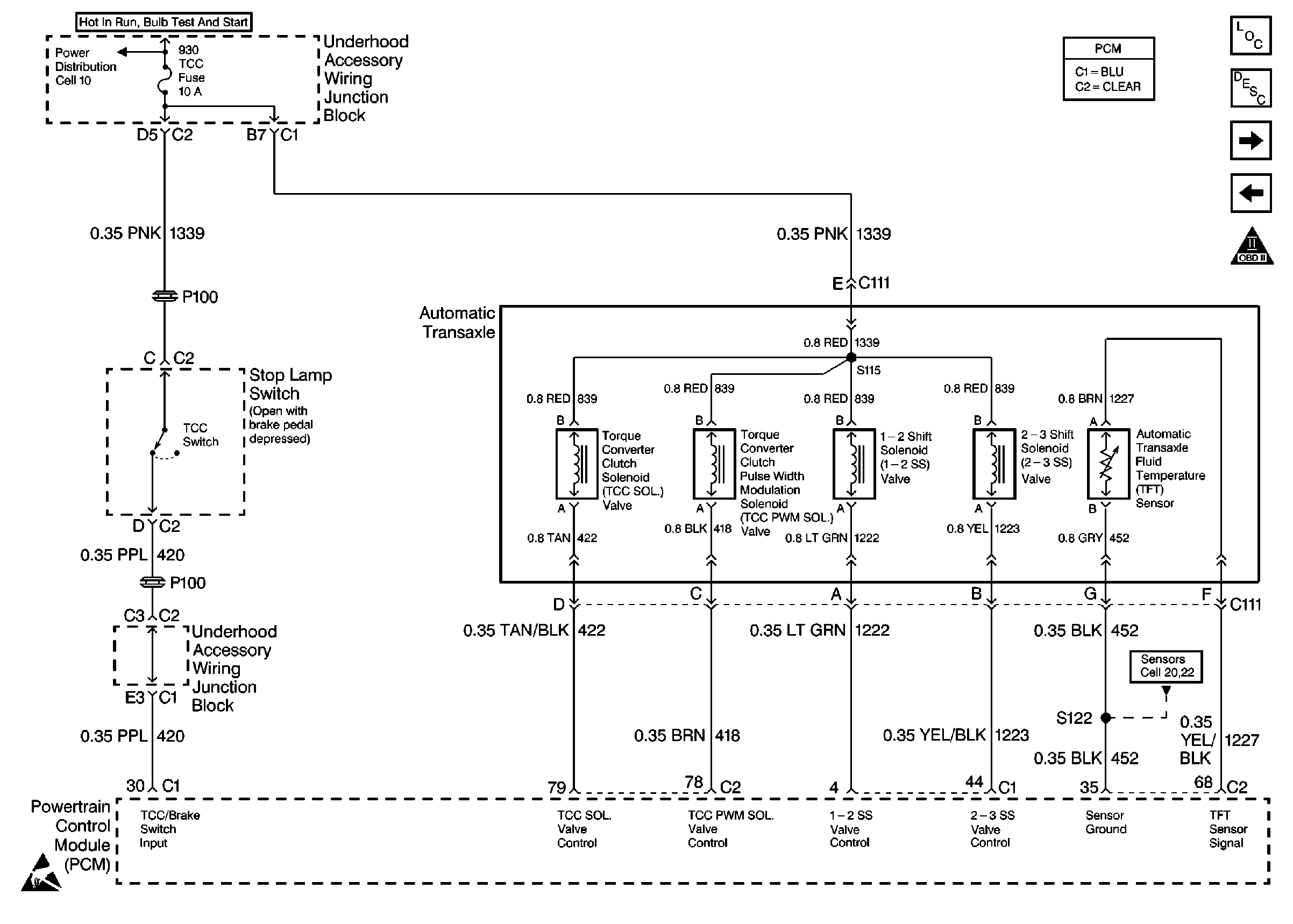
🢒 Transaxle Shifting Controls
Transaxle Shifting Controls
Transaxle Shifting Controls
Power Distribution Schematics
OBD II Symbol Description Notice
Engine Controls Components
Injector Control
Vehicle Speed Signal
Handling ESD Sensitive Parts Notice
Powertrain Control Module Description