GM Service Manual Online
For 1990-2009 cars only
Makes
🢒
Pontiac
🢒
2001
🢒
Grand Prix
🢒
Body and Accessories
🢒
Instrument Panel, Gauges, and Console
🢒 Driver Information System Schematics
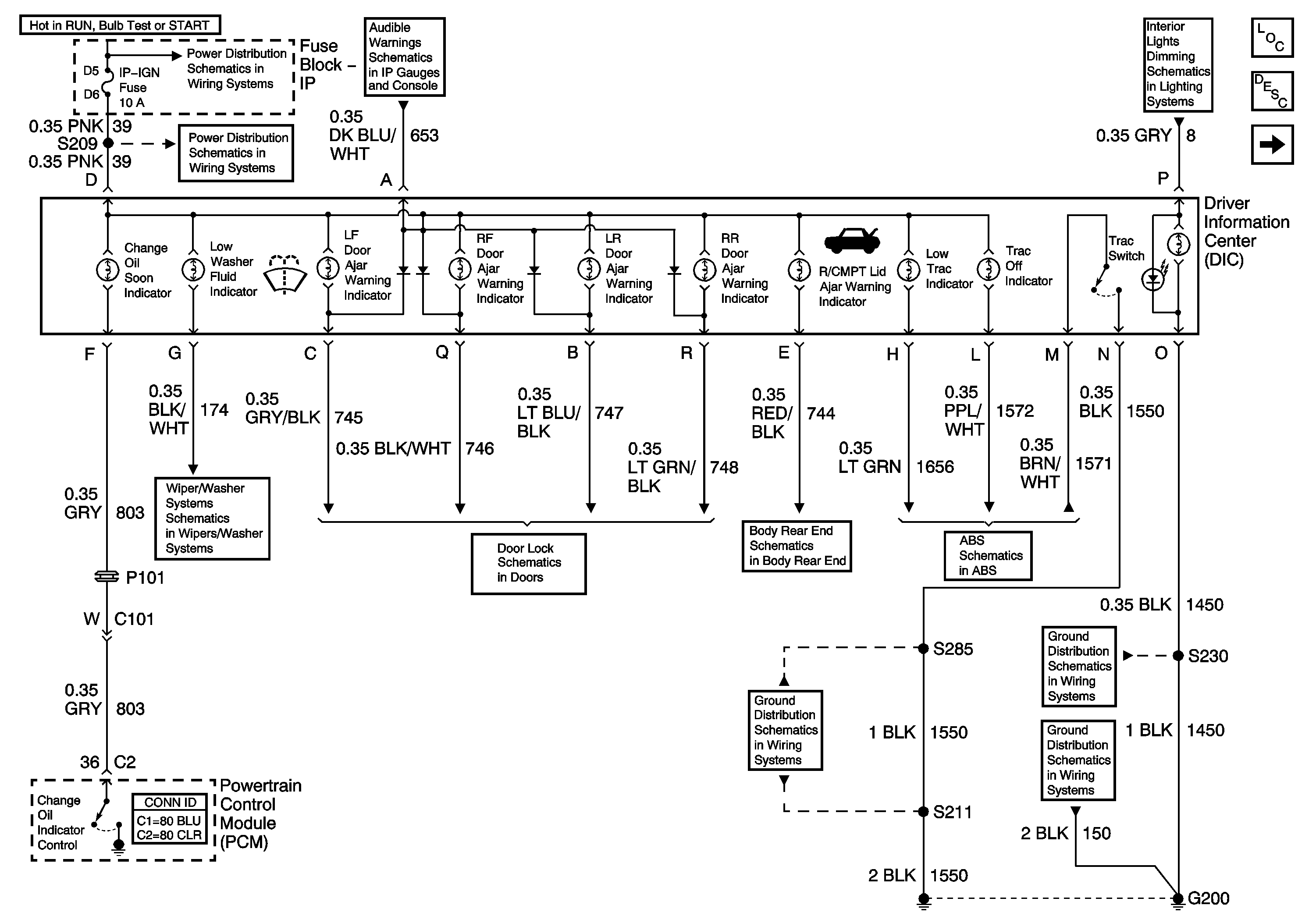
Figure
1:
Driver Information Center (DIC) (W/O U40)
IP-IGN, CRUISE, ECM Fuses
Audible Warning
IP-IGN, CRUISE, ECM Fuses
Wiper/Washer
Driver Information Center Door Ajar Indicators W/O RPO U40
Body Rear End
Traction Control
G200, S211, S285
G200, S230
G200, S213, S375
Headlamp Switch and Instrument Panel Lighting
Master Electrical Component List
Driver Information Center (DIC) (W/U40)
Figure
2:
Driver Information Center (DIC) (W/U40)
PARK LP, RADIO, and STR WHL ILLUM Fuses
PARK LP, RADIO, and STR WHL ILLUM Fuses
IP-IGN, CRUISE, ECM Fuses
IP-IGN, CRUISE, ECM Fuses
Driver Information Center Door Ajar Indicators W/RPO U40
Audible Warning
DIC/HVAC, HVAC CTRL Fuses
Wiper/Washer
Body Rear End
Headlamp Switch and Instrument Panel Lighting
Data Link Connector (DLC) Schematics
Gauges
Traction Control
G200, S211, S285
G200, S213, S375
G200, S230
Master Electrical Component List
Driver Information Center (DIC) (W/O U40)