GM Service Manual Online
For 1990-2009 cars only
Makes
🢒
Pontiac
🢒
2003
🢒
Grand Prix
🢒
Body and Accessories
🢒
Theft Deterrent
🢒 Theft Deterrent System Schematics
Figure
1:
Vehicle Theft Deterrent (VTD) System
Master Electrical Component List
Theft Systems Description and Operation
Body Control Module
HEADLAMPS, HVAC HI, PWR MIR, HAZARD, RAP, PASS-KEY Fuses and HEADLAMP Circuit Breaker
IP-IGN, CRUISE, and ECM Fuses
Indicators
IP-IGN, CRUISE, and ECM Fuses
DLC
G200, G213, S375
G200, S211, S285
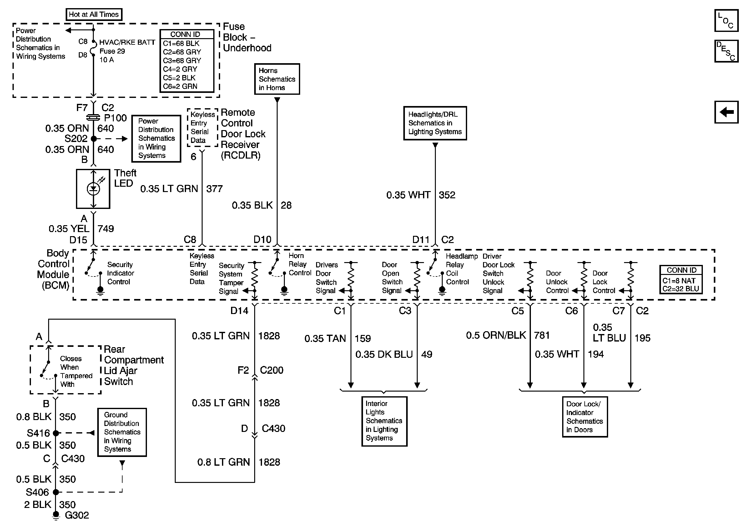
Figure
2:
Content Theft Deterrent (CTD) System
Master Electrical Component List
Theft Systems Description and Operation
Theft Deterrent Control Module
PARK LP, HVAC/RKE BATT and Illum Fuses
Horns
PARK LP, HVAC/RKE BATT and Illum Fuses
Dattime Running Lamps (DRL) Control Module Inputs
G302, S402, S406, S416
Switches
Door Lock Switches