GM Service Manual Online
For 1990-2009 cars only

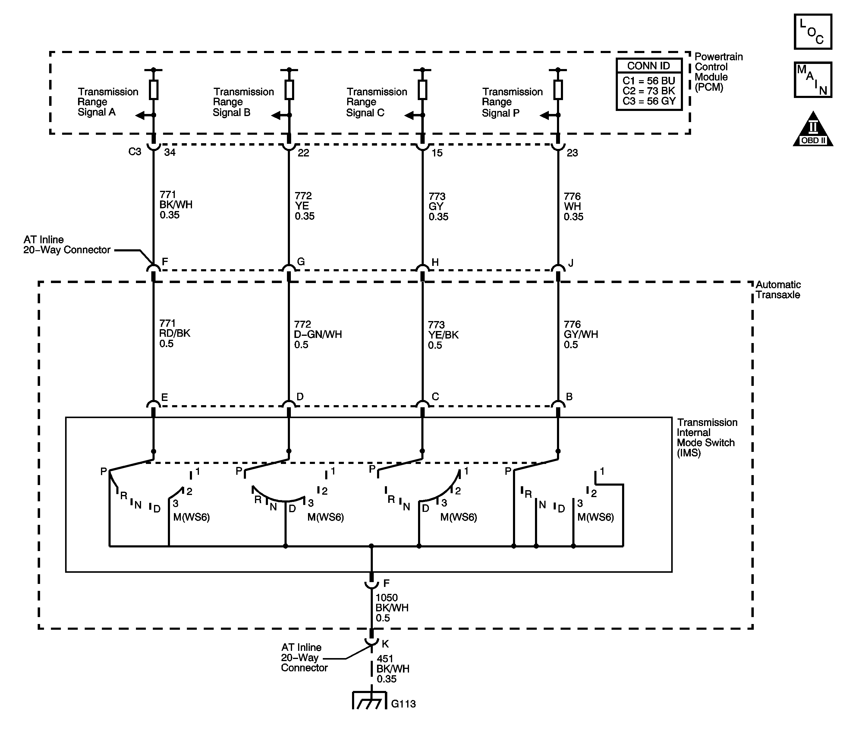
Object Number: 1214727  Size: LF
Master Electrical Component List
Automatic Transmission Controls Schematics
OBD II Symbol Description Notice

Circuit Description

The transmission internal mode switch (IMS) is a sliding contact switch attached to the selector detent inside the transmission side cover. The four inputs to the PCM indicate the position of the transmission range selector. The input voltage level at the PCM is high, B+, when the IMS is open and low when the switch is closed to ground. The four input parameters represented are Signals A, B, C and P - Parity. Refer to Transmission Internal Mode Switch Logic .

If the PCM detects that IMS Signal C is high while the vehicle is being driven in a forward gear, then DTC P1826 sets. DTC P1826 is a type C DTC.

Conditions for Running the DTC

    • No VSS DTCs P0502 or P0503.
    • Vehicle speed is 14 km/h (10 mph) or greater.
    • Engine torque is 27 N·m (20 lb ft) or greater.
    • DTC P1826 has not passed this key cycle.

Conditions for Setting the DTC

The PCM detects IMS Signal C is high, while the gear ratio indicates first, second, third or fourth gear for 60 seconds.

Action Taken When the DTC Sets

    • The PCM does not illuminate the malfunction indicator lamp (MIL).
    • The PCM commands maximum line pressure.
    • The PCM inhibits TAP Shift operation, if equipped.
    • The PCM freezes transmission adaptive functions.
    • The PCM assumes D4 for shifting.
    • The PCM records the operating conditions when the Conditions for Setting the DTC are met. The PCM stores this information as Failure Records.
    • The PCM stores DTC P1826 in PCM history.

Conditions for Clearing the DTC

    • A scan tool can clear the DTC.
    • The PCM clears the DTC from PCM history if the vehicle completes 40 warm-up cycles without a non-emission-related diagnostic fault occurring.
    • The PCM cancels the DTC default actions when the ignition switch is OFF long enough in order to power down the PCM.

Test Description

The number below refers to the step number on the diagnostic table.

  1. This step tests the integrity of the engine harness and PCM by checking for the Signal C state change from HI to LOW. A LOW signal indicates the fault is either in the internal transmission harness or the switch. A HI signal indicates the fault is either in the engine harness or the PCM.

Step

Action

Value(s)

Yes

No

1

Did you perform the Diagnostic System Check - Engine Controls?

--

Go to Step 2

Go to Diagnostic System Check - Engine Controls in Engine Controls - 3.8L

2

  1. Install a scan tool.
  2. Turn ON the ignition with the engine OFF.
  3. Important: Before clearing the DTC, use the scan tool in order to record the Failure Records. Using the Clear DTC Information function erases the Failure Records from the PCM.

  4. Record the DTC Freeze Frame and Failure Records.
  5. Clear the DTC.
  6. Select IMS on the scan tool.
  7. Place the range selector in D4.

Does the scan tool IMS parameter indicate Drive 4?

--

Go to Intermittent Conditions in Engine Controls - 3.8L

Go to Step 3

3

  1. Turn OFF the ignition.
  2. Disconnect the AT Inline 20-way connector. Additional DTCs may set.
  3. Install the J 44152 jumper harness on the engine side of the AT Inline 20-way connector.
  4. Using the J 35616 GM terminal test kit, connect a fused jumper wire from terminal H of the J 44152 to a good ground.
  5. Refer to Automatic Transmission Inline 20-Way Connector End View .

  6. Turn ON the ignition, with the engine OFF.
  7. Select IMS A/B/C/P on the scan tool.

Does IMS Signal C indicate LOW?

--

Go to Step 5

Go to Step 4

4

Test the signal C circuit of the IMS for an open between the PCM and the AT Inline 20-way connector.

Refer to Testing for Continuity and Wiring Repairs in Wiring Systems.

Did you find and correct a condition?

--

Go to Step 9

Go to Step 8

5

Test the signal C circuit of the IMS for an open between the AT Inline 20-way connector and the IMS.

Refer to Testing for Continuity in Wiring Systems.

Did you find the condition?

--

Go to Step 6

Go to Step 7

6

Replace the automatic transmission wiring harness.

Refer to Wiring Harness Replacement .

Did you complete the replacement?

--

Go to Step 9

--

7

Replace the lever assembly-manual shaft detent with internal mode switch.

Refer to Manual Shift Detent Lever with Shaft Position Switch Assembly Removal in Transmission Unit Repair Manual.

Did you complete the replacement?

--

Go to Step 9

--

8

Replace the PCM.

Refer to Powertrain Control Module Replacement in Engine Controls - 3.8L.

Did you complete the replacement?

--

Go to Step 9

--

9

Perform the following procedure in order to verify the repair:

  1. Select DTC.
  2. Select Clear DTC Information.
  3. Start and idle the engine in PARK for 10 seconds.
  4. Observe IMS A/B/C/P on the scan tool.
  5. Move the range selector to D1, D2, D3 and D4 positions. Ensure that IMS Signal C indicates LOW for each range.
  6. Operate the vehicle within the Conditions for Running the DTC as specified in the supporting text.
  7. Select Specific DTC.
  8. Enter DTC P1826.

Has the test run and passed?

--

Go to Step 10

Go to Step 2

10

With a scan tool, observe the stored information, capture info and DTC info.

Does the scan tool display any DTCs that you have not diagnosed?

--

Go to Diagnostic Trouble Code (DTC) List in Engine Controls - 3.8L

System OK