GM Service Manual Online
For 1990-2009 cars only

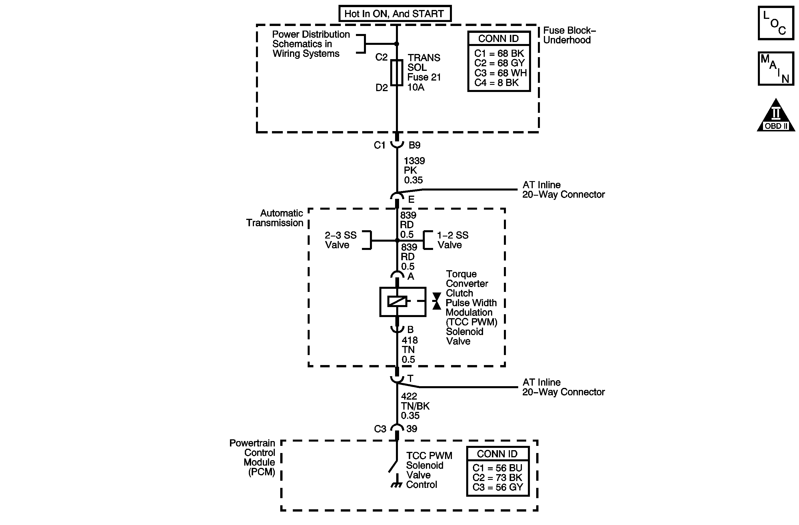
Object Number: 1214795  Size: MF
Master Electrical Component List
Automatic Transmission Controls Schematics
OBD II Symbol Description Notice

Circuit Description

Ignition voltage is provided to the torque converter clutch pulse width modulation (TCC PWM) solenoid valve. The PCM controls the solenoid with a negative duty cycle in order to control application and release of the TCC. When the solenoid is commanded OFF, the PCM senses high voltage. When the solenoid is commanded ON, the PCM senses low voltage.

If the PCM detects a continuous open, short to ground or short to voltage in the TCC PWM valve circuit, then DTC P1860 sets. DTC P1860 is a type B DTC .

Conditions for Running the DTC

The engine speed is greater than 500 RPM for 5 seconds and not in fuel shut off.

Conditions for Setting the DTC

DTC P1860 sets when one of the following conditions exists for at least 5 seconds:

    • The PCM commands the solenoid to greater than 70% duty cycle and the voltage feedback remains high, B+.
    • The PCM commands the solenoid to less than 10% duty cycle and the voltage feedback remains low, 0 volts.

Action Taken When the DTC Sets

    • The PCM illuminates the malfunction indicator lamp (MIL) during the second consecutive trip in which the Conditions for Setting the DTC are met.
    • The PCM inhibits TAP Shift operation, if equipped.
    • The PCM inhibits TCC.
    • The PCM inhibits 4th gear if the transmission is in Hot Mode.
    • The PCM freezes transmission adaptive functions.
    • The PCM records the operating conditions when the Conditions for Setting the DTC are met. The PCM stores this information as Freeze Frame and Failure Records.
    • The PCM stores DTC P1860 in PCM history during the second consecutive trip in which the Conditions for Setting the DTC are met.

Conditions for Clearing the MIL/DTC

    • The PCM turns OFF the MIL during the third consecutive trip in which the diagnostic test runs and passes.
    • A scan tool can clear the MIL/DTC.
    • The PCM clears the DTC from PCM history if the vehicle completes 40 warm-up cycles without an emission-related diagnostic fault occurring.
    • The PCM cancels the DTC default actions when the ignition switch is OFF long enough in order to power down the PCM.

Diagnostic Aids

Ensure the wiring harness is not stretched too tightly or other components are pressing on the A/T inline 20-way connector body. Also inspect for proper clearance to any other components and wiring. Refer to Intermittent Conditions in Engine Controls - 3.8L.

Test Description

The number below refers to the step number on the diagnostic table.

  1. A short to ground in the power feed circuit to the solenoid ahead of the splice would open the fuse and set DTCs for other solenoids on the same circuit. An open in the same circuit would not open the fuse but would set the other DTCs.

Step

Action

Value(s)

Yes

No

1

Did you perform the Diagnostic System Check - Engine Controls?

--

Go to Step 2

Go to Diagnostic System Check - Engine Controls in Engine Controls - 3.8L

2

  1. Install a scan tool.
  2. Turn ON the ignition with the engine OFF.
  3. Important: Before clearing the DTCs, use the scan tool in order to record the Freeze Frame and Failure Records for reference. Using the Clear DTC Information function will erase the stored Freeze Frame and Failure Records from the PCM.

  4. Record the Freeze Frame and Failure Records.
  5. Clear the DTCs.

Is DTC P0753 or P0758 also set?

--

Go to Step 3

Go to Step 9

3

  1. Inspect the fuse in the ignition 1 voltage circuit for an open. Refer to Circuit Protection - Fuses in Wiring Systems.
  2. Replace the fuse if necessary.

Was the fuse open?

--

Go to Step 4

Go to Step 7

4

Important: The condition that affects this circuit may exist in other connecting branches of the circuit. Refer to Power Distribution Schematics in Wiring Systems for complete circuit distribution.

Test the ignition 1 voltage circuit of the TCC PWM solenoid valve for a short to ground between the fuse block and the AT inline 20-way connector.

Refer to Circuit Testing and Wiring Repairs in Wiring Systems.

Did you find and correct the condition?

--

Go to Step 20

Go to Step 5

5

  1. Disconnect the AT wiring harness from the 1-2 SS valve, the 2-3 SS valve and the TCC PWM solenoid valve.
  2. Important: The condition that affects this circuit may exist in other connecting branches of the circuit. Refer to Power Distribution Schematics in Wiring Systems for complete circuit distribution.

  3. Test the ignition 1 voltage circuit of the TCC PWM solenoid valve for a short to ground between the AT inline 20-way connector and the solenoids.
  4. Refer to Testing for Short to Ground in Wiring Systems.

Did you find the condition?

--

Go to Step 17

Go to Step 6

6

  1. Test the 1-2 SS valve, the 2-3 SS valve and the TCC PWM solenoid valve for a short to ground between the ignition 1 voltage side of each solenoid and the transmission case.
  2. Replace any faulty solenoids.

Did you complete the replacement?

--

Go to Step 20

--

7

Test the ignition 1 voltage circuit of the TCC PWM solenoid valve for an open between the fuse block and the AT inline 20-way connector.

Refer to Testing for Continuity and Wiring Repairs in Wiring Systems.

Did you find and correct the condition?

--

Go to Step 20

Go to Step 8

8

Test the ignition 1 voltage circuit of the TCC PWM solenoid valve for an open between the AT inline 20-way connector and the solenoid.

Refer to Testing for Continuity in Wiring Systems.

Did you find the condition?

--

Go to Step 17

Go to Intermittent Conditions in Engine Controls - 3.8L

9

  1. Turn OFF the ignition.
  2. Disconnect the AT inline 20-way harness connector. Additional DTCs may set.
  3. Install the J 44152 jumper harness on the engine side of the AT inline 20-way connector.
  4. Using the J 35616 GM terminal test kit, connect a test lamp from terminal T to terminal E of the J 44152 .
  5. Refer to Automatic Transmission Inline 20-Way Connector End View .

  6. Turn ON the ignition with the engine OFF.
  7. Using a scan tool, command the TCC PWM solenoid valve ON and OFF three times.

Does the test lamp turn ON and OFF?

--

Go to Step 12

Go to Step 10

10

Test the ignition 1 voltage circuit of the TCC PWM solenoid valve for an open between the fuse block and the AT inline 20-way connector.

Refer to Testing for Continuity and Wiring Repairs in Wiring Systems.

Did you find and correct the condition?

--

Go to Step 20

Go to Step 11

11

Test the control circuit of the TCC PWM solenoid valve for an open, a short to ground or a short to voltage between the PCM and the AT inline 20-way connector.

Refer to Circuit Testing and Wiring Repairs in Wiring Systems.

Did you find and correct the condition?

--

Go to Step 20

Go to Step 19

12

  1. Connect the J 44152 to the transmission side of the AT inline 20-way connector.
  2. Using a DMM, measure the resistance between terminals T and E of the J 44152 .
  3. Refer to Automatic Transmission Inline 20-Way Connector End View .

Does the resistance measure within the specified range?

10-15 ohms

Go to Step 13

Go to Step 16

13

Measure the resistance from terminal T and terminal E to the transmission case.

Are both readings greater than the specified value?

10 K ohms

Go to Step 14

Go to Step 15

14

Measure the resistance from terminal T and all other terminals of the A/T inline 20-way connector.

Refer to Testing for Continuity in Wiring Systems.

Is the resistance less than the specified value?

10 K ohms

Go to Step 16

Go to Intermittent Conditions in Engine Controls - 3.8L

15

  1. Disconnect the harness from the TCC PWM solenoid.
  2. Measure the resistance from each terminal of the solenoid to the transmission case.

Are both readings greater than the specified value?

10 K ohms

Go to Step 17

Go to Step 18

16

  1. Disconnect the harness from the TCC PWM solenoid valve.
  2. Measure the resistance of the solenoid.

Is the resistance within the specified range?

10-15 ohms

Go to Step 17

Go to Step 18

17

Replace the AT wiring harness assembly.

Refer to Wiring Harness Replacement .

Did you complete the replacement?

--

Go to Step 20

--

18

Replace the TCC PWM solenoid valve.

Refer to Torque Converter Clutch Pulse Width Modulation Solenoid Replacement .

Did you complete the replacement?

--

Go to Step 20

--

19

Replace the PCM.

Refer to Powertrain Control Module Replacement in Engine Controls - 3.8L.

Did you complete the replacement?

--

Go to Step 20

--

20

Perform the following procedure in order to verify the repair:

  1. Select DTC.
  2. Select Clear DTC Information.
  3. Drive the vehicle in D3 or D4 until the TCC is commanded ON.
  4. The TCC duty cycle must be less than 10% and greater than 70% for at least 5 seconds each.
  5. Select Specific DTC.
  6. Enter DTC P1860.

Has the test run and passed?

--

Go to Step 21

Go to Step 2

21

With a scan tool, observe the stored information, capture info and DTC info.

Does the scan tool display any DTCs that you have not diagnosed?

--

Go to Diagnostic Trouble Code (DTC) List in Engine Controls- 3.8L

System OK