GM Service Manual Online
For 1990-2009 cars only
Makes
🢒
Pontiac
🢒
2005
🢒
Montana
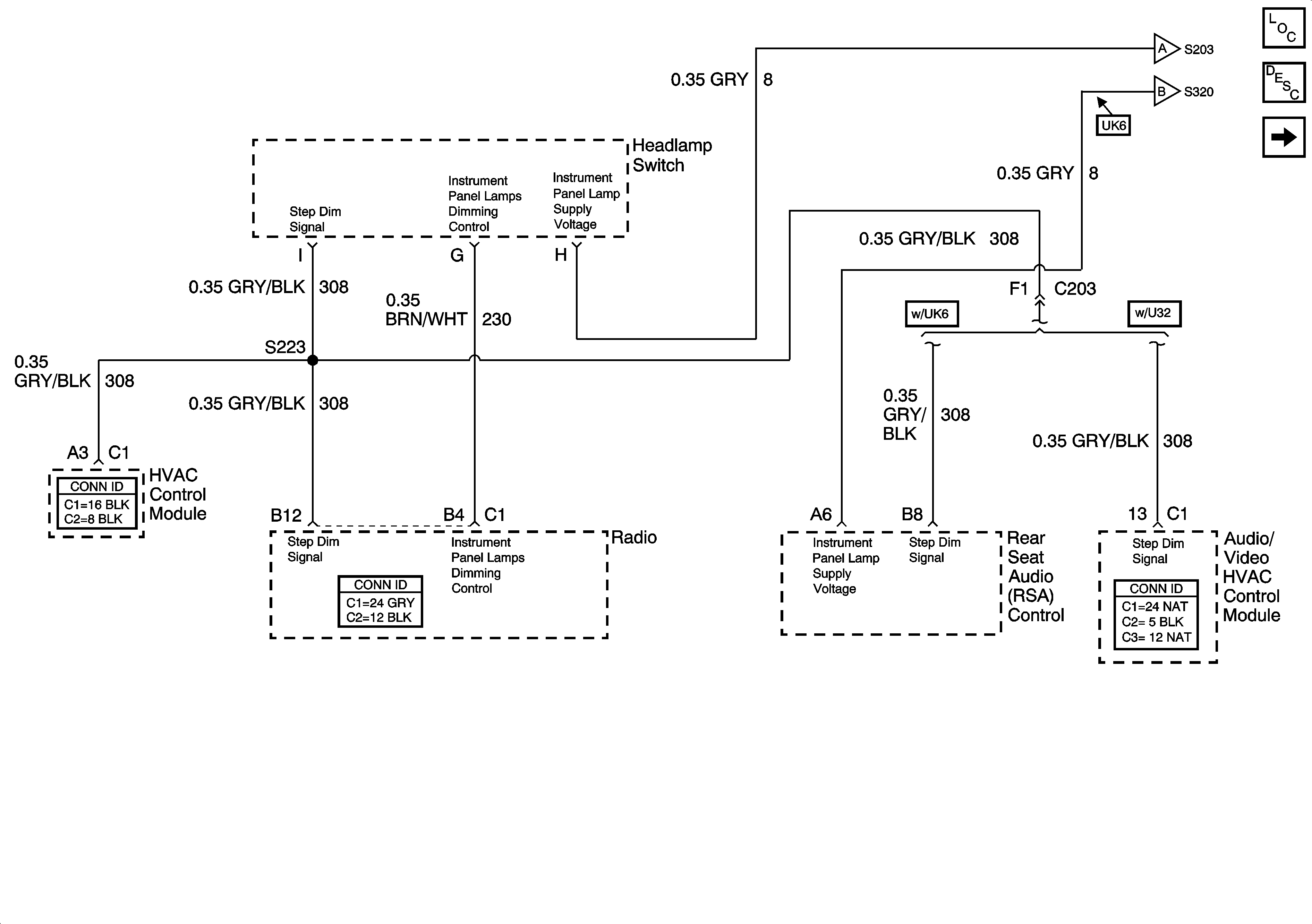
🢒 Headlamp and I/P Lamp Dimmer Switch
Headlamp and I/P Lamp Dimmer Switch
Headlamp and I/P Lamp Dimmer Switch
Master Electrical Component List
Interior Lighting Systems Description and Operation
Heater-AC Control Switches and Instrument Panel Cluster (IPC)
Heater-AC Control Switches and Instrument Panel Cluster (IPC)
Rear Window Wiper/Washer and Multifunction Switch, Window and Door Lock Switches