GM Service Manual Online
For 1990-2009 cars only
Makes
🢒
Pontiac
🢒
2004
🢒
Montana Ext.
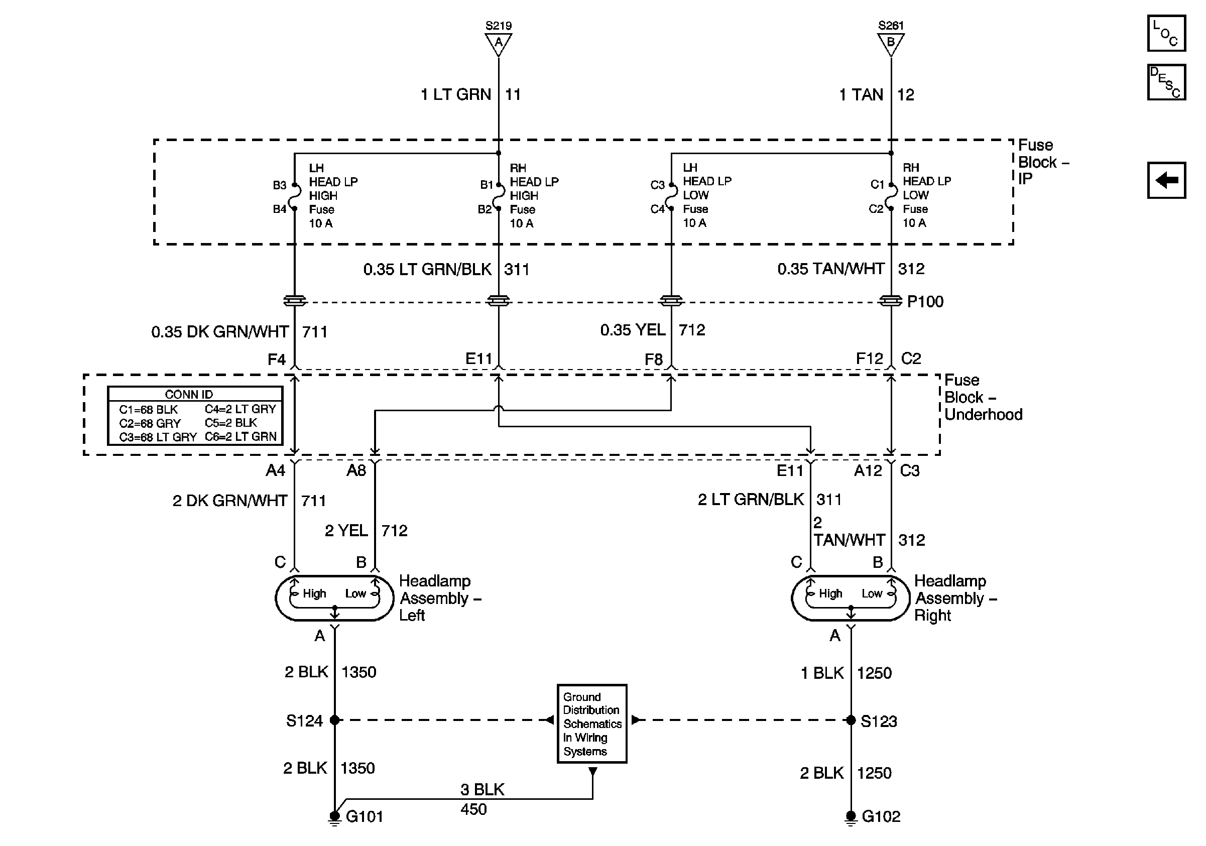
🢒 Headlights
Headlights
Headlights
Master Electrical Component List
Exterior Lighting Systems Description and Operation
Daytime Running Lamp Control Module
DRL Headlamp and Headlamp Dimmer Switch - Export
DRL Headlamp and Headlamp Dimmer Switch - Export
G101 and G102