GM Service Manual Online
For 1990-2009 cars only

Object Number: 375644  Size: SF
ABS Components
Antilock Brake System Schematics
Handling ESD Sensitive Parts Notice

Circuit Description

DTC C1251 detects a stripped nut or gear assembly during initialization. During the homing sequence, the piston should reach the top of the bore. Then the ABS motor stalls. If the ABS motor does not stall, the ABS motor must be spinning with little or no resistance. This indicates a nut/screw or gear malfunction.

Conditions for Setting the DTC

DTC C1251 can only set during initialization.

A malfunction exists if the feedback current is less than the command current for a specified period of time.

Action Taken When the DTC Sets

    • A malfunction DTC stores. A corresponding DTC C1286 will also set.
    • The ABS disables.
    • The ABS warning indicator turns on.
    • The red BRAKE warning indicator turns on.

Conditions for Clearing the DTC

    • The condition responsible for setting the DTC no longer exists and the Scan Tool Clear DTCs function is used.
    • 100 drive cycles pass with no DTC(s) detected. A drive cycle consists of starting the vehicle, driving the vehicle over 16 km/h (10 mph), stopping and then turning the ignition off.

Diagnostic Aids

An intermittent malfunction in this DTC may result from a mechanical part of the system that slips, such as a stripped gear or a backed off gear retaining nut.

Depending on the frequency of the malfunction, a physical inspection of the mechanical parts suspected of causing the malfunction may be necessary.

Test Description

  1. This test checks for motor movement by comparing the motor feedback current to the motor command current during apply.

  2. This test checks for motor movement by comparing the motor feedback current to the motor command current during release.

  3. This test checks for piston movement.

  4. This test checks for excessive resistance in the rear motor high circuit.

  5. This test checks for excessive resistance in the rear motor low circuit.

  6. This test checks for the proper rear motor resistance value.

  7. This test checks for proper operation of the motor pack.

  8. This test checks for proper operation of the hydraulic modulator.

  9. This test determines if the malfunction is caused by the EBCM.

Step

Action

Value(s)

Yes

No

Important: Zero the J 39200 test leads before making any resistance measurements. Refer to the J 39200 user's manual.

1

Was the ABS Diagnostic System Check performed?

--

Go to Step 2

Go to Diagnostic System Check - ABS

2

  1. Turn the ignition switch to the RUN position.
  2. Do not start the engine.

  3. Use the Scan Tool in order to read the DTCs.

Does DTC C1264 also set as a current DTC?

--

Go to DTC C1264 Rear ABS Motor Circuit Open

Go to Step 3

3

  1. Pump the brake pedal until it is firm in order to deplete the brake booster vacuum reservoir.
  2. Select Special Functions on the Scan Tool .
  3. Select the Manual Control function on the Scan Tool .
  4. Select the rear ABS Motor Apply function on the Scan Tool .
  5. Use the Scan Tool in order to apply the rear ABS motor.
  6. Observe the following currents:
  7. • The rear ABS motor command current
    • The rear ABS motor feedback current

Were the rear ABS motor command current and the rear ABS motor feedback current approximately the specified current?

10 A

Go to Step 4

Go to Step 6

4

  1. Raise and support the vehicle so that the rear wheels are approximately 6 inches off the floor.
  2. Turn the ignition switch to the run position.
  3. Apply firm pressure to the brake pedal.
  4. Select Special Functions on the Scan Tool .
  5. Select Manual Control on the Scan Tool .
  6. Use the Scan Tool in order to Apply the rear ABS motor.
  7. Have an assistant try to spin the rear wheels by hand.

Could the assistant spin the rear wheels?

--

Go to Step 5

Go to Step 6

5

  1. Continue to apply firm pressure to the brake pedal.
  2. Select the rear ABS Apply function on the Scan Tool .
  3. Use the Scan Tool in order to apply the rear ABS motor.

Could the assistant spin the rear wheels?

--

Go to Step 22

Go to Step 6

6

  1. Select Special Functions on the Scan Tool .
  2. Use the Scan Tool in order to perform the Gear Tension Relief function.
  3. Turn the ignition switch to the OFF position.
  4. Disconnect the ABS brake motor pack connector.
  5. Disconnect the 8-way EBCM connector C1
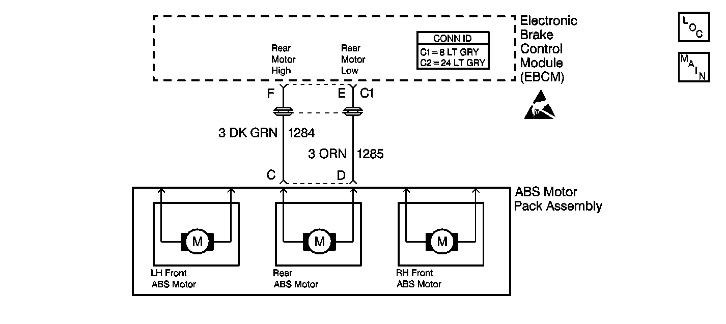
  6. Use the J 39200 in order to measure the resistance between the ABS brake motor pack harness connector terminal C and the 8-way EBCM harness connector C2 terminal F.

Is the resistance within the specified range?

0-2 ohms

Go to Step 7

Go to Step 15

7

Use the J 39200 in order to measure the resistance between the ABS brake motor pack harness connector terminal D and the 8-way EBCM harness connector C1 terminal E.

Is the resistance within the specified range?

0-2 ohms

Go to Step 8

Go to Step 16

8

Use the J 39200 in order to measure the resistance between the ABS brake motor pack connector terminal C and the ABS brake motor pack connector terminal D.

Is the resistance within the specified range?

0.2-1.5 ohms

Go to Step 9

Go to Step 17

9

  1. Remove the ABS brake modulator/master cylinder assembly from the vehicle.
  2. Remove the ABS brake modulator gear cover.
  3. Inspect for a stripped ABS brake motor pack rear gear.
  4. (The ABS brake motor pack is the unit with the three small gears. The ABS brake motor pack rear gear is the middle gear when the ABS brake modulator is mounted in the vehicle.)

Is the ABS brake motor rear gear stripped?

--

Go to Step 17

Go to Step 10

10

Inspect for a stripped ABS brake modulator rear gear.

(The ABS brake modulator unit is the unit with the three large gears. The ABS brake modulator rear gear is the middle gear when the ABS brake modulator is mounted in the vehicle.)

Is the ABS brake modulator rear gear stripped?

--

Go to Step 18

Go to Step 11

11

  1. Reconnect the ABS brake motor pack connector.
  2. Reconnect the 8-way EBCM connector C1.
  3. Carefully secure the ABS brake modulator/master cylinder in the vehicle.
  4. Secure the assembly in a position that permits observation of the gears.

  5. Turn the ignition switch to the RUN position.
  6. Do not start the engine.

  7. Select the Manual Control function on the Scan Tool .
  8. Select the rear ABS Motor Apply function on the Scan Tool .
  9. Use the Scan Tool in order to apply the rear ABS motor while observing the ABS brake modulator rear gear set.
  10. (The ABS brake modulator rear gear is the middle gear when the ABS brake modulator is mounted in the vehicle.)

  11. Select the rear ABS Motor Release function on the Scan Tool .
  12. Use the Scan Tool in order to release the rear ABS motor while observing the ABS brake modulator rear gear set.
  13. Select the rear ABS Motor Apply function on the Scan Tool .
  14. Use the Scan Tool in order to apply the rear ABS motor while observing the ABS brake modulator rear gear set.

Does the ABS brake modulator rear gear set move at least one full revolution in both directions?

--

Go to Step 12

Go to Step 17

12

  1. Use the Scan Tool in order to perform the Gear Tension Relief function.
  2. Turn the ignition switch to the OFF position.
  3. Separate the ABS brake motor pack from the ABS brake modulator.
  4. Grasp the ABS brake modulator rear gear.
  5. Rotate the ABS brake modulator rear gear.

Does the ABS brake modulator rear gear rotate more than 3.5 full turns from lock to lock?

--

Go to Step 19

Go to Step 13

13

  1. Disconnect the ABS brake motor pack connector.
  2. Disconnect the 8-way EBCM connector C2.
  3. Inspect the connectors for the following conditions:
  4. • Poor terminal contact
    • Corrosion

Do any of the terminals exhibit poor terminal contact or corrosion?

--

Go to Step 20

Go to Step 14

14

  1. Reinstall the ABS brake modulator gear cover.
  2. Reinstall the ABS brake modulator/master cylinder assembly in the vehicle.
  3. Reconnect the ABS brake motor pack connector.
  4. Reconnect the 8-way EBCM connector C1.
  5. Start the engine. Do not apply pressure to the brake pedal.
  6. Let the engine run for at least 10 seconds.
  7. Turn the ignition switch to the OFF position.
  8. Repeat the above cycle (steps 5 through 7) two more times.
  9. Use the Scan Tool in order to read the DTCs.

Does DTC C1251 set as a current DTC?

--

Go to Step 21

Go to Step 22

15

Repair the high resistance in CKT 1284. Refer to Wiring Repairs in Wiring Systems.

Is the repair complete?

--

Go to Diagnostic System Check - ABS

--

16

Repair the high resistance in CKT 1285. Refer to Wiring Repairs in Wiring Systems.

Is the repair complete?

--

Go to Diagnostic System Check - ABS

--

17

Replace the ABS brake motor pack. Refer to ABS Motor Pack Replacement .

Is the repair complete?

--

Go to Diagnostic System Check - ABS

--

18

Replace the ABS brake modulator gear. Refer to Brake Modulator Gear Replacement .

Is the repair complete?

--

Go to Diagnostic System Check - ABS

--

19

Replace the ABS brake modulator. Refer to Brake Modulator Replacement .

Is the repair complete?

--

Go to Diagnostic System Check - ABS

--

20

Replace the terminals that exhibit signs of poor terminal contact or corrosion.

Is the repair complete?

--

Go to Diagnostic System Check - ABS

--

21

Replace the EBCM. Refer to Electronic Brake Control Module Replacement .

Is the repair complete?

--

Go to Diagnostic System Check - ABS

--

22

The malfunction is intermittent or is not present at this time.

Refer to Diagnostic Aids for more information.

Is the action complete?

--

System OK

--