GM Service Manual Online
For 1990-2009 cars only

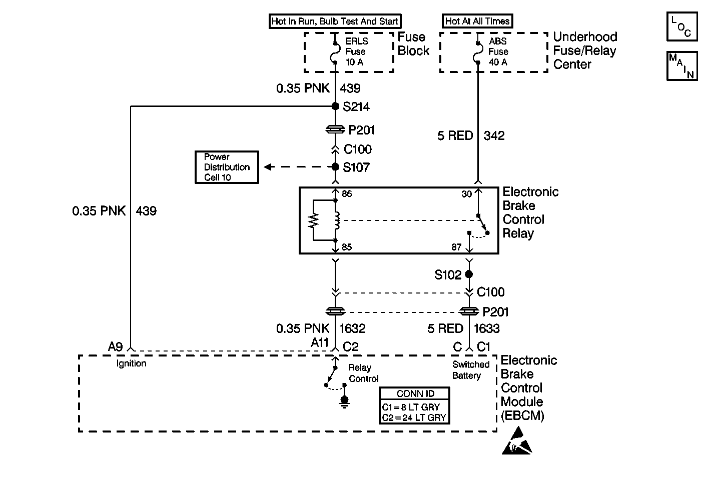
Object Number: 411182  Size: MF
ABS Components
Antilock Brake System Schematics
Handling ESD Sensitive Parts Notice

Circuit Description

Ignition voltage is supplied to terminal 86 of the Electronic Brake Control Relay. The above condition enables the EBCM to energize the pullin coil by completing the ground circuit at connector C2 terminal A11 of the EBCM. The magnetic field created closes the Electronic Brake Control Relay contacts. The magnetic field also allows battery voltage and current through the Electronic Brake Control Relay terminal 30 to be supplied to the EBCM through connector C1 terminal C. Connector C1 terminal C supplies power to the EBCM, which supplies power to the motors and solenoids.

Conditions for Setting the DTC

DTC C1215 can set only before the EBCM commands the Electronic Brake Control Relay on.

DTC C1215 determines if the Electronic Brake Control Relay energizes when the Electronic Brake Control Relay should not energize. The above malfunction will not allow the Electronic Brake Control Relay to remove power to the ABS system.

If a second malfunction occurs, that requires the Electronic Brake Control Relay to turn off, the second malfunction cannot be removed if the Electronic Brake Control Relay cannot be controlled. The DTC sets if the malfunction is present for three consecutive drive cycles.

Action Taken When the DTC Sets

    • A malfunction DTC stores.
    • The ABS does not disable.

Conditions for Clearing the DTC

    • The condition responsible for setting the DTC no longer exists and the Scan Tool Clear DTCs function is used.
    • 100 drive cycles pass with no DTCs detected. A drive cycle consists of starting the vehicle, driving the vehicle over 16 km/h (10 mph), stopping and then turning the ignition OFF.

Diagnostic Aids

A sticking or malfunctioning relay may cause an intermittent malfunction.

Use the enhanced diagnostic function of the Scan Tool in order to measure the frequency of the malfunction.

Clear the DTCs after completing the diagnosis. Test drive the vehicle for three drive cycles in order to verify that the DTC does not reset. Use the following procedure in order to complete one drive cycle:

  1. Start the vehicle.
  2. Drive the vehicle over 16 km/h (10 mph).
  3. Stop the vehicle.
  4. Turn the ignition to the OFF position.

Test Description

  1. This test determines if the EBCM is capable of controlling the electronic brake control relay as commanded.

  2. This test checks for voltage at terminal C of the EBCM harness connector. If voltage is present, the malfunction exists in the electronic brake control relay and/or its circuitry.

  3. This test checks for a short to battery voltage in the switched battery input circuit.

  4. This test ensures that the malfunction is not due to a short to battery voltage in the switched battery input circuit with the EBCM connected.

Step

Action

Value(s)

Yes

No

Important: Zero the J 39200 test leads before making any resistance measurements. Refer to the J 39200 user's manual.

1

Was the ABS Diagnostic System Check performed?

--

Go to Step 2

Go to Diagnostic System Check - ABS

2

Are any other DTCs present?

--

Go to the appropriate DTC table

Go to Step 3

3

  1. Turn the ignition switch to the OFF position.
  2. Install a Scan Tool .
  3. Turn the ignition switch to the RUN position.
  4. Do not start the engine.

  5. Use the Relay Test function of the Scan Tool to command the Electronic Brake Control Relay off.

Does the Scan Tool indicate that the Electronic Brake Control Relay is OFF and the battery voltage less than or equal to the specified voltage?

5 V

Go to Step 12

Go to Step 4

4

  1. Turn the ignition switch to the OFF position.
  2. Disconnect the 24-way EBCM connector C2.
  3. Disconnect the 8-way EBCM connector C1.
  4. Turn the ignition switch to the RUN position.
  5. Do not start the engine.

  6. Use the J 39200 in order to measure the voltage between the 8-way EBCM harness connector C1 terminal C and ground.

Is the voltage within the specified voltage?

0-1 V

Go to Step 6

Go to Step 5

5

  1. Turn the ignition switch to the OFF position.
  2. Disconnect the Electronic Brake Control Relay.
  3. Turn the ignition switch to the RUN position.
  4. Do not start the engine.

  5. Use the J 39200 in order to measure the voltage between the 8-way EBCM harness connector C1 terminal C and ground.

Is the voltage within the specified voltage?

0-1 V

Go to Step 10

Go to Step 9

6

  1. Turn the ignition switch to the OFF position.
  2. Inspect the following components:
  3. • The 8-way EBCM connector C1
    • 24-way EBCM harness connector C2
  4. Inspect for the following conditions:
  5. • Poor terminal contact
    • Corrosion
    • Damaged terminals.

The above conditions may cause a short to voltage.

Is there a condition that may cause a short to voltage?

--

Go to Step 8

Go to Step 7

7

  1. Reconnect the 24-way EBCM connector C2.
  2. Reconnect the 8-way EBCM connector C1.
  3. Turn the ignition switch to the RUN position.
  4. Do not start the engine.

  5. Use the Relay Test function of the Scan Tool to command the Electronic Brake Control Relay off.

Does the Scan Tool indicate that the Electronic Brake Control Relay is OFF and is the battery voltage less than or equal to the specified voltage?

5 V

Go to Step 12

Go to Step 11

8

Replace all of the terminals or the connectors that exhibit signs of poor terminal contact, corrosion, or damaged terminal(s).

Is the repair complete?

--

Go to Diagnostic System Check - ABS

--

9

Repair the short to voltage in CKT 1633. Refer to Wiring Repairs in Wiring Systems.

Is the repair complete?

--

Go to Diagnostic System Check - ABS

--

10

Replace the Electronic Brake Control Relay. Refer to Electronic Brake Control Relay Replacement .

Is the repair complete?

--

Go to Diagnostic System Check - ABS

--

11

Replace the EBCM. Refer to Electronic Brake Control Module Replacement .

Is the repair complete?

--

Go to Diagnostic System Check - ABS

--

12

The malfunction is intermittent or not present at this time. Refer to Diagnostic Aids for more information.

Is the action complete?

--

System OK

--