GM Service Manual Online
For 1990-2009 cars only
Figure 1:

Power Distribution Schematics (Cell 10: Cooling Fan, BATT1, BATT2, IGN, and ABS Fuses)


Object Number: 385804  Size: FS
Power and Grounding Components
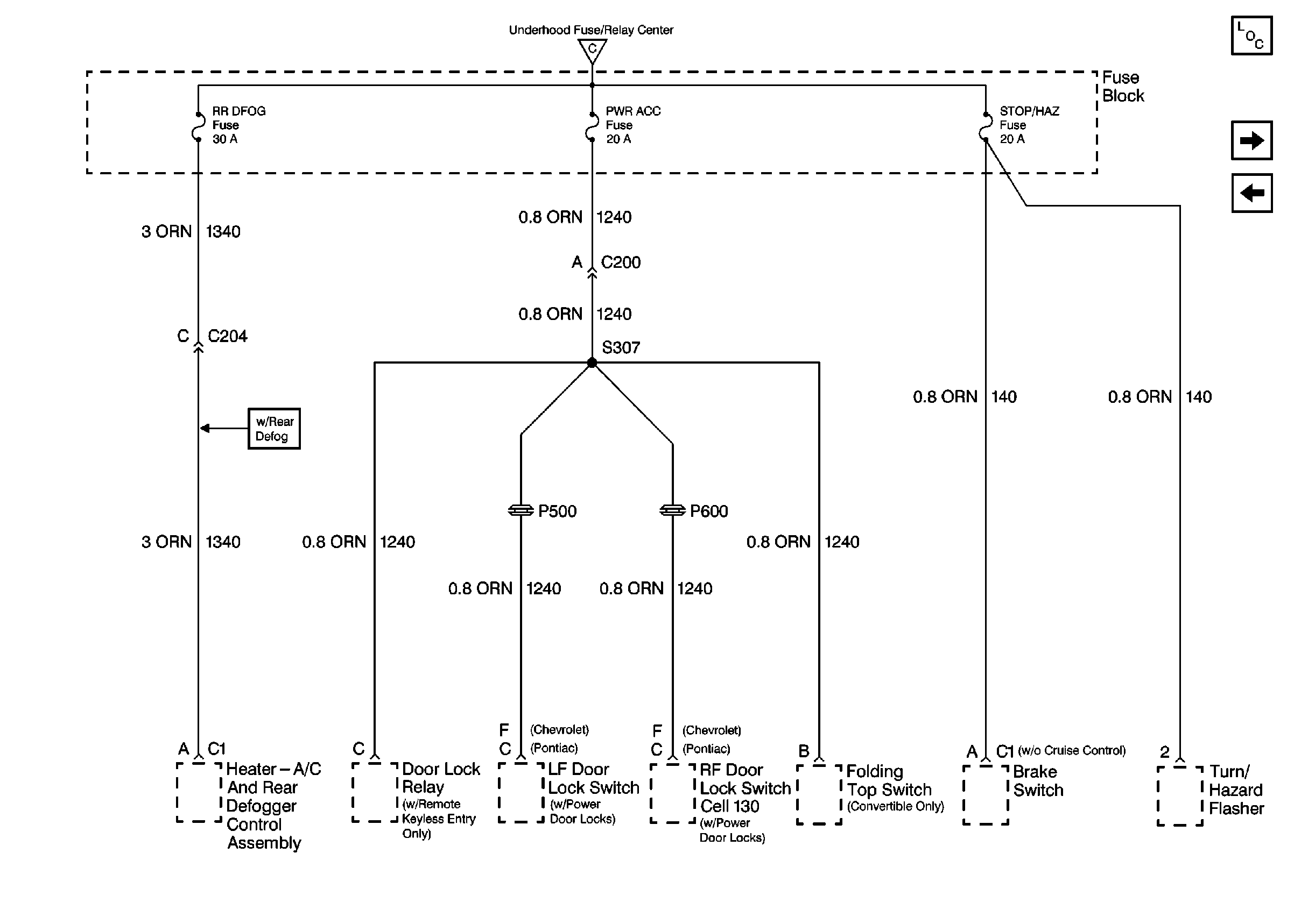
Power Distribution Schematics (Cell 10: RR DEFOG, PWR ACC and STOP/HAZ Fuses)
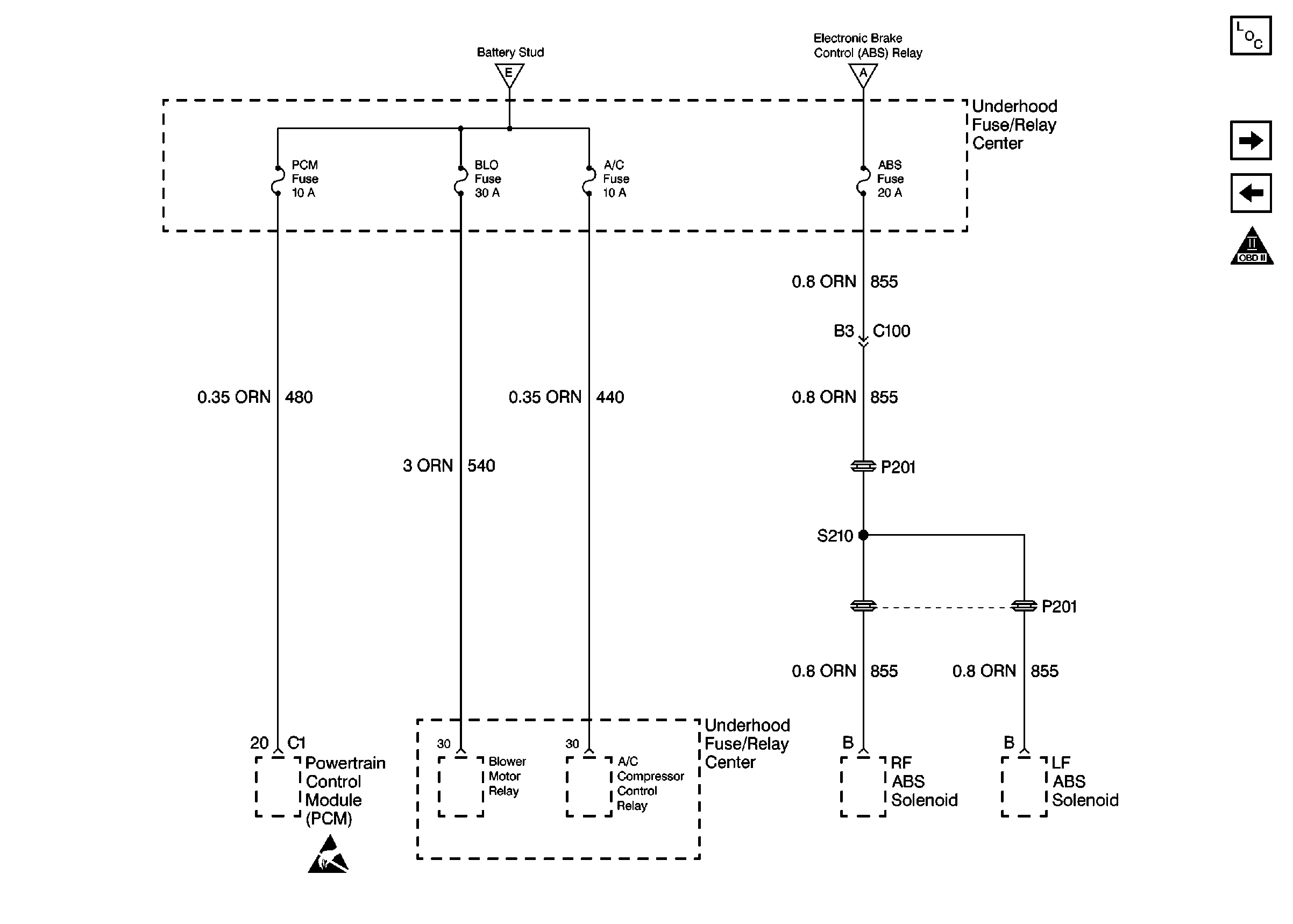
Power Distribution Schematics (Cell 10: PCM, BLO, A/C and ABS Fuses)
Power Distribution Schematics (Cell 10: PCM, BLO, A/C and ABS Fuses)
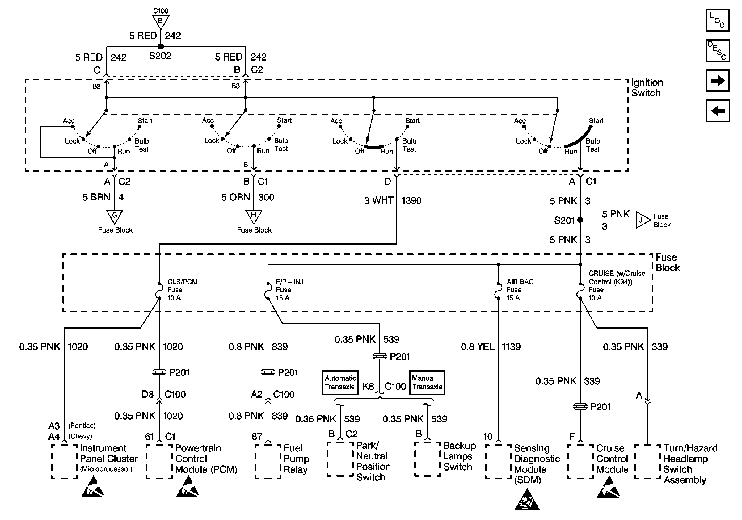
Power Distribution Schematics (Cell 10: CLS/PCM, F/P INJ, AIR BAG and CRUISE Fuses)
Power Distribution Schematics (Cell 10: RR DEFOG, PWR ACC and STOP/HAZ Fuses)
Ground Distribution Schematics
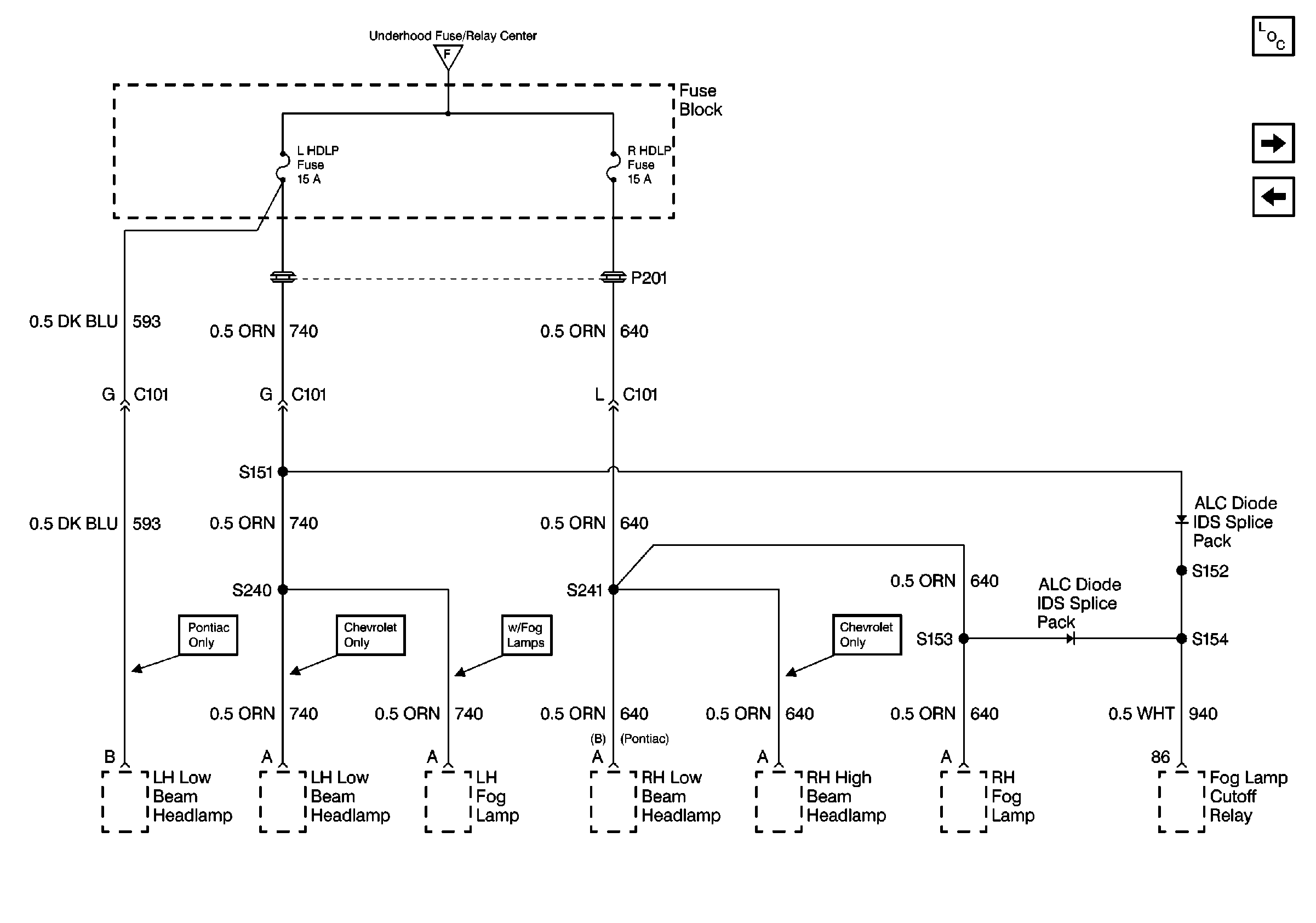
Power Distribution Schematics (Cell 10: L HDLP and R HDLP Fuses)
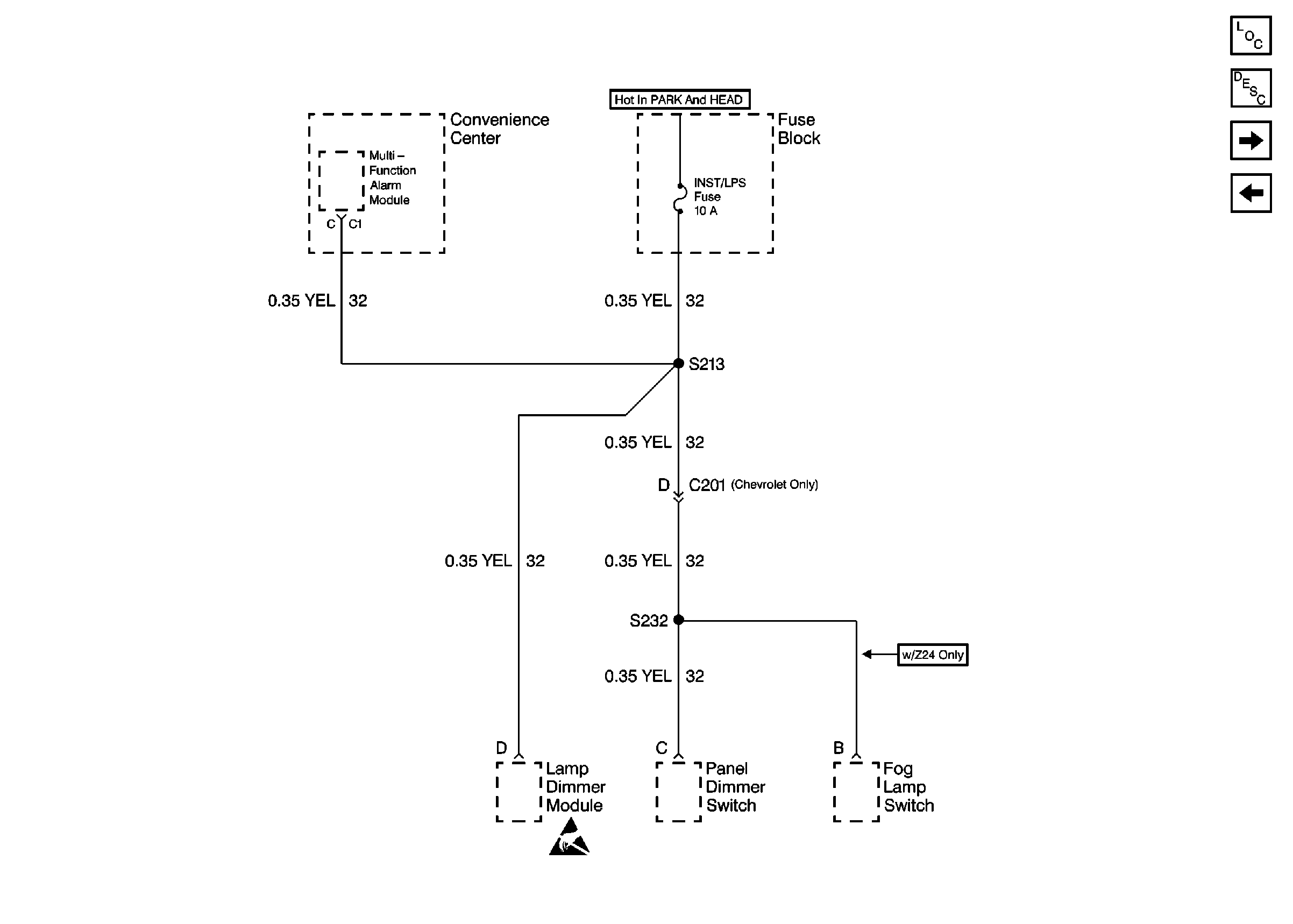
Power Distribution Schematics (Cell 10: CIG, Horn, Cluster, EXT Lamp and INT Lamp Fuses)
Handling ESD Sensitive Parts Notice
Figure 2:

Power Distribution Schematics (Cell 10: RR DEFOG, PWR ACC and STOP/HAZ Fuses)


Object Number: 385805  Size: FS
Power and Grounding Components
Power Distribution Schematics (Cell 10: PCM, BLO, A/C and ABS Fuses)
Power Distribution Schematics (Cell 10: Cooling Fan, BATT1, BATT2,IGN, and ABS Fuses)
Power Distribution Schematics (Cell 10: Cooling Fan, BATT1, BATT2,IGN, and ABS Fuses)
Figure 3:

Power Distribution Schematics (Cell 10: PCM, BLO, A/C and ABS Fuses)


Object Number: 385807  Size: FS
Power and Grounding Components
Power Distribution Schematics (Cell 10: L HDLP and R HDLP Fuses)
Power Distribution Schematics (Cell 10: RR DEFOG, PWR ACC and STOP/HAZ Fuses)
OBD II Symbol Description Notice
Power Distribution Schematics (Cell 10: Cooling Fan, BATT1, BATT2,IGN, and ABS Fuses)
Power Distribution Schematics (Cell 10: Cooling Fan, BATT1, BATT2,IGN, and ABS Fuses)
Handling ESD Sensitive Parts Notice
Figure 4:

Power Distribution Schematics (Cell 10: L HDLP and R HDLP Fuses)


Object Number: 385816  Size: FS
Power and Grounding Components
Power Distribution Schematics (Cell 10: CLS/PCM, F/P INJ, AIR BAG and CRUISE Fuses)
Power Distribution Schematics (Cell 10: PCM, BLO, A/C and ABS Fuses)
Power Distribution Schematics (Cell 10: Cooling Fan, BATT1, BATT2,IGN, and ABS Fuses)
Figure 5:

Power Distribution Schematics (Cell 10: CLS/PCM, F/P INJ, AIR BAG and CRUISE Fuses)


Object Number: 385817  Size: FS
Power and Grounding Components
Power Distribution Schematics (Cell 10: Wiper and Radio Fuses)
Power Distribution Schematics (Cell 10: L HDLP and R HDLP Fuses)
Power Distribution Schematics (Cell 10: Turn B/U, IGN, PCM/IGN and Alarm Fuses)
Handling ESD Sensitive Parts Notice
SIR Handling Caution
Power Distribution Schematics (Cell 10: HVAC, O2 HTR and PWR Window Fuses)
Handling ESD Sensitive Parts Notice
Power Distribution Schematics (Cell 10: Cooling Fan, BATT1, BATT2,IGN, and ABS Fuses)
Handling ESD Sensitive Parts Notice
Power Distribution Schematics (Cell 10: Wiper and Radio Fuses)
Figure 6:

Power Distribution Schematics (Cell 10: Wiper and Radio Fuses)


Object Number: 385819  Size: FS
Power and Grounding Components
Power Distribution Schematics (Cell 10: Turn B/U, IGN, PCM/IGN and Alarm Fuses)
Power Distribution Schematics (Cell 10: CLS/PCM, F/P INJ, AIR BAG and CRUISE Fuses)
Power Distribution Schematics (Cell 10: CLS/PCM, F/P INJ, AIR BAG and CRUISE Fuses)
Figure 7:

Power Distribution Schematics (Cell 10: Turn B/U, IGN, PCM/IGN and Alarm Fuses)


Object Number: 385820  Size: FS
Power and Grounding Components
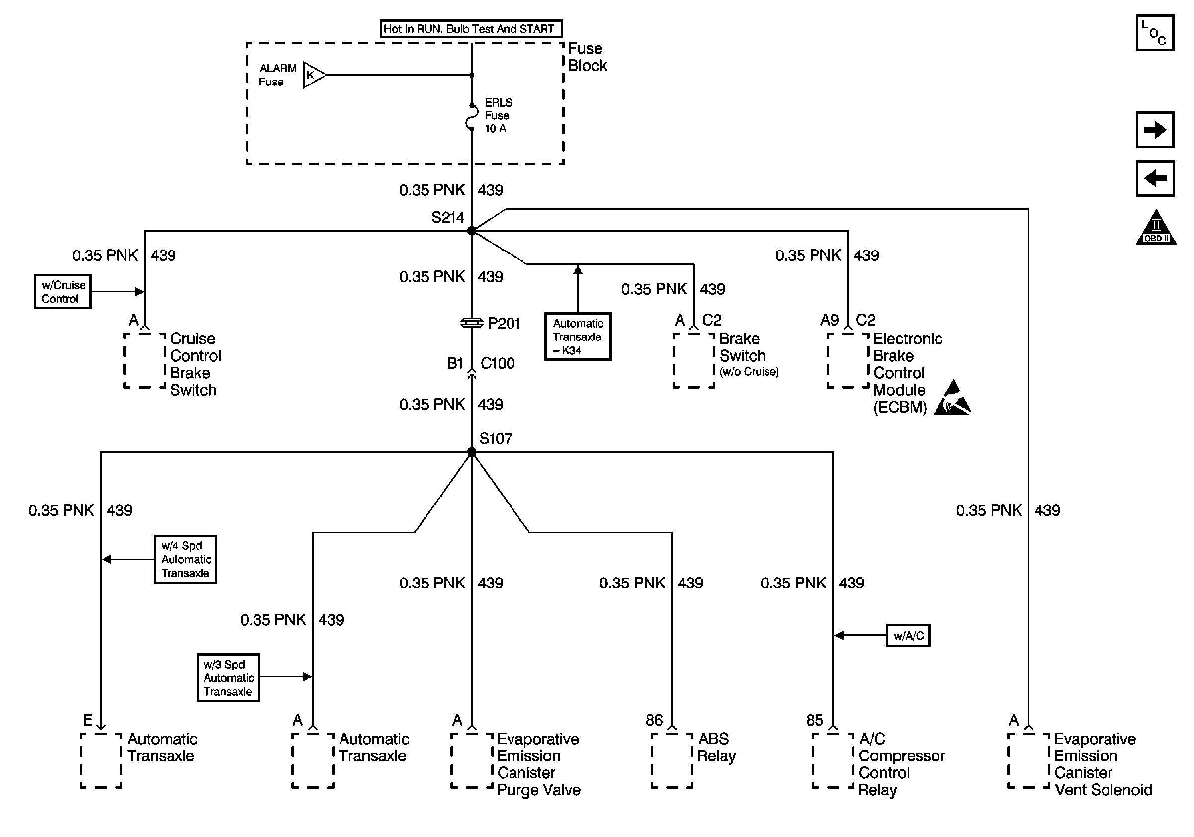
Power Distribution Schematics (Cell 10: ERLS Fuse)
Power Distribution Schematics (Cell 10: Wiper and Radio Fuses)
OBD II Symbol Description Notice
Power Distribution Schematics (Cell 10: ERLS Fuse)
Handling ESD Sensitive Parts Notice
Power Distribution Schematics (Cell 10: CLS/PCM, F/P INJ, AIR BAG and CRUISE Fuses)
Handling ESD Sensitive Parts Notice
Figure 8:

Power Distribution Schematics (Cell 10: ERLS Fuse)


Object Number: 386275  Size: FS
Power and Grounding Components
Power Distribution Schematics (Cell 10: INST/LPS Fuse)
Power Distribution Schematics (Cell 10: Turn B/U, IGN, PCM/IGN and Alarm Fuses)
OBD II Symbol Description Notice
Handling ESD Sensitive Parts Notice
Power Distribution Schematics (Cell 10: Turn B/U, IGN, PCM/IGN and Alarm Fuses)
Figure 9:

Power Distribution Schematics (Cell 10: INST/LPS Fuse)


Object Number: 386279  Size: FS
Power and Grounding Components
Power Distribution Schematics (Cell 10: CIG, Horn, Cluster, EXT Lamp and INT Lamp Fuses)
Power Distribution Schematics (Cell 10: ERLS Fuse)
Handling ESD Sensitive Parts Notice
Figure 10:

Power Distribution Schematics (Cell 10: CIG, Horn, Cluster, EXT Lamp and INT Lamp Fuses)


Object Number: 386286  Size: FS
Power and Grounding Components
Power Distribution Schematics (Cell 10: HVAC, O2 HTR and PWR Window Fuses)
Power Distribution Schematics (Cell 10: INST/LPS Fuse)
Handling ESD Sensitive Parts Notice
Power Distribution Schematics (Cell 10: Cooling Fan, BATT1, BATT2,IGN, and ABS Fuses)
Handling ESD Sensitive Parts Notice
Handling ESD Sensitive Parts Notice
Handling ESD Sensitive Parts Notice
Figure 11:

Power Distribution Schematics (Cell 10: HVAC, O2 HTR and PWR Window Fuses)


Object Number: 386277  Size: FS
Power and Grounding Components
Power Distribution Schematics (Cell 10: CIG, Horn, Cluster, EXT Lamp and INT Lamp Fuses)
Power Distribution Schematics (Cell 10: CLS/PCM, F/P INJ, AIR BAG and CRUISE Fuses)