GM Service Manual Online
For 1990-2009 cars only
Makes
🢒
Pontiac
🢒
2004
🢒
Sunfire
🢒
Accessories
🢒
Cruise Control
🢒 Cruise Control Schematics
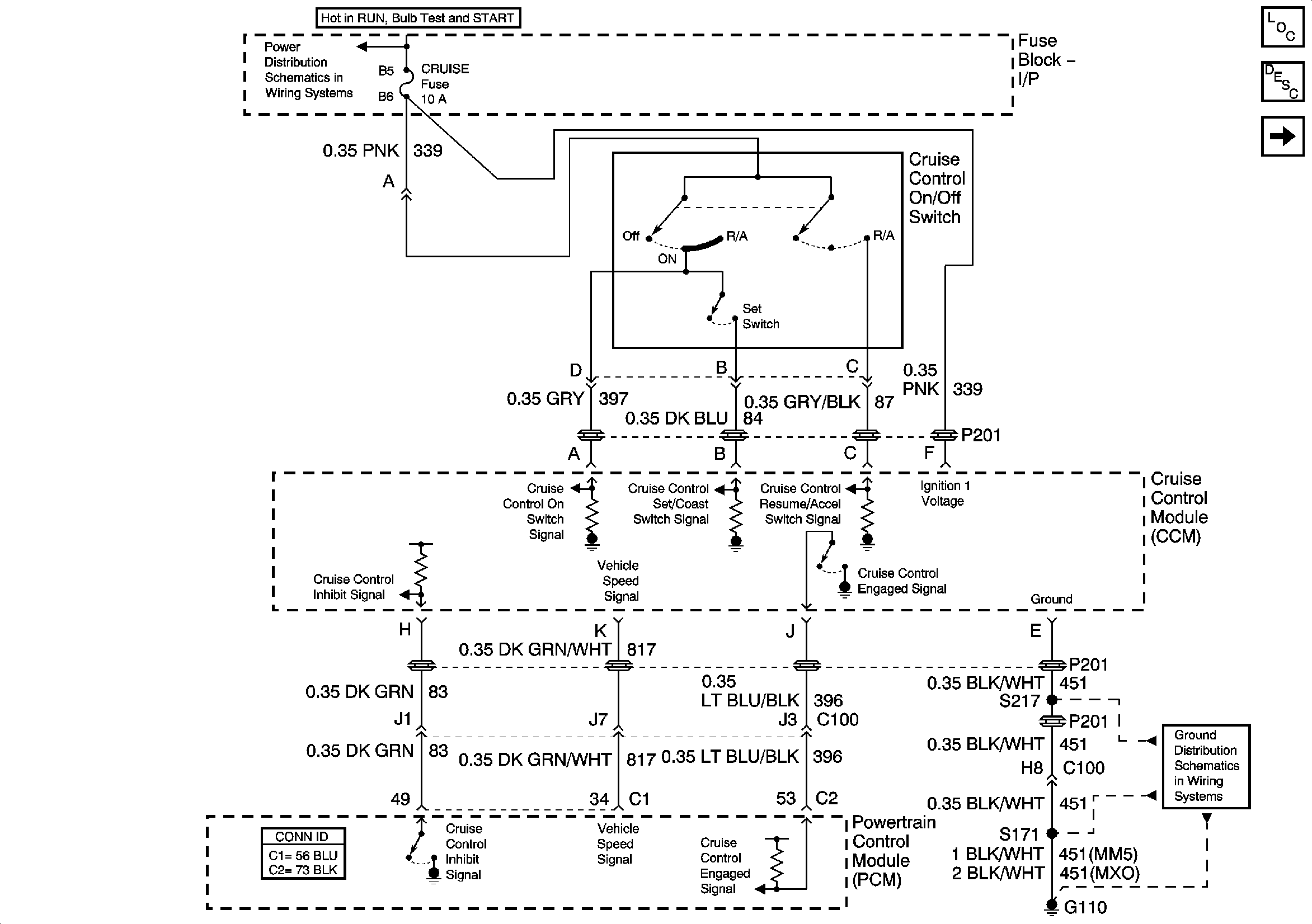
Figure
1:
Power, Ground and Controls
Master Electrical Component List
Cruise Control Description and Operation
Release Signals
Fuse Block Underhood, IGN, ABS, Fuse Block I/P, ABS, F/P INJ, AIR BG, CRUISE Fuses
G110
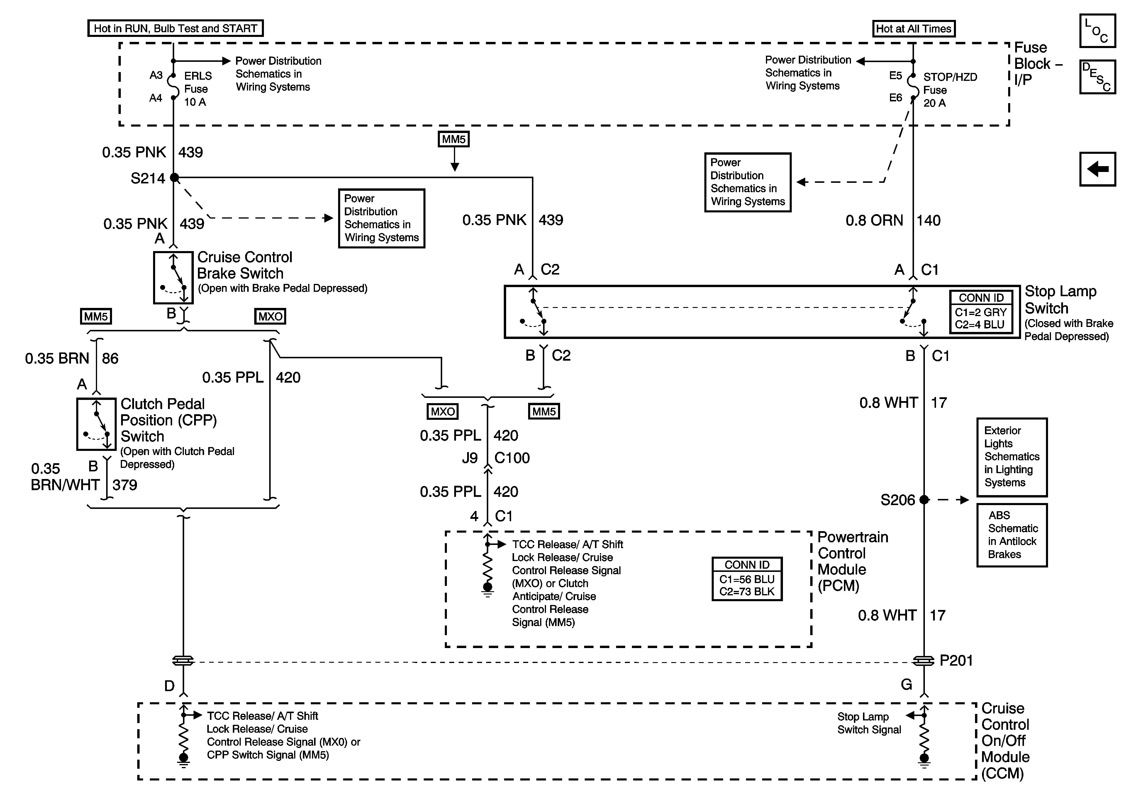
Figure
2:
Release Signals
Master Electrical Component List
Cruise Control Description and Operation
Power, Ground and Controls
Fuse Block I/P, ERLS Fuses
Fuse Block Underhood, BATT 2, Fuse Block I/P, RR DEFOG, PWR ACCC, APO, STOP/HZD, Fuses
Fuse Block I/P, ERLS Fuses
Fuse Block Underhood, BATT 2, Fuse Block I/P, RR DEFOG, PWR ACCC, APO, STOP/HZD, Fuses
Lamp Control, Rear Turn Lamps and Indicators
Indicators and Switches