GM Service Manual Online
For 1990-2009 cars only
Makes
🢒
Pontiac
🢒
2004
🢒
Sunfire
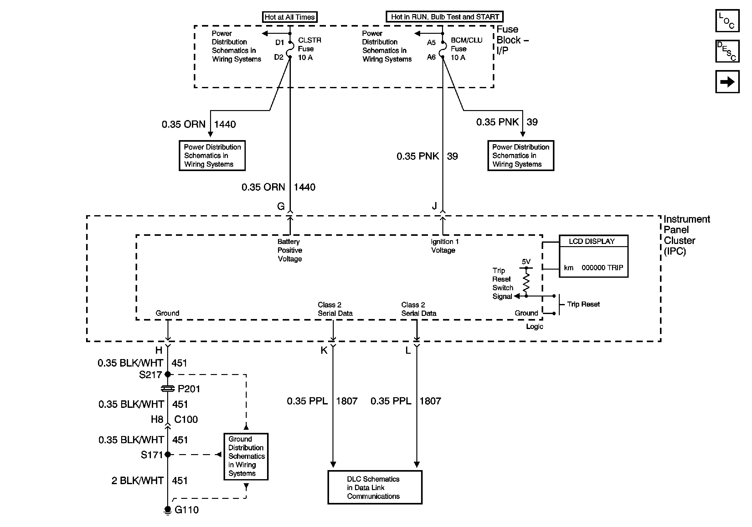
🢒 Power, Ground and Serial Data
Power, Ground and Serial Data
Power, Ground and Serial Data
Master Electrical Component List
Instrument Cluster Description and Operation
Gages
Fuse Block I/P, CIG, HORN, LT HDLP, CLUSTER, EXT LP, FOG Fuses and HDLP Circuit Breaker
Fuse Block I/P, TURN B/U, IGN MDL, PCM, BCM/CLU Fuses
Fuse Block I/P, CIG, HORN, LT HDLP, CLUSTER, EXT LP, FOG Fuses and HDLP Circuit Breaker
Fuse Block I/P, TURN B/U, IGN MDL, PCM, BCM/CLU Fuses
G110
Data Link Communication (DLC)