GM Service Manual Online
For 1990-2009 cars only
Makes
🢒
Pontiac
🢒
2004
🢒
Sunfire
🢒 Gages
Gages
Gages
Master Electrical Component List
Instrument Cluster Description and Operation
Indicator Lights and EOP
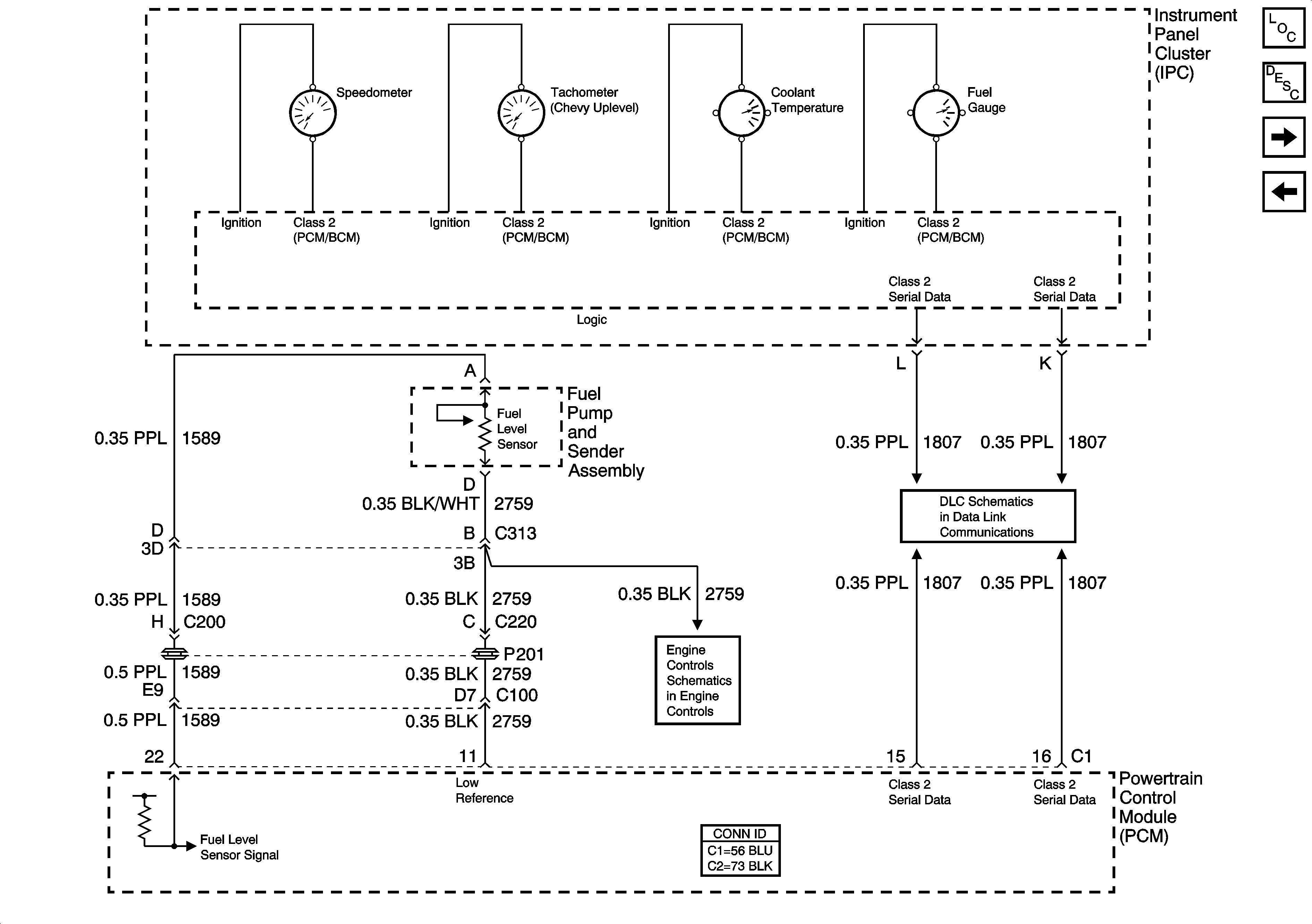
Power, Ground and Serial Data
Engine Data Sensor - Pressure and Temperature
Data Link Communication (DLC)