 
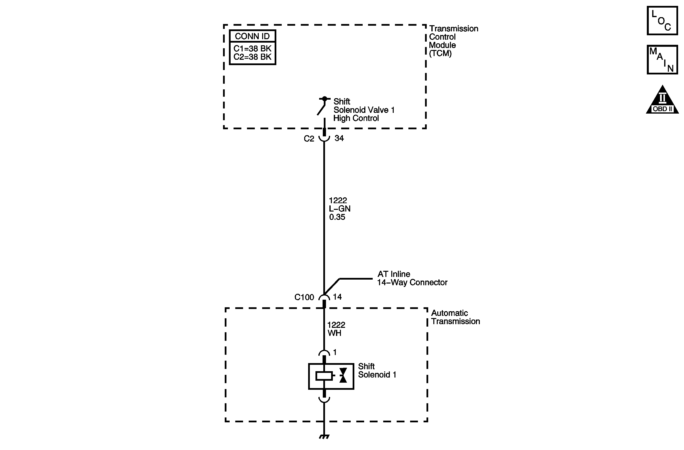
The reverse, 1st shift solenoid (SS) valve (S1) is commanded ON in NEUTRAL and first gear. The reverse, 1st SS valve (S1) controls transmission fluid pressure acting on the neutral relay and M1 shift valves to position the valves for the appropriate gear. The reverse, 1st SS valve (S1) is a normally open exhaust valve located on the front control valve body. The solenoid is case grounded. The output driver module (ODM), within the transmission control module (TCM), commands the solenoid ON or OFF by providing voltage. When the reverse, 1st SS valve (S1) is commanded ON, the TCM senses high voltage. When the reverse, 1st SS valve (S1) is commanded OFF, the TCM senses low voltage.
If the TCM detects a continuous open or short to voltage in the reverse, 1st SS valve (S1) circuit, then DTC P0974 sets. DTC P0974 is a type A DTC.
This diagnostic procedure supports the following DTC:
DTC P0974 Shift Solenoid (SS) 1 Control Circuit High Voltage
| • | The system voltage is 10.2-15.5 volts. | 
| • | The engine speed is greater than 400 RPM. | 
| • | Trans. Protection Mode is OFF. | 
| • | The TCM commands the reverse, 1st SS valve off. | 
The reverse, 1st SS valve (S1) feedback circuit indicates a continuous open or short to voltage for 0.5 second.
| • | The TCM requests the powertrain control module (PCM) to illuminate the malfunction indicator lamp (MIL). | 
| • | The TCM turns the Trans. Protection Mode ON. | 
| • | The transmission will operate in 5th gear when the transmission is shifted into D range and 2nd gear when shifted into L range. | 
| • | The line pressure is at maximum. | 
| • | The torque converter clutch (TCC) is disabled. | 
| • | The TCM freezes the transmission adaptive functions. | 
| • | Engine torque is limited to 185 N·m (136 lb ft). | 
| • | The PCM records the operating conditions when the Conditions for Setting the DTC are met. The PCM stores this information as Freeze Frame and Failure Records. | 
| • | The TCM records the operating conditions when the Conditions for Setting the DTC are met. The TCM stores this information as Failure Record. | 
| • | The TCM stores DTC P0974 in TCM history. | 
| • | The PCM turns off the MIL after the third consecutive drive trip in which the TCM does not send a MIL illumination request. | 
| • | A scan tool can clear the MIL/DTC. | 
| • | The TCM clears the DTC from TCM history if the vehicle completes 40 warm-up cycles without an emission-related diagnostic fault occurring. | 
| • | The TCM cancels the DTC default actions when the ignition switch is OFF long enough in order to power down the TCM. | 
The number below refers to the step number on the diagnostic table.
| Step | Action | Yes | No | 
|---|---|---|---|
| 1 | Did you perform the Diagnostic System Check - Vehicle? | Go to Step 2 | |
| 2 | 
 Important: Before clearing the DTC, use the scan tool in order to record the Freeze Frame and Failure Records. Using the Clear Eng./Trans. DTC Info function erases the Freeze Frame and Failure Records from the transmission control module (TCM). Does the Shift Solenoid 1 CKT Status display OK? | Go to Testing for Intermittent Conditions and Poor Connections | Go to Step 3 | 
| 3 | 
 Does the test lamp turn ON and OFF? | Go to Step 4 | Go to Step 7 | 
| 4 | Inspect for poor connections at the transmission AT inline 14-way connector. Did you find and correct the condition? | Go to Step 12 | Go to Step 5 | 
| 
 Did you find and correct the condition? | Go to Step 12 | Go to Step 6 | |
| 6 | 
 Refer to Circuit Testing and Wiring Repairs . Did you find and correct the condition? | Go to Step 9 | Go to Step 10 | 
| 7 | 
 Did you find and correct the condition? | Go to Step 12 | Go to Step 8 | 
| 8 | Inspect the TCM C2 connector for poor connections. Refer to Testing for Intermittent Conditions and Poor Connections . Did you find and correct the condition? | Go to Step 12 | Go to Step 11 | 
| 9 | Replace the automatic transmission wiring harness. Refer to Wiring Harness Removal in the Unit Repair Manual. Did you complete the replacement? | Go to Step 12 | -- | 
| 10 | Replace the reverse, 1st SS valve (S1). Refer to Control Valve Body Assembly Disassemble in the Unit Repair Manual. Did you complete the replacement? | Go to Step 12 | -- | 
| 11 | Replace the TCM. Refer to Control Module References for replacement, setup, and programming. Did you complete the replacement? | Go to Step 12 | -- | 
| 12 | Perform the following procedure in order to verify the repair: 
 Does the DTC reset? | Go to Step 2 | Go to Step 13 | 
| 13 | With the scan tool, observe the stored information, capture info and DTC info. Does the scan tool display any DTCs that you have not diagnosed? | System OK |