GM Service Manual Online
For 1990-2009 cars only
Makes
🢒
Saab
🢒
2005
🢒
9-7x
🢒
Accessories
🢒
Navigation Systems
🢒 Navigation System Schematics
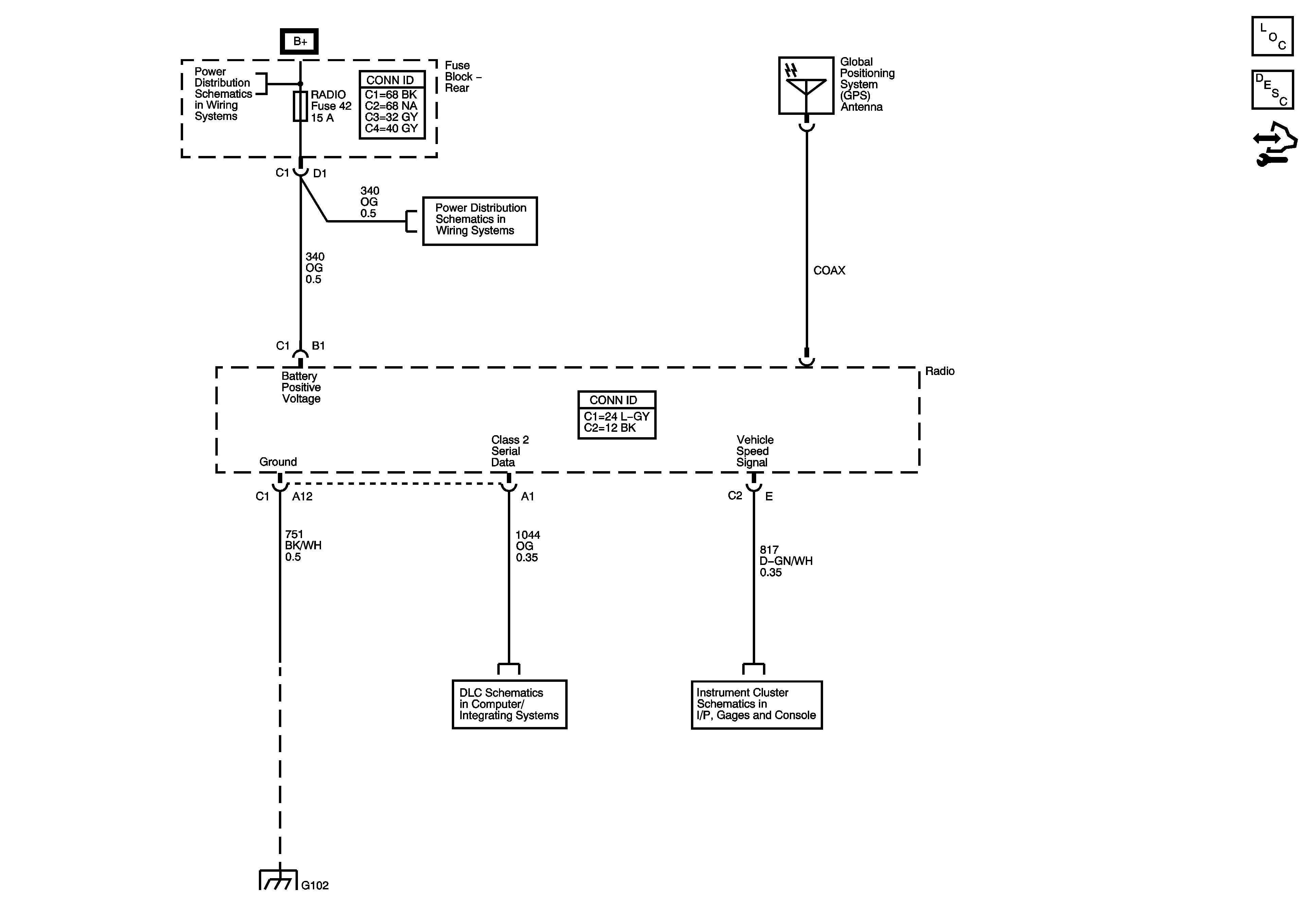
NAV
Master Electrical Component List
Navigation System Description and Operation
Control Module References
B+ Bus - Rear Fuse Block
HVAC B, LGM/DSM, OH BATT/ONSTAR, and RADIO Fuses
SP 205
Gages
SP 205
G102