GM Service Manual Online
For 1990-2009 cars only

Object Number: 1273901  Size: MF
Entertainment Component Views
Radio/Audio System Schematics

Circuit Description

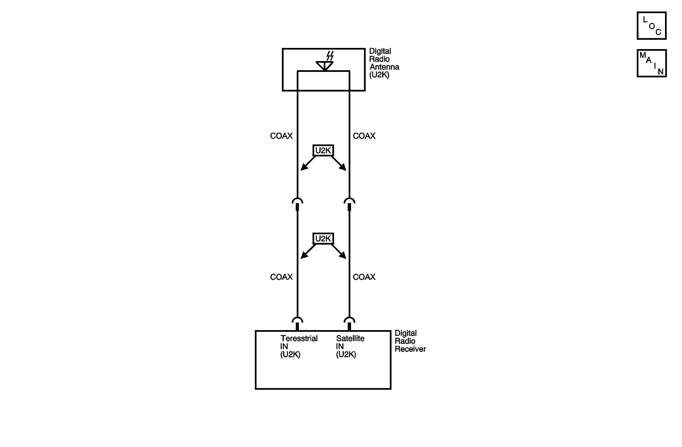
The digital radio antenna is connected to the digital radio receiver by 2 coax cables. One coax carries the satellite signal, the other coax carries the terrestrial signal. The antenna cable for the satellite antenna also provides a path for DTC current for powering the antenna.

Conditions for Running the DTC

This test is run every 300 milliseconds.

Conditions for Setting the DTC

The digital radio receiver detects an antenna fault.

Action Taken When the DTC Sets

The radio displays, No XM Signal.

Conditions for Clearing the DTC

The condition must be corrected.

Test Description

The number below refers to the step number on the diagnostic table.

  1. Due to current limiting capabilities in the module, an antenna cable shorted to ground could still show 1200-1800 mV.

Step

Action

Values

Yes

No

Schematic Reference: Radio/Audio System Schematics

Connector End Views Reference: Entertainment Connector End Views

1

Did you perform the Radio/Audio System Diagnostic System Check?

--

Go to Step 2

Go to Diagnostic System Check - Radio/Audio System

2

With a scan tool, observe the digital radio antenna in the digital radio receiver data list.

Does the scan tool indicate that the digital radio antenna is within the specified range?

1200-1800 mV

Go to Step 3

Go to Step 4

3

Test the antenna cables for a short to ground. Refer to Circuit Testing and Wiring Repairs in Wiring Systems.

Did you find and correct the condition?

--

Go to Step 10

Go to Step 8

4

  1. Disconnect the antenna cables from the digital radio receiver.
  2. Measure the voltage from the center conductor of the inboard antenna connector on the digital radio receiver to one of the case screws.

Does the voltage measure within the specified range?

4.5-5.5 V

Go to Step 5

Go to Step 6

5

Test the antenna cables for an open, or high resistance. Refer to Circuit Testing and Wiring Repairs in Wiring Systems.

Did you find and correct the condition?

--

Go to Step 10

Go to Step 8

6

Inspect for poor connections at the digital radio receiver. Refer to Testing for Intermittent Conditions and Poor Connections and Connector Repairs in Wiring Systems.

Did you find and correct the condition?

--

Go to Step 10

Go to Step 7

7

Important: Always perform the setup procedure for the digital radio receiver. Refer to Digital Radio Receiver Setup .

Replace the digital radio receiver. Refer to Digital Radio Receiver Replacement .

Did you complete the replacement?

--

Go to Step 10

--

8

Inspect for poor connections at the digital radio antenna. Refer to Testing for Intermittent Conditions and Poor Connections and Connector Repairs in Wiring Systems.

Did you find and correct the condition?

--

Go to Step 10

Go to Step 9

9

Replace the digital radio antenna. Refer to Digital Radio Antenna Replacement .

Did you complete the replacement?

--

Go to Step 10

--

10

  1. Use the scan tool in order to clear the DTCs.
  2. Operate the vehicle within the Conditions for Running the DTC as specified in the supporting text.

Does the DTC reset?

--

Go to Step 2

System OK