GM Service Manual Online
For 1990-2009 cars only

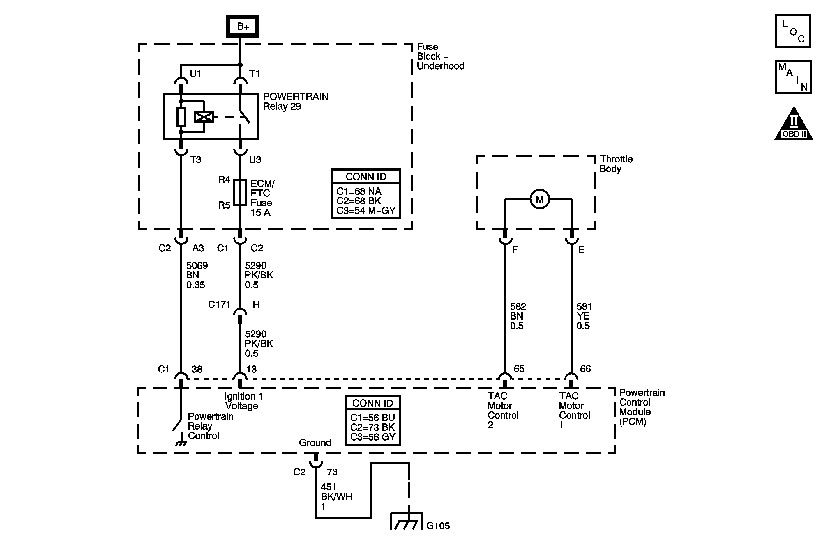
Object Number: 1402881  Size: MF

Circuit Description

The commanded throttle position is compared to the actual throttle position based on accelerator pedal position and possibly other limiting factors. Both values should be within a calibrated range of each other. The powertrain control module (PCM) continuously monitors the commanded and actual throttle positions. This DTC sets if the values are greater than the calibrated range.

DTC Descriptor

This diagnostic procedure supports the following DTC:

DTC P2101 Throttle Actuator Position Performance

Conditions for Running the DTC

    • The ignition is ON.
    • The ignition voltage is greater than 8 volts.
    • The system is not in Battery Saver mode.
    • The engine is running.
    • DTC P0068 is not set.
    • DTC P2101 runs continuously when the above conditions are met.

Conditions for Setting the DTC

The difference between the predicted and the actual throttle position is more than a calibrated amount for ore than 0.2 second.

Action Taken When the DTC Sets

    • The control module illuminates the malfunction indicator lamp (MIL) when the diagnostic runs and fails.
    • The control module records the operating conditions at the time the diagnostic fails. The control module stores this information in the Freeze Frame and/or the Failure Records.
    • The control module commands the TAC system to operate in the Reduced Engine Power mode.
    • A message center or an indicator displays Reduced Engine Power.
    • Under certain conditions the control module commands the engine OFF.

Conditions for Clearing the MIL/DTC

    • The PCM turns OFF the MIL after 3 consecutive drive trips that the diagnostic runs and passes.
    • A History DTC clears after 40 consecutive warm-up cycles in which there are no failures reported of this diagnostic or any other emission related diagnostic.
    • The scan tool clears the MIL/DTC.

Diagnostic Aids

    • The throttle valve is spring loaded to a slightly open position. This is referred to as the rest position.
    • The throttle valve should not be completely closed nor should they be open any more than the specified amount.
    • The throttle valve should move open and to the closed position without binding under the normal spring pressure.
    • The throttle should NOT be free to move open or closed WITHOUT spring pressure. Replace the throttle body if any of these conditions are found.

       Important: Operating the throttle blade with the Throttle Blade Control function of the scan tool may cause additional DTCs to set. Do not attempt to diagnose DTCs set during this function.

    • The scan tool has the ability to operate the throttle control system using Special Functions. Actuate the throttle valve using the throttle blade control function located in the TAC System menu. This function will operate the throttle valve through the entire range in order to determine if the throttle body and system operate correctly.
    • Inspect for the following conditions:
       - Use the J 35616 Connector Test Adapter Kit for any test that requires probing the PCM harness connector or a component harness connector.
       - Poor connections at the PCM or at the component--Inspect the harness connectors for a poor terminal to wire connection. Refer to Testing for Intermittent Conditions and Poor Connections in Wiring Systems for the proper procedure.
    • If the condition is intermittent, refer to Intermittent Conditions .

Test Description

The numbers below refer to the step numbers on the diagnostic table.

  1. The throttle valve is spring loaded in a slightly open position and should move in either direction without binding. The throttle valve should always be under spring pressure.

  2. When the ignition is turned ON, the PCM operates the throttle control motor to verify the integrity of the system prior to start-up. This can be seen by the momentary flash of the test lamp as the ignition is turned ON.

Step

Action

Values

Yes

No

Schematic Reference: Engine Controls Schematics

Connector End View Reference: Engine Controls Connector End Views or Powertrain Control Module Connector End Views

1

Did you perform the Diagnostic System Check - Vehicle?

--

Go to Step 2

Go to Diagnostic System Check - Vehicle in Vehicle DTC Information

2

Are DTCs P0120, P0220, P2120, P2125, P2135, and P2138 also set?

--

Go to Diagnostic Trouble Code (DTC) List - Vehicle in Vehicle DTC Information

Go to Step 3

3

Important: The throttle angle and pedal angle may not correspond during this procedure.

  1. Turn ON the ignition with the engine OFF.
  2. Observe the TP sensor 1 and 2 angle parameters.
  3. Apply and release the accelerator pedal several times.

Does the TP sensor 1 and 2 angle parameters increase as the pedal is applied and decrease as the pedal is released?

--

Go to Step 4

Go to Step 5

4

  1. Observe the Freeze Frame/Failure Records for this DTC.
  2. Start the engine.
  3. Operate the vehicle within the Conditions for Running the DTC. You may also operate the vehicle within the conditions that you observed from the Freeze Frame/Failure Records.

Did the DTC fail this ignition?

--

Go to Step 5

Go to Diagnostic Aids

5

  1. Turn ON the ignition with the engine OFF.
  2. Probe both sides of the ECM/ETC fuse with a test lamp.

Does the test lamp illuminate on both sides of the fuse?

--

Go to Step 6

Go to Step 16

6

  1. Turn OFF the ignition.
  2. Probe both sides of the ECM/ETC fuse with a test lamp.

Does the test lamp illuminate on both sides of the fuse?

--

Go to Step 22

Go to Step 7

7

  1. Turn OFF the ignition.
  2. Disconnect the powertrain control module (PCM) connector containing the ignition 1 voltage circuit that is supplied by the ECM/ETC fuse.
  3. Turn ON the ignition.
  4. Probe the ignition 1 voltage circuit that is supplied by the ECM/ETC fuse with a test lamp.

Does the test lamp illuminate?

--

Go to Step 8

Go to Step 23

8

  1. Turn OFF the ignition.
  2. Inspect the throttle body for the following conditions. Refer to Diagnostic Aids:
  3. • A throttle valve that is NOT in the rest position
    • A throttle valve that is binding open or closed
    • A throttle valve that is free to move open or closed WITHOUT spring pressure.

Did you find any of these conditions with the throttle body?

--

Go to Step 24

Go to Step 9

9

Important: The test lamp may momentarily flash when testing these circuits. This is considered normal.

  1. Connect the PCM connector.
  2. Disconnect the throttle body harness connector.
  3. Turn ON the ignition, with the engine OFF.
  4. Probe the throttle actuator control (TAC) motor control 1 and 2 circuits with the test lamp connected to ground.

Did the test lamp illuminate and remain illuminated on either circuit?

--

Go to Step 13

Go to Step 10

10

Important: The test lamp may momentarily flash when testing these circuits. This is considered normal.

Probe the TAC motor control 1 and 2 circuits with the test lamp connected to battery positive.

Did the test lamp illuminate and remain illuminated on either circuit?

--

Go to Step 14

Go to Step 11

11

  1. Turn OFF the ignition.
  2. Connect the throttle body connector.
  3. Turn ON the ignition.
  4. Clear the DTCs with a scan tool.
  5. Turn OFF the ignition.
  6. Connect a test lamp between motor control 1 and battery ground.
  7. Observe the test lamp as you turn the ignition ON.

Does the test lamp flash ON, then OFF.

--

Go to Step 12

Go to Step 15

12

Measure the voltage from the motor control circuits to a good ground with a DMM. Refer to Circuit Testing in Wiring Systems.

Is the voltage on both circuits more than the specified value?

12 V

Go to Step 18

Go to Step 15

13

  1. Turn OFF the ignition.
  2. Disconnect the PCM connector that contains the TAC motor control circuits.
  3. Turn ON the ignition, with the engine OFF.
  4. Probe the TAC motor control 1 and 2 circuits with the test lamp connected to ground.

Does the test lamp illuminate?

--

Go to Step 20

Go to Step 19

14

  1. Turn OFF the ignition.
  2. Disconnect the PCM connector that contains the TAC motor control circuits.
  3. Probe the TAC motor control 1 and 2 circuits with the test lamp connected to battery positive.

Does the test lamp illuminate?

--

Go to Step 21

Go to Step 19

15

  1. Turn OFF the ignition.
  2. Disconnect the PCM connector that contains the TAC motor control circuits.
  3. Test the TAC motor control 1 and 2 circuits for an open or high resistance.
  4. Repair the circuit as necessary. Refer to Wiring Repairs in Wiring Systems.

Did you find and correct the condition?

--

Go to Step 26

Go to Step 19

16

Test the ignition 1 voltage circuit that is supplied by the ECM/ETC fuse for a short to ground. Refer to Circuit Testing and Wiring Repairs in Wiring Systems.

Did you find and correct the condition?

--

Go to Step 26

Go to Step 17

17

Test the motor control 1 circuit for a short to ground. Refer to Circuit Testing and Wiring Repairs in Wiring Systems.

Did you find and correct the condition?

--

Go to Step 26

Go to Step 24

18

Test for a poor connection or terminal tension at the throttle body connector. Refer to Testing for Intermittent Conditions and Poor Connections and Connector Repairs in Wiring Systems.

Did you find and correct the condition?

--

Go to Step 26

Go to Step 24

19

Test for a poor connection or terminal tension at the PCM. Refer to Testing for Intermittent Conditions and Poor Connections and Connector Repairs in Wiring Systems.

Did you find and correct the condition?

--

Go to Step 26

Go to Step 24

20

Repair the short to voltage on the circuit where the test lamp remained illuminated. Refer to Wiring Repairs in Wiring Systems.

Did you complete the repair?

--

Go to Step 26

--

21

Repair the short to ground on the circuit where the test lamp remained illuminated. Refer to Wiring Repairs in Wiring Systems.

Did you complete the repair?

--

Go to Step 26

--

22

Repair the short to voltage on the ECM/ETC ignition 1 voltage circuit. Refer to Wiring Repairs in Wiring Systems.

Did you complete the repair?

--

Go to Step 26

--

23

Repair the open or high resistance in the ECM/ETC ignition 1 voltage circuit. Refer to Wiring Repairs in Wiring Systems.

Did you complete the repair?

--

Go to Step 26

--

24

Replace the throttle body assembly. Refer to Throttle Body Assembly Replacement .

Did you complete the replacement?

--

Go to Step 26

--

25

Replace the PCM. Refer to Control Module References in Computer/Integrating Systems for replacement, setup, and programming.

Did you complete the replacement?

--

Go to Step 26

--

26

  1. Clear the DTCs with a scan tool.
  2. Turn OFF the ignition for 30 seconds.
  3. Start the engine.
  4. Operate the vehicle within the Conditions for Running the DTC. You may also operate the vehicle within the conditions that you observed from the Freeze Frame/Failure Records.

Did the DTC fail this ignition?

--

Go to Step 2

Go to Step 27

27

Observe the Capture Info with a scan tool.

Are there any DTCs that have not been diagnosed?

--

Go to Diagnostic Trouble Code (DTC) List - Vehicle in Vehicle DTC Information

System OK