GM Service Manual Online
For 1990-2009 cars only
Makes
🢒
Saturn
🢒
2003
🢒
L200/LW200
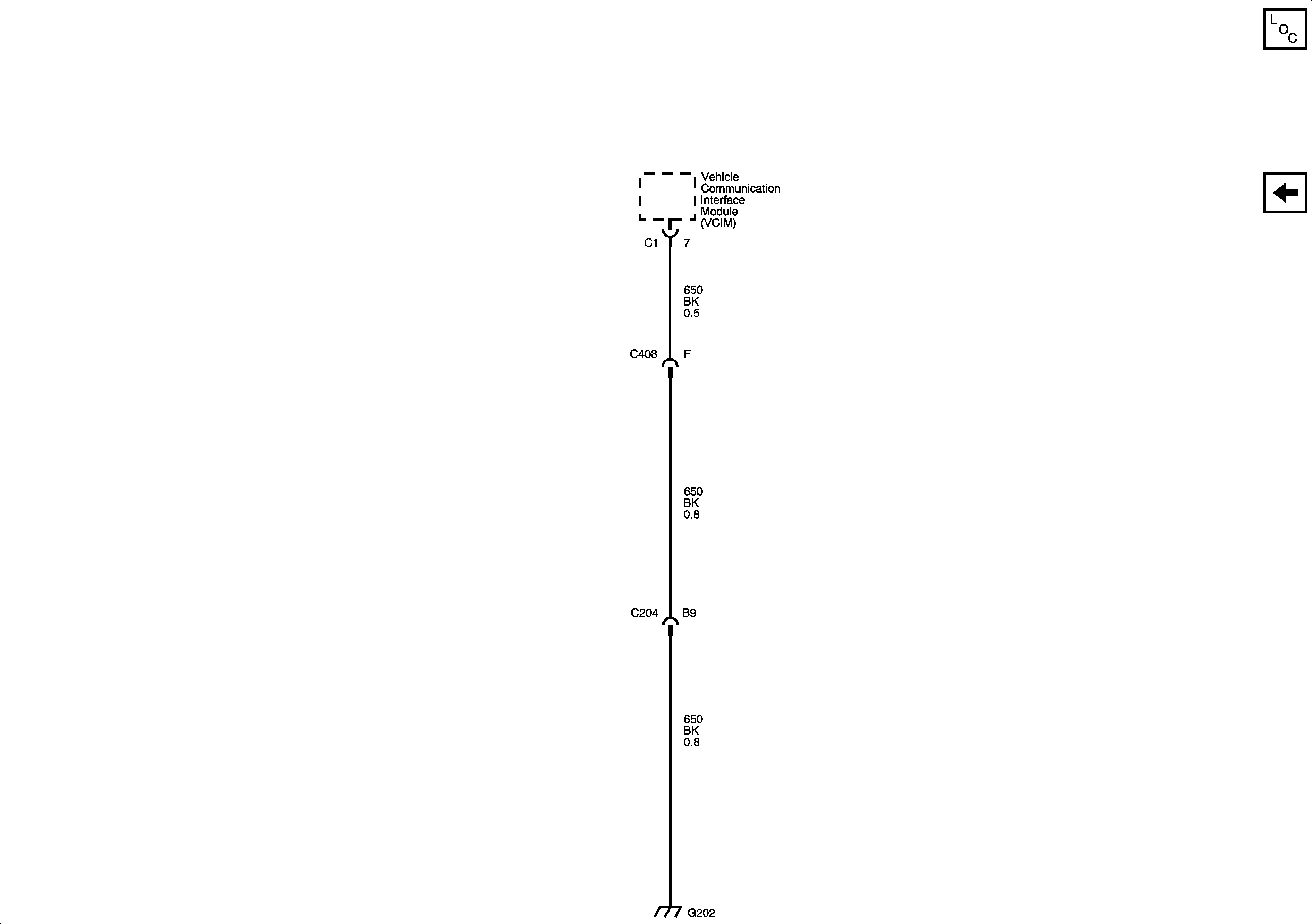
🢒 G202
G202
G202 - (UE1)
Master Electrical Component List
G464, G401, G463, G403