GM Service Manual Online
For 1990-2009 cars only

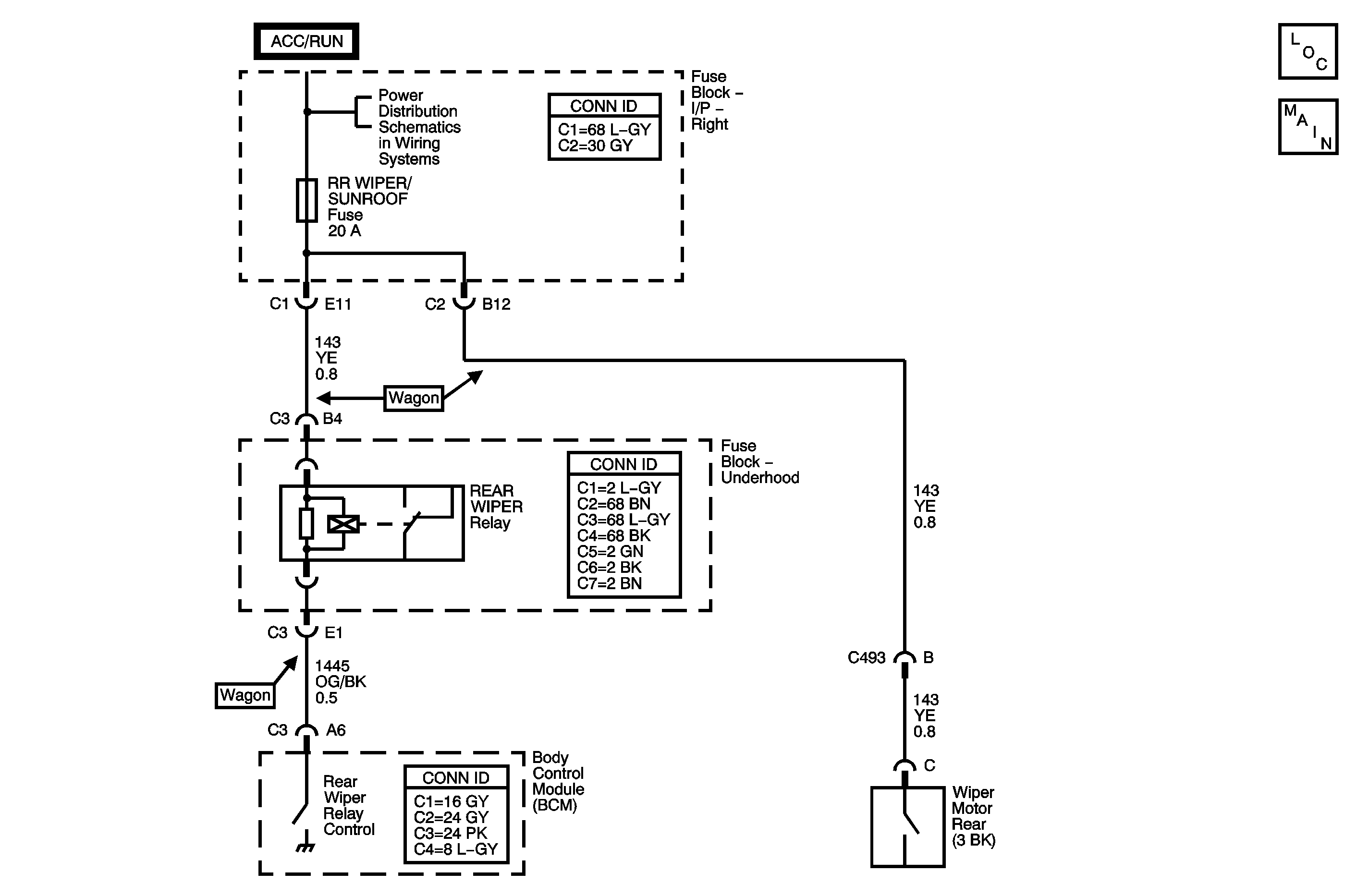
Object Number: 1250593  Size: MF
Master Electrical Component List
Wiper Motors

Circuit Description

When operation of the rear wiper is selected, battery voltage from the rear wiper switch is applied to the rear wiper input of the body control module (BCM) circuit 94. The BCM responds by switching circuit 1445 to ground. This action energizes the rear wiper relay, providing power to the rear wiper motor.

Conditions for Running the DTC

Ignition is in RUN or ACC position.

Conditions for Setting the DTC

    • Rear wiper relay control circuit, circuit 1445, is shorted to ground or open.
    • Rear wiper relay control output if OFF.

Actions Taken When the DTC Sets

Service, wrench, light will illuminate.

Conditions for Clearing the DTC

    • A current DTC clears when the fault is no longer present.
    • A history DTC clears when the module ignition cycle counter reaches the reset threshold, without a repeat of the fault.

Diagnostic Aids

    • Check for poor connection at the BCM. Inspect harness connectors for backed out terminals, improper terminal mating, broken connectors locks, improperly formed or damaged terminals and poor terminal-to-wire connection, terminal crimped over wire insulation and not conductors.
    • If circuit 1445 is open, the rear wipers will be inoperative.
    • If circuit 1445 is shorted to ground, the rear wipers are always ON.
    • Inspect wiring harness for damage. Check for broken or chaffed insulation.
    • If fault is suspected to be intermittent, wiggling harness wiring may help in locating fault.

Step

Action

Yes

No

Schematic Reference: Wiper/Washer Schematics

Connector End View Reference: Master Electrical Component List in Wiring Systems

1

Did you perform the Wiper/Washer Diagnostic System Check?

Go to Step 2

Go to Diagnostic System Check - Wiper/Washer

2

  1. Turn ON the ignition, with the engine OFF.
  2. With a scan tool, command the rear wiper relay ON and OFF under body control module special functions.

Does relay follow command?

Go to Diagnostic Aids

Go to Step 3

3

  1. Turn OFF the ignition.
  2. Remove the rear wiper relay from the underhood fuse block (UHFB).
  3. Turn ON the ignition, with the engine OFF.
  4. Connect the test lamp between rear wiper relay control circuit and the rear wiper relay battery voltage circuit.
  5. Using a scan tool, command rear wiper relay ON and OFF.

Does the test lamp illuminate?

Go to Step 4

Go to Step 5

4

Does the test lamp follow the scan tool command?

Go to Step 13

Go to Step 8

5

Connect the test lamp between the rear wiper relay battery voltage circuit and ground at the rear wiper relay location.

Does the test lamp illuminate?

Go to Step 6

Go to Step 7

6

  1. Turn OFF the ignition.
  2. Disconnect the BCM connector C3.
  3. Check the continuity on the rear wiper relay control circuit.

Is there continuity?

Go to Step 12

Go to Step 11

7

Check for open RR wiper/sunroof fuse.

Is the fuse open?

Go to Step 10

Go to Step 9

8

Test the rear wiper relay control circuit for a short to ground. Refer to Circuit Testing and Wiring Repairs in Wiring Systems.

Did you find and correct the condition?

Go to Step 14

Go to Step 12

9

Repair an open in the rear wiper relay battery voltage circuit. Refer to Circuit Testing and Wiring Repairs in Wiring Systems.

Did you complete the repair?

Go to Step 14

--

10

Repair a short to ground in the rear wiper relay battery voltage circuit. Refer to Circuit Testing and Wiring Repairs in Wiring Systems.

Did you complete the repair?

Go to Step 14

--

11

Repair an open in the rear wiper relay control circuit. Refer to Circuit Testing and Wiring Repairs in Wiring Systems.

Did you complete the repair?

Go to Step 14

--

12

Important: Perform the programming or setup procedure for the replaced control module if required.

Replace the BCM. Refer to Body Control Module Replacement in Body Control System for applicable replacement procedure.

Did you complete the replacement?

Go to Step 14

--

13

Replace the rear wiper relay. Refer to Relay Replacement in Wiring Systems.

Did you complete the replacement?

Go to Step 14

--

14

  1. Use the scan tool to clear the DTCs.
  2. Operate the vehicle within the conditions for running the DTC as specified in the supporting text.

Does the DTC reset?

Go to Step 2

System OK