The cruise brake switch is a normally closed switch. The stop lamp switch is a normally open switch. When the brake pedal is released, the electronic control module (ECM) detects a high voltage signal on the cruise brake switch signal circuit and a low signal voltage signal on the stop lamp switch signal circuit.
| • | The engine speed is greater than 700 RPM. |
| • | The engine operates for greater than 2 seconds. |
| • | The ECM detects that the condition exists for 20 consecutive times in one ignition cycle. |
DTC P0571 will set when the ECM detects one of the following conditions:
| • | A high signal voltage on the stop lamp switch signal circuit and a high signal voltage on the cruise control release signal circuit. |
| • | A low voltage signal on the cruise control release signal circuit and a low signal on the stop lamp switch signal circuit. |
| • | The ECM stores the DTC information into memory when the diagnostic runs and fails. |
| • | The malfunction indicator lamp (MIL) will not illuminate. |
| • | The ECM records the operating conditions at the time the diagnostic fails. The ECM stores this information in the Failure Records. |
| • | The cruise control system is disabled. |
| • | A last test failed, or current DTC, clears when the diagnostic runs and does not fail. |
| • | A history DTC will clear after 40 consecutive warm-up cycles, if no failures are reported by this or any other non-emission related diagnostic. |
| • | Use a scan tool in order to clear the DTC. |
| • | Inspect for proper adjustment of the cruise/brake switch, refer to Cruise Release Switch Adjustment . |
| • | Inspect for proper operation of the stop lamps, refer to Exterior Lighting Systems Description and Operation in Lighting Systems. |
| • | For an intermittent condition, refer to Testing for Intermittent Conditions and Poor Connections in Wiring Systems. |
Step | Action | Yes | No |
|---|---|---|---|
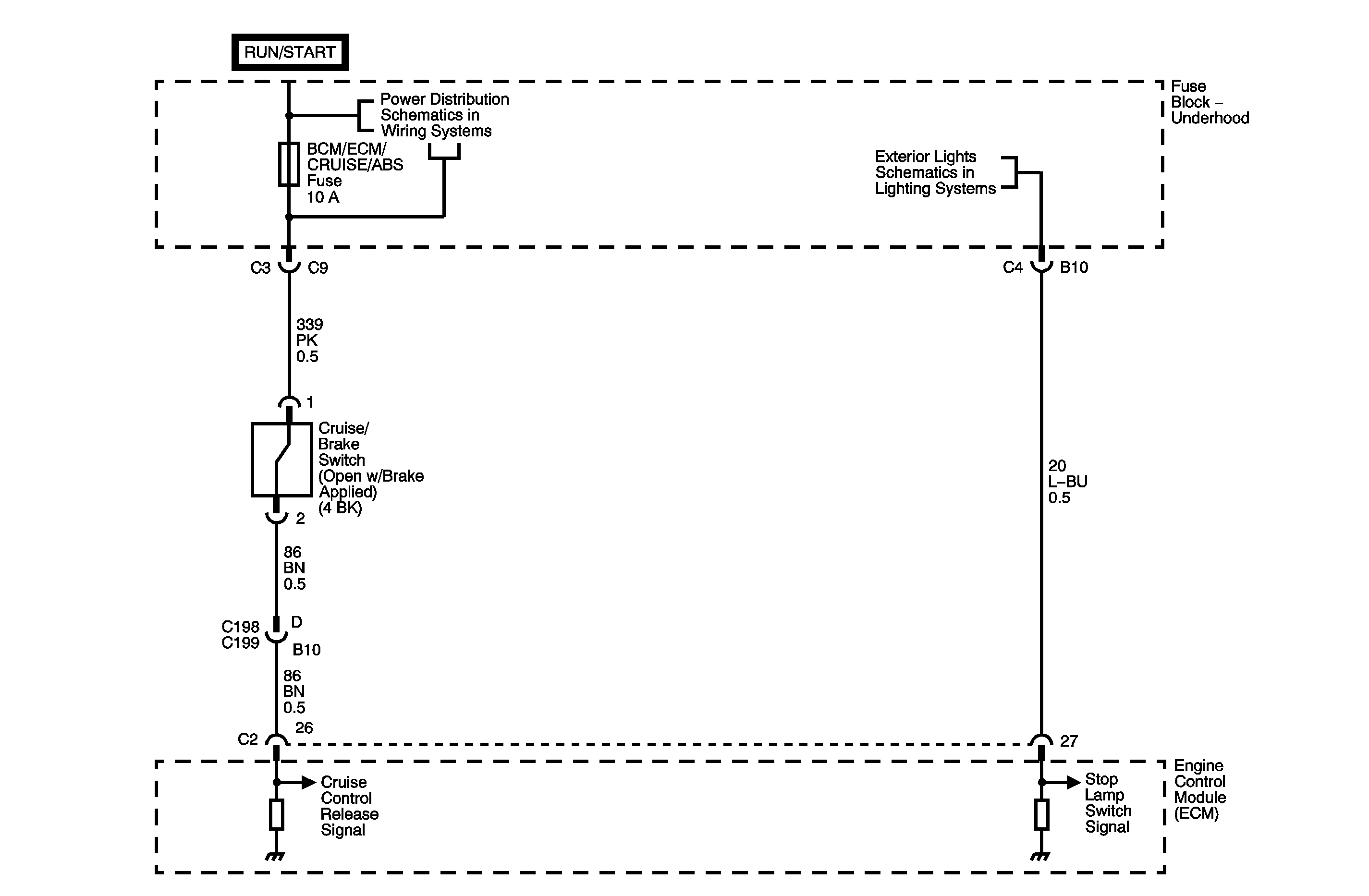
Schematic Reference: Cruise Control Schematics Connector End View Reference: Cruise Control Connector End Views or to Lighting Systems Connector End Views in Lighting Systems | |||
1 | Did you perform the Cruise Control Diagnostic System Check? | Go to Step 2 | |
2 |
Does the Cruise Brake Switch parameter display Released? | Go to Step 3 | Go to Step 4 |
3 |
Does the Brake Switch parameter display Released? | Go to Diagnostic Aids | Go to Step 5 |
4 |
Does the test lamp illuminate? | Go to Step 6 | Go to Step 9 |
5 | Test the stop lamp switch signal circuit for an open or for a high resistance between the underhood fuse block and the ECM. Refer to Circuit Testing and to Wiring Repairs in Wiring Systems. Did you find and correct the condition? | Go to Step 12 | Go to Step 8 |
6 | Test the cruise control release signal circuit for an open or for a high resistance. Refer Circuit Testing and to Wiring Repairs in Wiring Systems. Did you find and correct the condition? | Go to Step 12 | Go to Step 7 |
7 | Inspect for poor connections at the harness connector of the cruise brake switch. Refer to Testing for Intermittent Conditions and Poor Connections and to Connector Repairs in Wiring Systems. Did you find and correct the condition? | Go to Step 12 | Go to Step 10 |
8 | Inspect for poor connections at the harness connector of the ECM. Refer to Testing for Intermittent Conditions and Poor Connections and Connector Repairs in Wiring Systems. Did you find and correct the condition? | Go to Step 12 | Go to Step 11 |
9 | Repair the open, the short to ground, or the high resistance in the ignition 1 voltage circuit. Refer to Circuit Testing and to Wiring Repairs in Wiring Systems. Did you complete the repair? | Go to Step 12 | -- |
10 | Replace the cruise brake switch. Refer to Cruise Control Release Switch Replacement . Did you complete the repair? | Go to Step 12 | -- |
11 |
Important: Program the replacement PCM. Replace the ECM. Refer to Engine Control Module Replacement in Engine Controls-3.0 L (L81). Did you complete the replacement? | Go to Step 12 | -- |
12 |
Does the DTC reset? | Go to Step 2 | System OK |