GM Service Manual Online
For 1990-2009 cars only

DTC P0563 3.0L (L81)


Object Number: 1236641  Size: MF
Master Electrical Component List
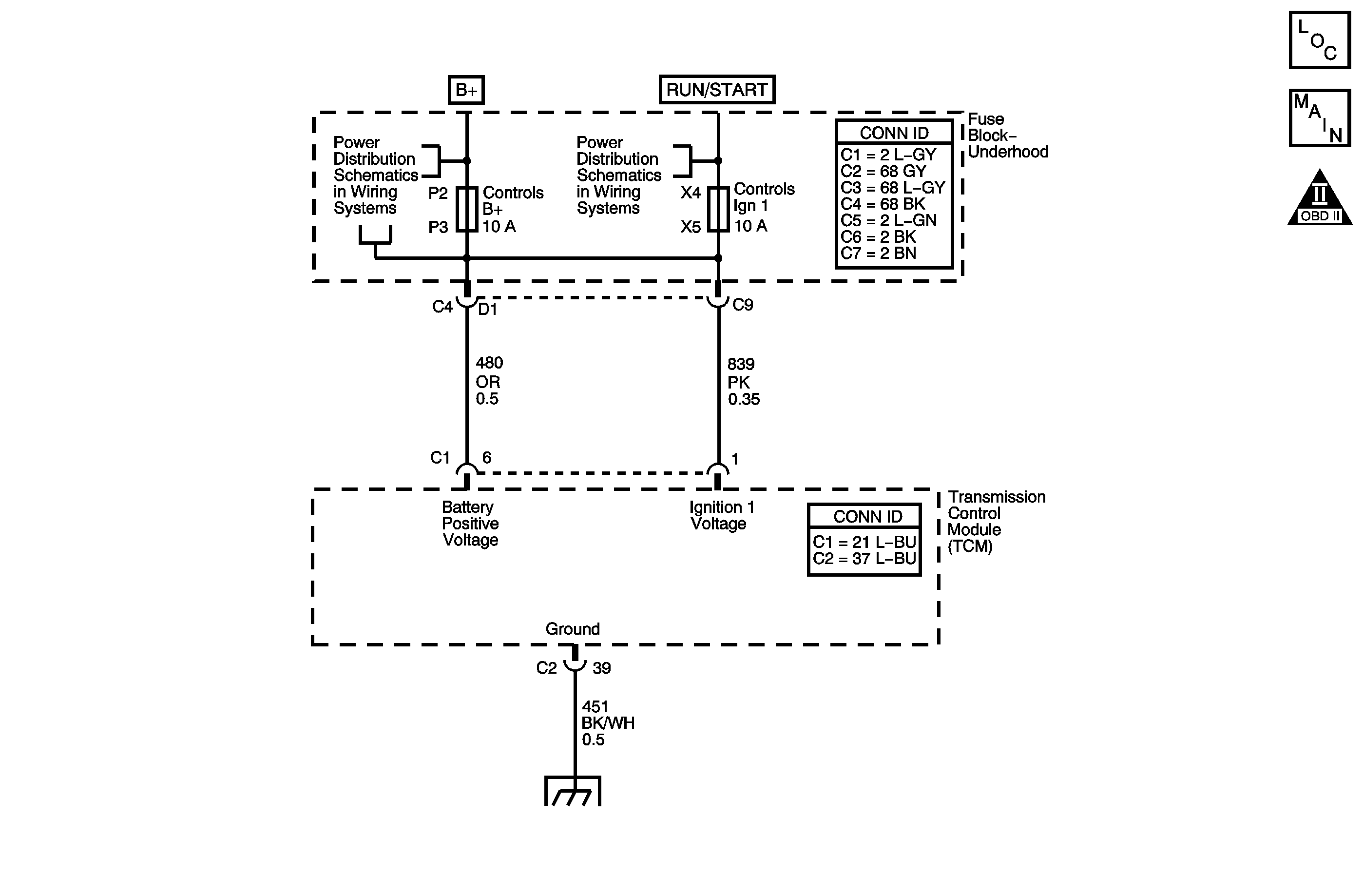
Automatic Transmission Controls Schematics 3.0L
OBD II Symbol Description Notice

Circuit Description

The transmission control module (TCM) samples the system voltage on the Ignition 1 circuit every 0.1 seconds. Higher than normal voltage may cause the transmission control solenoids to operate improperly or damage the solid-state components inside the TCM.

If the TCM detects high voltage, DTC P0563 sets. DTC P0563 is a type A DTC.

Conditions for Running The DTC

The engine is running for 5 seconds.

Conditions for Setting The DTC

The TCM detects system voltage is 18 volts or greater for 10 seconds.

Action Taken When the DTC Sets

    • The TCM requests the ECM to illuminate the malfunction indicator lamp (MIL).
    • The TCM inhibits TCC engagement.
    • The TCM commands maximum line pressure.
    • The TCM commands an immediate landing to 2nd gear.
    • The TCM turns off power to all the solenoids.
    • The TCM freezes transmission adaptive functions.
    • The ECM records the operating conditions when the Conditions for Setting the DTC are met. The ECM stores this information as Freeze Frame and Failure Records.
    • The TCM records the operating conditions when the Conditions for Setting the DTC are met. The TCM stores this information as Failure Records.
    • The TCM stores DTC P0563 in TCM history.

Conditions for Clearing the MIL/DTC

    • The ECM turns OFF the MIL after the third consecutive drive trip in which the TCM does not send a MIL illumination request.
    • A scan tool can clear the MIL/DTC.
    • The TCM clears the DTC from TCM history if the vehicle completes 40 warm-up cycles without an emission related diagnostic fault occurring.
    • The TCM cancels the DTC default actions when the ignition switch is OFF long enough in order to power down the TCM.

Diagnostic Aids

    • Use the scan tool in order to inspect all other modules for voltage related DTCs.
    • Running the engine with a battery charger attached may cause DTC P0563 to set.
       - Inspect the charging circuit for high resistance.
       - Inspect the vehicle battery for open or sulfated cells.

Test Description

The numbers below refer to the step numbers on the diagnostic table.

  1. This step tests the charging system voltage with a minimal load.

  2. This step obtains the ignition voltage measurement reported by the TCM.

Step

Action

Values

Yes

No

1

Did you perform the Diagnostic System Check - Engine Controls?

--

Go to Step 2

Go to Diagnostic System Check - Engine Controls in Engine Controls - 3.0L (L81)

2

  1. Install a scan tool.
  2. Turn ON the ignition, with the engine OFF.
  3. Important: 

       • : Before clearing the DTC, use the scan tool in order to record the Freeze Frame and Failure Records. Using the Clear Info function erases the Freeze Frame and Failure Records from both the ECM and the TCM.
       • Record the DTC Freeze Frame and Failure Records.

  4. Record the Failure Records.
  5. Clear the DTC.
  6. Start the engine and allow the engine to warm up to normal operating temperature.

Is the battery charge indicator lamp ON?

--

Go to Diagnostic System Check - Engine Electrical in Engine Electrical

Go to Step 3

3

  1. Turn OFF all electrical accessories.
  2. Increase the engine speed to 2,000 RPM.
  3. Using the DMM, measure the voltage between the battery terminals. Record the measurement for reference.

Is the voltage within the specified range?

12.5-14.5 V

Go to Step 4

Go to Charging System Test in Engine Electrical

4

  1. Leave the engine running.
  2. Observe the Ignition Voltage on the scan tool.
  3. Increase the engine speed to 2,000 RPM.

Is the difference between the voltage displayed on the scan tool and the voltage measurement in Step 4 greater than the specified value?

1.0 V

Go to Step 6

Go to Step 5

5

Did DTC P0563 reset?

--

Go to Step 6

Go to Intermittent Conditions in Engine Controls - 3.0L (L81)

6

Replace the TCM.

Refer to Transmission Control Module Replacement

Did you complete the replacement?

--

Go to Step 7

--

7

Perform the following procedure in order to verify the repair:

  1. Select DTC.
  2. Select Clear Info.
  3. Operate the vehicle under the following conditions:
  4. • Start the engine.
    • Allow the engine to warm up to normal operating temperature.
    • Observe the Ignition Voltage on the scan tool.
    • TCM voltage must remain below 18 volts for 10 seconds.
  5. Select Specific DTC.
  6. Enter DTC P0563.

Has the test run and passed?

--

Go to Step 8

Go to Step 2

8

With the scan tool, observe the stored information, capture info and DTC info.

Does the scan tool display any DTCs that you have not diagnosed?

--

Go to Diagnostic Trouble Code (DTC) List in Engine Controls - 3.0L (L81)

System OK