GM Service Manual Online
For 1990-2009 cars only

DTC P0713 2.2L (L61)


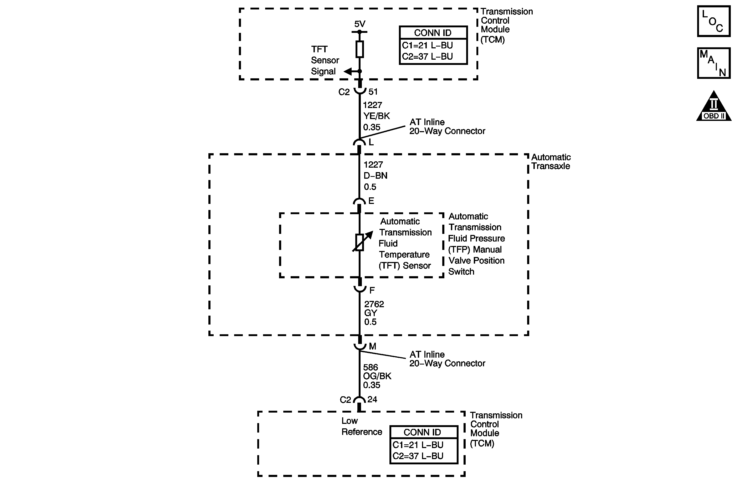
Object Number: 1236647  Size: MF
Master Electrical Component List
Automatic Transmission Controls Schematics 2.2L
OBD II Symbol Description Notice

Circuit Description

The automatic transmission fluid temperature (TFT) sensor is a thermistor. The TFT sensor is part of the automatic transmission fluid pressure (TFP) manual valve position switch. The PCM supplies a 5 volt reference signal to the sensor. When the transmission fluid is cold, the sensor resistance is high and the PCM senses a high signal voltage. As the transmission fluid warms, the sensor resistance lowers and the PCM senses lower voltage. The PCM uses the TFT reading in order to control the torque converter clutch (TCC), line pressure adjustments, and temperature compensated shifts.

When the PCM detects a continuous open or short to voltage in the TFT circuit or the TFT sensor, then DTC P0713 sets. DTC P0713 is a type C DTC.

Conditions for Running the DTC

The ignition switch is in the ON position.

Conditions for Setting the DTC

The TFT voltage is 4.92 volts or greater for 6 minutes and 40 seconds.

Action Taken When the DTC Sets

    • The PCM does not illuminate the malfunction indicator lamp (MIL).
    • The PCM illuminates the service vehicle soon (SVS) lamp.
    • The PCM freezes transmission adaptive functions.
    • The PCM calculates a default transmission fluid temperature based on engine coolant temperature, intake manifold air temperature, and engine run time.
    • The PCM records the operating conditions when the Conditions for Setting the DTC are met. The PCM stores this information as Failure Records.
    • The PCM stores DTC P0713 in PCM history.

Conditions for Clearing the SVS Lamp/DTC

    • The PCM turns OFF the SVS lamp when the condition no longer exists.
    • A scan tool can clear the SVS Lamp/DTC.
    • The PCM clears the DTC from PCM history if the vehicle completes 40 warm-up cycles without a non-emission-related diagnostic fault occurring.
    • The PCM cancels the DTC default actions when the fault no longer exists and the DTC passes.

Test Description

The numbers below refer to the step numbers on the diagnostic table.

  1. This step tests the TFT sensor signal circuit for being shorted to another circuit within the transmission. If the TFT sensor signal circuit shorts to another circuit, which is carrying voltage greater than five volts, the TFT sensor would become open.

  2. This step tests the TFT sensor signal circuit for being shorted to voltage, which would be the cause for the open in the TFT sensor.

Step

Action

Value(s)

Yes

No

1

Did you perform the Diagnostic System Check - Engine Controls?

--

Go to Step 2

Go to Diagnostic System Check - Engine Controls in Engine Controls - 2.2L (L61)

2

  1. Install a scan tool.
  2. Turn ON the ignition, with the engine OFF.
  3. Important: Before clearing the DTC, use the scan tool in order to record the DTC Failure Records. Using the Clear Info function erases the Failure Records from the PCM.

  4. Record the DTC Failure Records.
  5. Clear the DTC.
  6. Select TFT Sensor on the scan tool.

Does the scan tool display a TFT sensor voltage greater than the specified value?

4.92 V

Go to Step 3

Go to Intermittent Conditions in Engine Controls - 2.2L (L61)

3

  1. Turn OFF the ignition.
  2. Disconnect the AT inline 20-way connector. Additional DTCs may set.
  3. Install the J 44152 jumper harness (20 pins) on the transmission side of the AT inline 20-way connector.
  4. Using the DMM and the J-35616 connector test adapter kit, measure the resistance between terminal L and M of the J 44152 .
  5. Refer to Automatic Transmission Inline 20-Way Connector End View.

Is the resistance less than the specified value?

100K ohms

Go to Step 7

Go to Step 4

4

  1. Test the signal circuit (CKT 1227) of the TFT sensor for an open between the AT inline 20-way connector and the TFT sensor.
  2. Test the low reference circuit (CKT 407) of the TFT sensor for an open between the AT inline 20-way connector and the TFT sensor.
  3. Refer to Testing for Continuity in Wiring Systems.

Did you find an open condition?

--

Go to Step 8

Go to Step 5

5

Measure the resistance between terminal L and all other terminals of the J 44152 .

Is the resistance between terminal L and any other terminal less than the specified value?

1,000 ohms

Go to Step 10

Go to Step 6

6

Test the signal circuit (CKT 1227) of the TFT sensor for a short to voltage between the PCM connector C1 and the AT inline 20-way connector.

Refer to Testing for a Short to Voltage and Wiring Repairs in Wiring Systems.

Did you find and correct the condition?

--

Go to Step 9

Go to Step 9

7

  1. Test the signal circuit (CKT 1227) of the TFT sensor for an open between the PCM connector C1 and the AT inline 20-way connector.
  2. Test the low reference circuit (CKT 407) of the TFT sensor for an open between the PCM connector C2 and the AT inline 20-way connector.

Refer to Testing for Continuity and Wiring Repairs in Wiring Systems.

Did you find and correct an open condition?

--

Go to Step 12

Go to Step 11

8

Replace the automatic transmission wiring harness.

Refer to Wiring Harness Replacement.

Did you complete the replacement?

--

Go to Step 12

--

9

Replace the TFP manual valve position switch.

Refer to Transmission Fluid Pressure Manual Valve Position Switch Replacement

Did you complete the replacement?

--

Go to Step 12

--

10

  1. Replace the automatic transmission wiring harness.
  2. Refer to Wiring Harness Replacement.

  3. Replace the TFP manual valve position switch.
  4. Refer to Transmission Fluid Pressure Manual Valve Position Switch Replacement

Did you complete the replacements?

--

Go to Step 12

--

11

Replace the PCM.

Refer to Powertrain Control Module Replacement in Engine Controls - 2.2L (L61).

Did you complete the replacement?

--

Go to Step 12

--

12

Perform the following procedure in order to verify the repair:

  1. Select DTC.
  2. Select Clear Info.
  3. Operate the vehicle under the following conditions:
  4. • Turn ON the ignition, with the engine OFF.
    • The TFT signal voltage must be less than 4.92 volts for 6 minutes and 40 seconds.
  5. Select Specific DTC.
  6. Enter DTC P0713.

Has the test run and passed?

--

Go to Step 13

Go to Step 2

13

With the scan tool, observe the stored information, capture info and DTC info.

Does the scan tool display any DTCs that you have not diagnosed?

--

Go to Diagnostic Trouble Code (DTC) List in Engine Controls - 2.2L (L61)

System OK

DTC P0713 3.0L (L81)


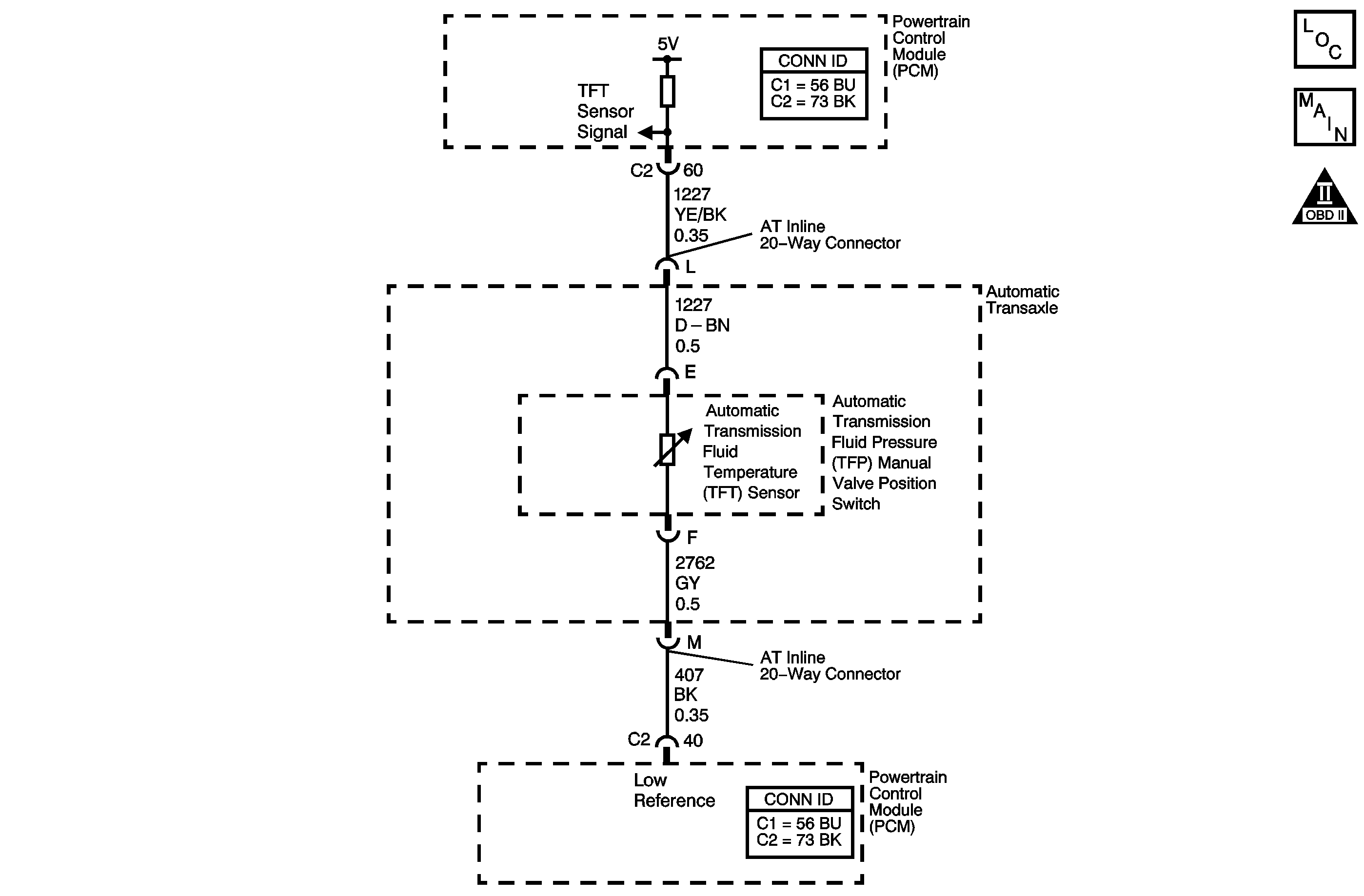
Object Number: 1236648  Size: MF
Master Electrical Component List
Automatic Transmission Controls Schematics 3.0L
OBD II Symbol Description Notice

Circuit Description

The automatic transmission fluid temperature (TFT) sensor is a thermistor. The TFT sensor is part of the automatic transmission fluid pressure (TFP) manual valve position switch. The TCM supplies a 5 volt reference signal to the sensor. When the transmission fluid is cold, the sensor resistance is high and the TCM senses a high signal voltage. As the transmission fluid warms, the sensor resistance lowers and the TCM senses lower voltage. The TCM uses the TFT reading in order to control the torque converter clutch (TCC), line pressure adjustments, and temperature compensated shifts.

When the TCM detects a continuous open or short to voltage in the TFT circuit or the TFT sensor, then DTC P0713 sets. DTC P0713 is a type C DTC.

Conditions for Running the DTC

    • No AT ISS DTCs P0716 or P0717.
    • No VSS DTCs P0502 or P0503.
    • The engine is running for 5 seconds.
    • The TCC slip speed is greater than 120 RPM for 3 minutes and 20 seconds.
    • The output shaft speed is greater than 50 RPM for 6 minutes and 40 seconds.

Conditions for Setting the DTC

The TCM detects a transmission fluid temperature less than -35°C (-31°F) for 25.5 seconds.

Action Taken When the DTC Sets

    • The TCM does not request the ECM to illuminate the malfunction indicator lamp (MIL).
    • The TCM requests the ECM to illuminate the service vehicle soon (SVS) lamp.
    • The TCM freezes transmission adaptive functions.
    • The TCM calculates a default transmission fluid temperature based on engine coolant temperature, intake manifold air temperature, and engine run time.
    • The TCM records the operating conditions when the Conditions for Setting the DTC are met. The TCM stores this information as Failure Records.
    • The TCM stores DTC P0713 in TCM history.

Conditions for Clearing the SVS Lamp/DTC

    • The TCM clears the SVS lamp request when the condition no longer exists.
    • A scan tool can clear the SVS Lamp/DTC.
    • The TCM clears the DTC from TCM history if the vehicle completes 40 warm-up cycles without a non-emission-related diagnostic fault occurring.
    • The TCM cancels the DTC default actions when the fault no longer exists and the DTC passes.

Test Description

The numbers below refer to the step numbers on the diagnostic table.

  1. This step tests the TFT sensor signal circuit for being shorted to another circuit within the transmission. If the TFT sensor signal circuit shorts to another circuit, which is carrying voltage greater than five volts, the TFT sensor would become open.

  2. This step tests the TFT sensor signal circuit for being shorted to voltage, which would be the cause for the open in the TFT sensor.

Step

Action

Value(s)

Yes

No

1

Did you perform the Diagnostic System Check - Engine Controls?

--

Go to Step 2

Go to Diagnostic System Check - Engine Controls in Engine Controls - 3.0L (L81)

2

  1. Install a scan tool.
  2. Turn ON the ignition, with the engine OFF.
  3. Important: Before clearing the DTC, use the scan tool in order to record the Failure Records. Using the Clear Info function erases the Failure Records from the TCM.

  4. Record the DTC Failure Records.
  5. Clear the DTC.
  6. SelectTrans. Fluid Temp. on the scan tool.

Does the scan tool display a transmission fluid temperature less than the specified value?

-35°C (-31°F)

Go to Step 3

Go to Intermittent Conditions in Engine Controls - 3.0L (L81)

3

  1. Turn OFF the ignition.
  2. Disconnect the AT inline 20-way connector. Additional DTCs may set.
  3. Install the J 44152 jumper harness (20 pins) on the transmission side of the AT inline 20-way connector.
  4. Using the DMM and the J-35616 connector test adapter kit, measure the resistance between terminal L and M of the J 44152 .
  5. Refer to Automatic Transmission Inline 20-Way Connector End View

Is the resistance less than the specified value?

100K ohms

Go to Step 7

Go to Step 4

4

  1. Test the signal circuit (CKT 1227) of the TFT sensor for an open between the AT inline 20-way connector and the TFT sensor.
  2. Test the low reference circuit (CKT 586) of the TFT sensor for an open between the AT inline 20-way connector and the TFT sensor.
  3. Refer to Testing for Continuity in Wiring Systems.

Did you find an open condition?

--

Go to Step 8

Go to Step 5

5

Measure the resistance between terminal L and all other terminals of the J 44152 .

Is the resistance between terminal L and any other terminal less than the specified value?

1,000 ohms

Go to Step 10

Go to Step 6

6

Test the signal circuit (CKT 1227) of the TFT sensor for a short to voltage between the TCM connector C2 and the AT inline 20-way connector.

Refer to Testing for a Short to Voltage and Wiring Repairs in Wiring Systems.

Did you find and correct the condition?

--

Go to Step 9

Go to Step 9

7

  1. Test the signal circuit (CKT 1227) of the TFT sensor for an open between the TCM connector C2 and the AT inline 20-way connector.
  2. Test the low reference circuit (CKT 586) of the TFT sensor for an open between the TCM connector C2 and the AT inline 20-way connector.

Refer to Testing for Continuity and Wiring Repairs in Wiring Systems.

Did you find and correct an open condition?

--

Go to Step 12

Go to Step 11

8

Replace the automatic transmission wiring harness.

Refer to Wiring Harness Replacement.

Did you complete the replacement?

--

Go to Step 12

--

9

Replace the TFP manual valve position switch.

Refer to Transmission Fluid Pressure Manual Valve Position Switch Replacement .

Did you complete the replacement?

--

Go to Step 12

--

10

  1. Replace the automatic transmission wiring harness.
  2. Refer to Wiring Harness Replacement.

  3. Replace the TFP manual valve position switch.
  4. Refer to Transmission Fluid Pressure Manual Valve Position Switch Replacement

Did you complete the replacements?

--

Go to Step 12

--

11

Replace the TCM.

Refer to Transmission Control Module Replacement in Engine Controls - 3.0L (L81).

Did you complete the replacement?

--

Go to Step 12

--

12

Perform the following procedure in order to verify the repair:

  1. Select DTC.
  2. Select Clear Info.
  3. Operate the vehicle under the following conditions:
  4. • Turn ON the ignition, with the engine OFF.
    • The transmission fluid temperature must be greater than -35°C (-31°F) for 25.5 seconds.
  5. Select Specific DTC.
  6. Enter DTC P0713.

Has the test run and passed?

--

Go to Step 13

Go to Step 2

13

With the scan tool, observe the stored information, capture info and DTC info.

Does the scan tool display any DTCs that you have not diagnosed?

--

Go to Diagnostic Trouble Code (DTC) List in Engine Controls - 3.0L (L81)

System OK