GM Service Manual Online
For 1990-2009 cars only

DTC P0717 2.2L (L61)


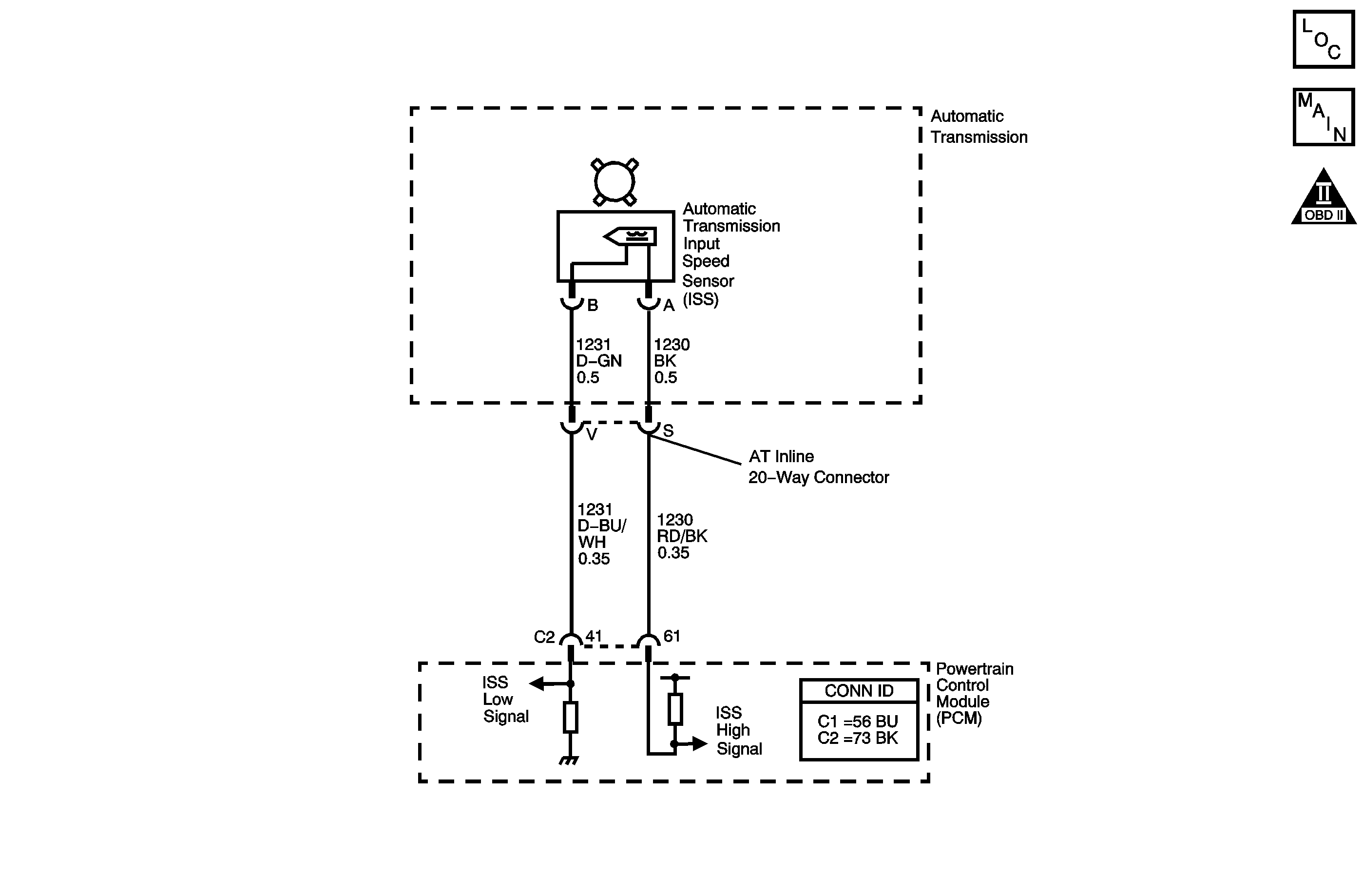
Object Number: 1236649  Size: MF
Master Electrical Component List
Automatic Transmission Controls Schematics 2.2L
OBD II Symbol Description Notice

Circuit Description

The automatic transmission input shaft speed sensor (AT ISS) provides transmission input speed to the PCM. The AT ISS is a permanent magnet generator. The sensor mounts into the transmission case and maintains a slight air gap between the sensor and the drive sprocket. The AT ISS produces an AC voltage as the drive sprocket rotor teeth pass through the magnetic field of the sensor. The AC voltage level increases as the turbine shaft speed increases. The PCM converts the AC voltage into a digital signal. The PCM determines actual turbine speed using the digital signal. The PCM uses the input speed to calculate torque converter slip speed, and gear ratios.

When the PCM detects a low input speed and the vehicle has a large vehicle speed, then DTC P0717 sets. DTC P0717 is a type B DTC.

Conditions for Running the DTC

    • No MAP DTCs P0107 or P0108.
    • No VSS DTCs P0502 or P0503.
    • The engine is running.
    • The vehicle speed is greater than 8 km/h (5 mph).

Conditions for Setting the DTC

The input speed is less than 100 RPM for 5 seconds.

Action Taken When the DTC Sets

    • The PCM illuminates the malfunction indicator lamp (MIL) during the second consecutive trip in which the Conditions for Setting the DTC are met.
    • The PCM commands maximum line pressure.
    • The PCM freezes transmission adaptive functions.
    • The PCM records the operating conditions when the Conditions for Setting the DTC are met. The PCM stores this information as Freeze Frame and Failure Records.
    • The PCM stores DTC P0717 in PCM history during the second consecutive trip in which the Conditions for Setting the DTC are met.

Conditions for Clearing the MIL/DTC

    • The PCM turns OFF the MIL during the third consecutive trip in which the diagnostic test runs and passes.
    • A scan tool can clear the MIL/DTC.
    • The PCM clears the DTC from PCM history if the vehicle completes 40 warm-up cycles without an emission-related diagnostic fault occurring.
    • The PCM cancels the DTC default actions when the ignition switch is OFF long enough in order to power down the PCM.

Diagnostic Aids

Ensure the wiring harness is not stretched too tightly or other components are pressing on the connector body. Also, inspect for proper clearance to any other components and wiring. Refer to Testing for Intermittent Conditions and Poor Connections in Wiring Systems.

Test Description

The numbers below refer to the step numbers on the diagnostic table.

  1. This step tests the AT ISS for correct resistance.

  2. This step tests the AT ISS high signal circuit for being shorted to another circuit within the transmission.

Step

Action

Value(s)

Yes

No

1

Did you perform the Diagnostic System Check - Engine Controls?

--

Go to Step 2

Go to Diagnostic System Check - Engine Controls in Engine Controls - 2.2L (L61)

2

  1. Install a scan tool.
  2. Turn ON the ignition, with the engine OFF.
  3. Important: Before clearing the DTC, use the scan tool in order to record the Freeze Frame and Failure Records. Using the Clear Info function erases the Freeze Frame and Failure Records from the PCM.

  4. Record the DTC Freeze Frame and Failure Records.
  5. Clear the DTC.
  6. Start the engine.
  7. Select Transmission ISS on the scan tool.

Is the transmission input speed greater than the specified value?

500 RPM

Go to Intermittent Conditions in Engine Controls - 2.2L (L61)

Go to Step 3

3

  1. Turn OFF the ignition.
  2. Disconnect the AT inline 20-way connector. Additional DTCs may set.
  3. Install the J 44152 jumper harness (20 pins) on the transmission side of the AT inline 20-way connector.
  4. Using the DMM and the J-35616 connector test adapter kit, measure the resistance between terminal S and V of the J 44152 .
  5. Refer to Automatic Transmission Inline 20-Way Connector End View

Is the resistance within the specified range?

615-835 ohms

Go to Step 7

Go to Step 4

4

Is the resistance greater than the specified value?

835 ohms

Go to Step 5

Go to Step 6

5

  1. Test the high signal circuit (CKT 1230) of the AT ISS for a high resistance or an open between the AT inline 20-way connector and the AT ISS.
  2. Test the low signal circuit (CKT 1231) of the AT ISS for a high resistance or an open between the AT inline 20-way connector and the AT ISS.
  3. Refer to Testing for Continuity in Wiring Systems.

Did you find a high resistance or open condition?

--

Go to Step 11

Go to Step 12

6

Test the high signal circuit (CKT 1230) and the low signal circuit (CKT 1231) of the AT ISS for being shorted together between the AT inline 20-way connector and the AT ISS.

Refer to Circuit Testing in Wiring Systems.

Did you find the condition?

--

Go to Step 11

Go to Step 12

7

Measure the resistance between terminal S of the J 44152 and ground.

Refer to Automatic Transmission Inline 20-Way Connector End View

Is the resistance less than the specified value?

1,000 ohms

Go to Step 11

Go to Step 8

8

Measure the resistance between terminal S and all other terminals, except terminal V, of the J 44152 .

Refer to Automatic Transmission Inline 20-Way Connector End View

Is the resistance between terminal S and any other terminal, except terminal V, less than the specified value?

1,000 ohms

Go to Step 11

Go to Step 9

9

Test the high signal circuit (CKT 1230) of the AT ISS for a high resistance, an open, a short to ground or a short to voltage between the PCM connector C1 and the AT inline 20-way connector.

Refer to Circuit Testing and Wiring Repairs in Wiring Systems.

Did you find and correct a condition?

--

Go to Step 14

Go to Step 10

10

Test the low signal circuit (CKT 1231) of the AT ISS for a high resistance or an open between the PCM connector C2 and the AT inline 20-way connector.

Refer to Testing for Continuity and Wiring Repairs in Wiring Systems.

Did you find and correct a condition?

--

Go to Step 14

Go to Step 13

11

Replace the automatic transmission wiring harness.

Refer to Wiring Harness Replacement.

Did you complete the replacement?

--

Go to Step 14

--

12

Replace the AT ISS.

Refer to Input Speed Sensor Removal in the 4T40-E/4T45-E section of the Transmission Unit Repair Manual.

Did you complete the replacement?

--

Go to Step 14

--

13

Replace the PCM.

Refer to Powertrain Control Module Replacement in Engine Controls - 2.2L (L61).

Did you complete the replacement?

--

Go to Step 14

--

14

Perform the following procedure in order to verify the repair:

  1. Select DTC.
  2. Select Clear Info.
  3. Operate the vehicle under the following conditions:
  4. • Start the engine.
    • The transmission input speed must be greater than 450 RPM for 2 seconds.
  5. Select Specific DTC.
  6. Enter DTC P0717.

Has the test run and passed?

--

Go to Step 15

Go to Step 2

15

With the scan tool, observe the stored information, capture info and DTC info.

Does the scan tool display any DTCs that you have not diagnosed?

--

Go to Diagnostic Trouble Code (DTC) List in Engine Controls - 2.2L (L61)

System OK

DTC P0717 3.0L (L81)


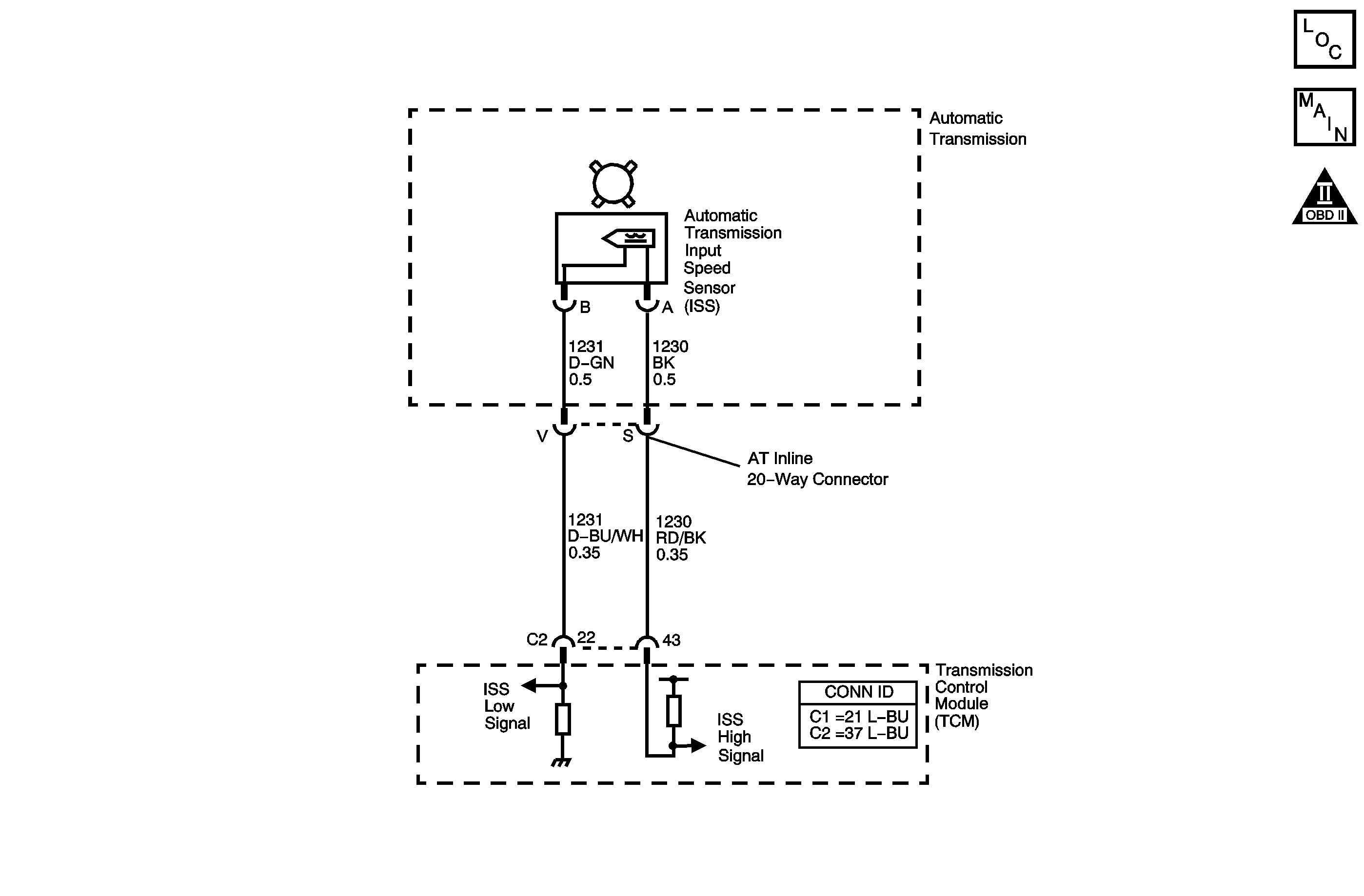
Object Number: 1236652  Size: MF
Master Electrical Component List
Automatic Transmission Controls Schematics 3.0L
OBD II Symbol Description Notice

Circuit Description

The automatic transmission input shaft speed sensor (AT ISS) provides transmission input speed to the TCM. The AT ISS is a permanent magnet generator. The sensor mounts into the transmission case and maintains a slight air gap between the sensor and the drive sprocket. The AT ISS produces an AC voltage as the drive sprocket rotor teeth pass through the magnetic field of the sensor. The AC voltage level increases as the turbine shaft speed increases. The TCM converts the AC voltage into a digital signal. The TCM determines actual turbine speed using the digital signal. The TCM uses the input speed to calculate torque converter slip speed, and gear ratios.

When the TCM detects a low input speed and the vehicle has a large vehicle speed, then DTC P0717 sets. DTC P0717 is a type B DTC.

Conditions for Running the DTC

    • No MAP DTCs P0107 or P0108.
    • No MAF DTCs P0101, P0102, or P0103.
    • No VSS DTCs P0502 or P0503.
    • The engine is running for 5 seconds.
    • The vehicle speed is greater than 8 km/h (5 mph).
    • The engine torque is between 100-150 N·m (74-110 lb ft)

Conditions for Setting the DTC

The input speed is less than 100 RPM for 5 seconds.

Action Taken When the DTC Sets

    • The TCM requests the ECM to illuminate the malfunction indicator lamp (MIL).
    • The TCM commands maximum line pressure.
    • The TCM freezes transmission adaptive functions.
    • The ECM records the operating conditions when the Conditions for Setting the DTC are met. The ECM stores this information as Freeze Frame and Failure Records.
    • The TCM records the operating conditions when the Conditions for Setting the DTC are met. The TCM stores this information as Failure Records.
    • The TCM stores DTC P0717 in TCM history during the second consecutive trip in which the Conditions for Setting the DTC are met.

Conditions for Clearing the MIL/DTC

    • The ECM turns OFF the MIL after the third consecutive drive trip in which the TCM does not send a MIL illumination request.
    • A scan tool can clear the MIL/DTC.
    • The TCM clears the DTC from TCM history if the vehicle completes 40 warm-up cycles without an emission-related diagnostic fault occurring.
    • The TCM cancels the DTC default actions when the ignition switch is OFF long enough in order to power down the TCM.

Diagnostic Aids

Ensure the wiring harness is not stretched too tightly or other components are pressing on the connector body. Also, inspect for proper clearance to any other components and wiring. Refer to Testing for Intermittent Conditions and Poor Connections in Wiring Systems.

Test Description

The numbers below refer to the step numbers on the diagnostic table.

  1. This step tests the AT ISS for correct resistance.

  2. This step tests the AT ISS high signal circuit for being shorted to another circuit within the transmission.

Step

Action

Value(s)

Yes

No

1

Did you perform the Diagnostic System Check - Engine Controls?

--

Go to Step 2

Go to Diagnostic System Check - Engine Controls in Engine Controls - 3.0L (L81)

2

  1. Install a scan tool.
  2. Turn ON the ignition, with the engine OFF.
  3. Important: Before clearing the DTC, use the scan tool in order to record the Freeze Frame and Failure Records. Using the Clear Info function erases the Freeze Frame and Failure Records from both the ECM and the TCM.

  4. Record the DTC Freeze Frame and Failure Records.
  5. Clear the DTC.
  6. Start the engine.
  7. Select Transmission ISS on the scan tool.

Is the transmission input speed greater than the specified value?

500 RPM

Go to Intermittent Conditions in Engine Controls - 3.0L (L81)

Go to Step 3

3

  1. Turn OFF the ignition.
  2. Disconnect the AT inline 20-way connector. Additional DTCs may set.
  3. Install the J 44152 jumper harness (20 pins) on the transmission side of the AT inline 20-way connector.
  4. Using the DMM and the J-35616 connector test adapter kit, measure the resistance between terminal S and V of the J 44152 .
  5. Refer to Automatic Transmission Inline 20-Way Connector End View

Is the resistance within the specified range?

615-835 ohms

Go to Step 7

Go to Step 4

4

Is the resistance greater than the specified value?

835 ohms

Go to Step 5

Go to Step 6

5

  1. Test the high signal circuit (CKT 1230) of the AT ISS for a high resistance or an open between the AT inline 20-way connector and the AT ISS.
  2. Test the low signal circuit (CKT 1231) of the AT ISS for a high resistance or an open between the AT inline 20-way connector and the AT ISS.
  3. Refer to Testing for Continuity in Wiring Systems.

Did you find a high resistance or open condition?

--

Go to Step 11

Go to Step 12

6

Test the high signal circuit (CKT 1230) and the low signal circuit (CKT 1231) of the AT ISS for being shorted together between the AT inline 20-way connector and the AT ISS.

Refer to Circuit Testing in Wiring Systems.

Did you find the condition?

--

Go to Step 11

Go to Step 12

7

Measure the resistance between terminal S of the J 44152 and ground.

Refer to Automatic Transmission Inline 20-Way Connector End View

Is the resistance less than the specified value?

1,000 ohms

Go to Step 11

Go to Step 8

8

Measure the resistance between terminal S and all other terminals, except terminal V, of the J 44152 .

Refer to Automatic Transmission Inline 20-Way Connector End View

Is the resistance between terminal S and any other terminal, except terminal V, less than the specified value?

1,000 ohms

Go to Step 11

Go to Step 9

9

Test the high signal circuit (CKT 1230) of the AT ISS for a high resistance, an open, a short to ground or a short to voltage between the PCM connector C2 and the AT inline 20-way connector.

Refer to Circuit Testing and Wiring Repairs in Wiring Systems.

Did you find and correct a condition?

--

Go to Step 14

Go to Step 10

10

Test the low signal circuit (CKT 1231) of the AT ISS for a high resistance or an open between the PCM connector C2 and the AT inline 20-way connector.

Refer to Testing for Continuity and Wiring Repairs in Wiring Systems.

Did you find and correct a condition?

--

Go to Step 14

Go to Step 13

11

Replace the automatic transmission wiring harness.

Refer to Wiring Harness Replacement.

Did you complete the replacement?

--

Go to Step 14

--

12

Replace the AT ISS.

Refer to Input Speed Sensor Removal in the 4T40-E/4T45-E section of the Transmission Unit Repair Manual.

Did you complete the replacement?

--

Go to Step 14

--

13

Replace the TCM.

Refer to Transmission Control Module Replacement

Did you complete the replacement?

--

Go to Step 14

--

14

Perform the following procedure in order to verify the repair:

  1. Select DTC.
  2. Select Clear Info.
  3. Operate the vehicle under the following conditions:
  4. • Start the engine.
    • The transmission input speed must be greater than 450 RPM for 2 seconds.
  5. Select Specific DTC.
  6. Enter DTC P0717.

Has the test run and passed?

--

Go to Step 15

Go to Step 2

15

With the scan tool, observe the stored information, capture info and DTC info.

Does the scan tool display any DTCs that you have not diagnosed?

--

Go to Diagnostic Trouble Code (DTC) List in Engine Controls - 3.0L (L81)

System OK