GM Service Manual Online
For 1990-2009 cars only

Object Number: 1250589  Size: MF
Master Electrical Component List
Washer and Wiper Controls

Circuit Description

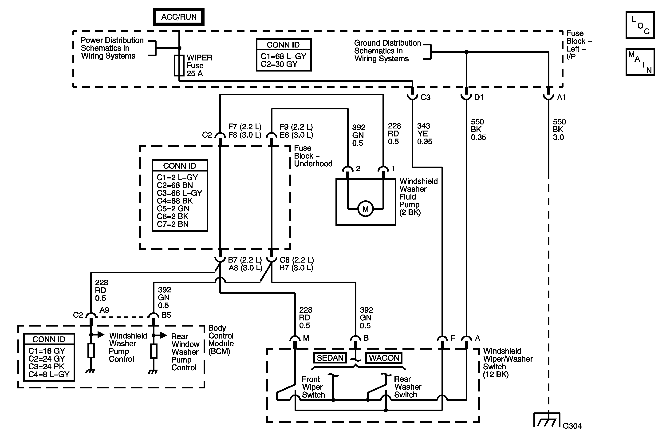
The body control module (BCM) monitors the rear window washer pump control circuit 392. When a rear windshield wash is requested for more than 2 minutes, circuit 392 at battery voltage, the BCM will turn OFF the rear wiper motor if the rear wiper is NOT requested by the wiper switch.

Power for the rear washer motor is supplied through the wiper fuse and rear washer switch. Grounding for the rear washer motor is through the OFF position of the front washer motor switch.

Conditions for Running the DTC

Ignition is in RUN or ACC position.

Conditions for Setting the DTC

Rear window washer pump control circuit 392 at battery voltage for 2 minutes.

Actions Taken When the DTC Sets

No light will illuminate in I/P.

Conditions for Clearing the DTC

    • A current DTC clears when the fault is no longer present.
    • A history DTC clears when the module ignition cycle counter reaches the reset threshold, without a repeat of the fault.

Diagnostic Aids

    • Inspect wiring harness for damage. Check for broken or chaffed insulation.
    • If fault is suspected to be intermittent, wiggling harness wiring may help in locating fault.

Step

Action

Yes

No

Schematic Reference: Wiper/Washer Schematics

Connector End View Reference: Master Electrical Component List in Wiring Systems

1

Did you perform the Wiper/Washer Diagnostic System Check?

Go to Step 2

Go to Diagnostic System Check - Wiper/Washer

2

  1. Turn ON the ignition, with the engine OFF.
  2. With a scan tool, observe the rear washer motor input in the body control module (BCM) wiper/washer data list, while cycling the rear washer switch.

Does the scan tool indicate correct washer pump status, ON/OFF?

Go to Diagnostic Aids

Go to Step 3

3

  1. Turn OFF the ignition.
  2. Disconnect the windshield wiper/washer switch.
  3. Turn ON the ignition, with the engine OFF.
  4. With a scan tool, observe the rear washer motor input.

Does the scan tool indicate switch is OFF?

Go to Step 4

Go to Step 5

4

Using a fused jumper, jumper the wiper fuse circuit to the windshield washer pump control circuit and then jumper the ground circuit to the rear window washer pump control circuit at the wiper switch harness connector.

Does the washer pump motor run?

Go to Step 7

Go to Step 6

5

  1. Turn OFF the ignition.
  2. Disconnect the BCM connector C2.
  3. Turn ON the ignition, with the engine OFF.
  4. Test the windshield washer pump control circuit and the rear window washer pump control circuit for a short to voltage. Refer to Circuit Testing and Wiring Repairs in Wiring Systems.

Did you find and correct the condition?

Go to Step 9

Go to Step 8

6

Repair an open in the rear window washer pump control circuit or the ground circuit. Refer to Circuit Testing and Wiring Repairs in Wiring Systems.

Did you complete the repair?

Go to Step 9

--

7

Replace the windshield wiper/washer switch. Refer to Turn Signal Multifunction Switch Replacement in Steering Wheel and Column.

Did you complete the replacement?

Go to Step 9

--

8

Important: Perform the programming or setup procedure for the replaced control module if required.

Replace the BCM. Refer to Body Control Module Replacement in Body Control System for applicable replacement procedure.

Did you complete the replacement?

Go to Step 9

--

9

  1. Use the scan tool to clear the DTCs.
  2. Operate the vehicle within the conditions for running the DTC as specified in the supporting text.

Does the DTC reset?

Go to Step 2

System OK