GM Service Manual Online
For 1990-2009 cars only
Makes
🢒
Saturn
🢒
2004
🢒
VUE - FWD
🢒 Power, Ground, and Serial Data
Power, Ground, and Serial Data
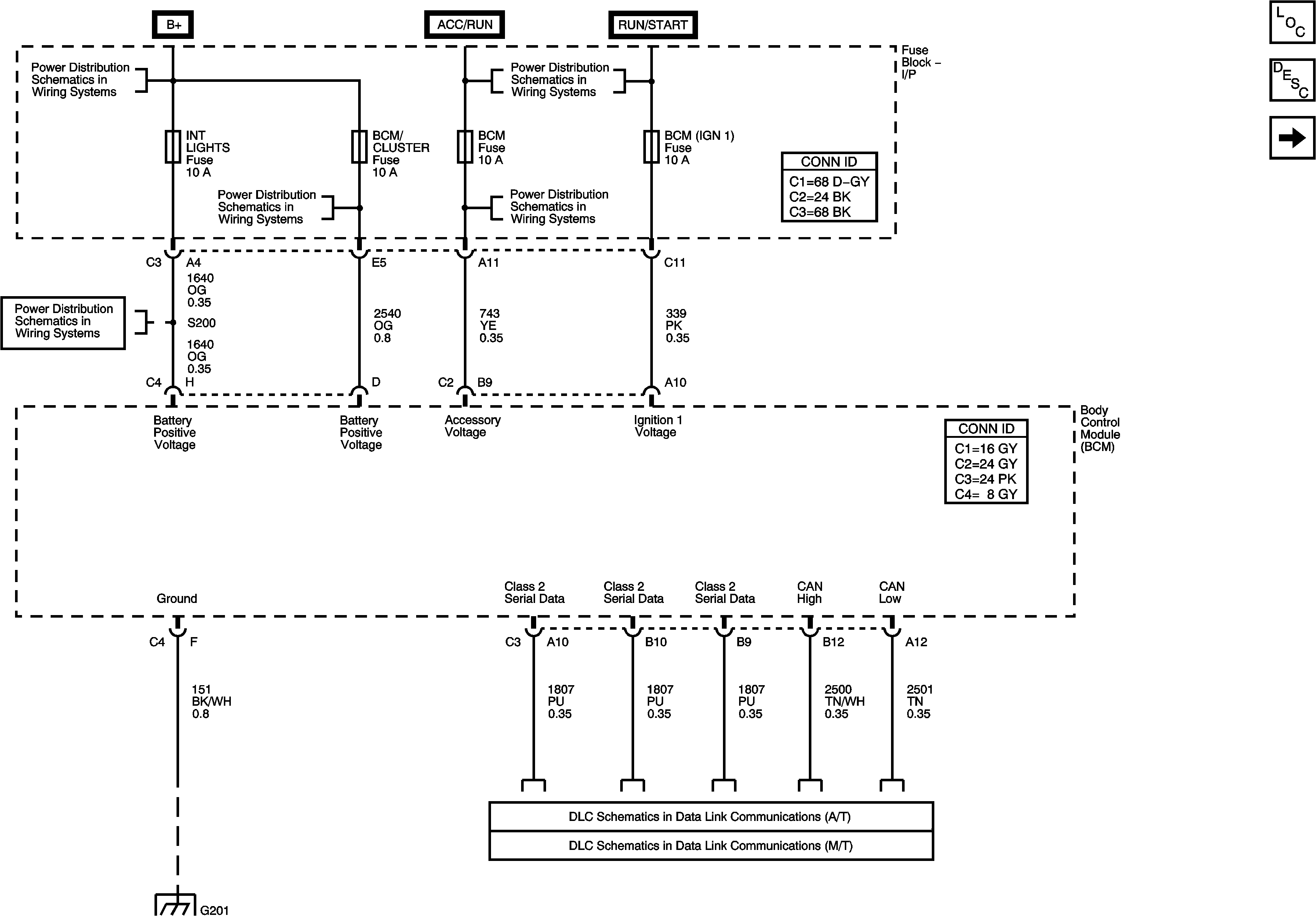
BCM Power, Ground, and Serial Data
Master Electrical Component List
Body Control System Description and Operation
Lighting, Defogger, and Wiper/Washer Subsystem References
Battery Power to the Fuse Block, Starter, and Generator
RADIO, BCM/CLUSTER, INT LIGHTS, PARK, HAZARD, and LOCK MIRROR Fuses
Ignition Switch
TURN,BCM,RADIO(IGN),HVAC, and HTD SEATS Fuses
RADIO, BCM/CLUSTER, INT LIGHTS, PARK, HAZARD, and LOCK MIRROR Fuses
RADIO, BCM/CLUSTER, INT LIGHTS, PARK, HAZARD, and LOCK MIRROR Fuses
DLC Schematic
DLC SChematic