GM Service Manual Online
For 1990-2009 cars only

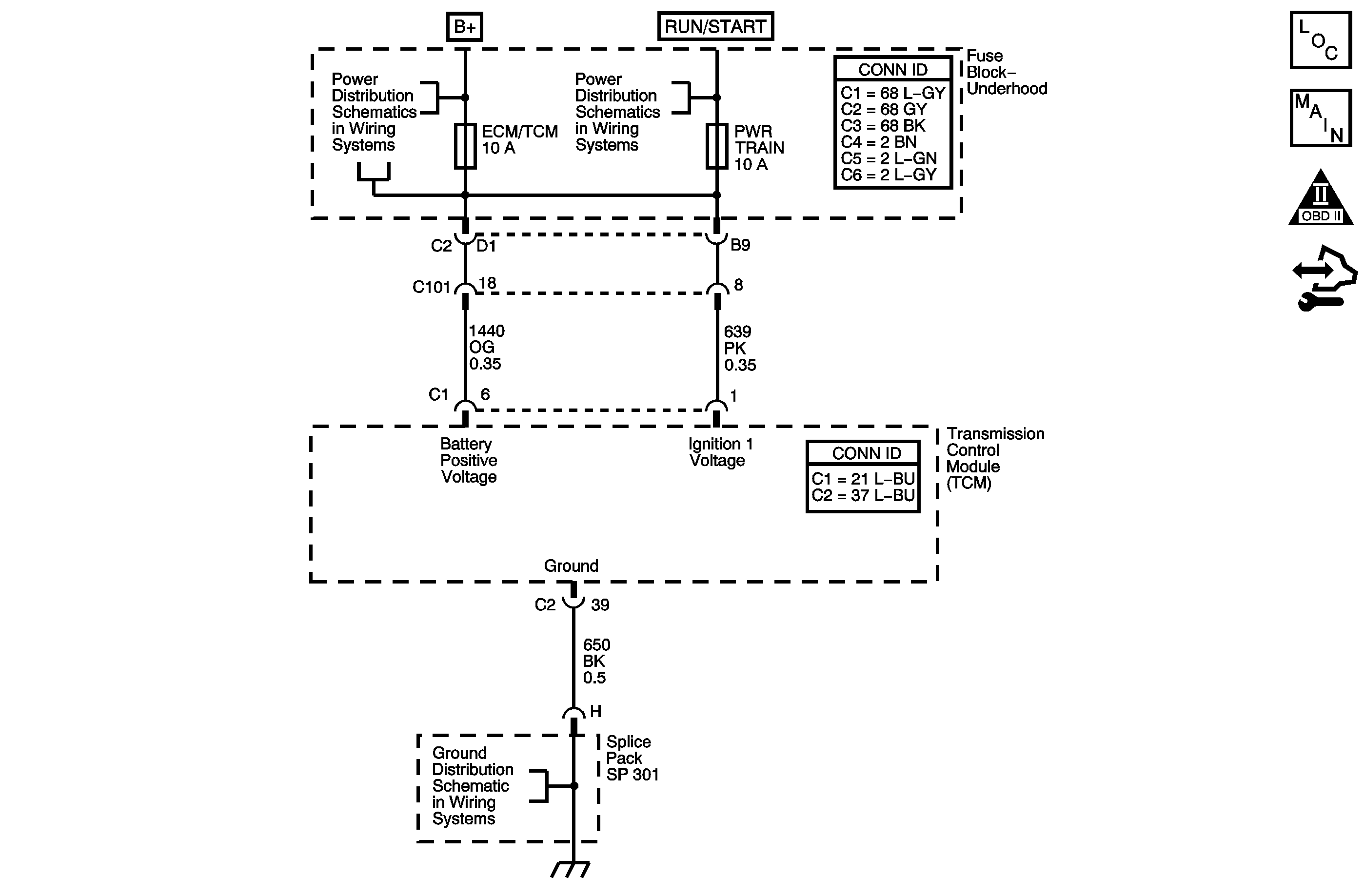
Object Number: 1538258  Size: MF
Master Electrical Component List
Automatic Transmission Controls Schematics
OBD II Symbol Description Notice
Control Module References

Circuit Description

The transmission control module (TCM) samples the system voltage on the Ignition 1 circuit every 0.1 seconds. Lower than normal voltage may be inadequate to operate the transmission control solenoids properly. Improper solenoid operation may cause erratic transmission operation, which may result in internal damage.

If the TCM detects low voltage, DTC P0562 sets. DTC P0562 is a type A DTC.

DTC Descriptor

This diagnostic procedure supports the following DTC:

DTC P0562 System Voltage Low

Conditions for Running The DTC

The engine speed is 1,200 RPM or greater.

Conditions for Setting The DTC

The TCM detects system voltage is 8 volts or less for 10 seconds.

Action Taken When the DTC Sets

    • The TCM requests the engine control module (ECM) to illuminate the malfunction indicator lamp (MIL).
    • The TCM turns off High Side Driver 1 and High Side Driver 2.
    • The TCM commands an immediate landing to 2nd gear.
    • The TCM commands maximum line pressure.
    • The TCM inhibits TCC engagement.
    • The TCM freezes transmission adaptive functions.
    • The ECM records the operating conditions when the Conditions for Setting the DTC are met. The ECM stores this information as Freeze Frame and Failure Records.
    • The TCM records the operating conditions when the Conditions for Setting the DTC are met. The TCM stores this information as Failure Records.
    • The TCM stores DTC P0562 in TCM history.

Conditions for Clearing the MIL/DTC

    • The ECM turns OFF the MIL after the third consecutive drive trip in which the TCM does not send a MIL illumination request.
    • A scan tool can clear the MIL/DTC.
    • The TCM clears the DTC from TCM history if the vehicle completes 40 warm-up cycles without an emission related diagnostic fault occurring.
    • The TCM cancels the DTC default actions when the ignition switch is OFF long enough in order to power down the TCM.

Diagnostic Aids

Inspect for the following conditions:

    • Loose or damaged terminals at the generator
    • Loose or worn generator drive belt

Test Description

The numbers below refer to the step numbers on the diagnostic table.

  1. This step tests the charging system voltage with a nominal load.

  2. This step obtains the ignition voltage measurement reported by the TCM.

  3. This step tests the voltage drop from the battery and ignition voltage input at the TCM.

  4. This step tests the voltage drop from the ground terminals of the TCM to the ground terminal of the battery.

Step

Action

Values

Yes

No

1

Did you perform the Diagnostic System Check - Vehicle?

--

Go to Step 2

Go to Diagnostic System Check - Vehicle in Vehicle DTC Information

2

  1. Install a scan tool.
  2. Turn ON the ignition, with the engine OFF.
  3. Important: 

       • Before clearing the DTC, use the scan tool in order to record the Freeze Frame and Failure Records. Using the Clear Info function erases the Freeze Frame and Failure Records from both the ECM and the TCM.
       • Record the DTC Freeze Frame and Failure Records.

  4. Record the Failure Records.
  5. Clear the DTC.
  6. Using the DMM, measure and record the battery voltage across the battery terminals.

Is the voltage higher than the specified value?

8 V

Go to Step 3

Go to Battery Inspection/Test in Engine Electrical

3

  1. Start the engine.
  2. Allow the engine to warm up to normal operating temperature.

Is the charge indicator light ON?

--

Go to Diagnostic System Check - Vehicle in Vehicle DTC Information

Go to Step 4

4

  1. Turn ON the high beam headlamps.
  2. Turn the HVAC blower control to the highest speed setting.
  3. Turn ON the rear window defroster.
  4. Increase the engine speed to 1,200 RPM.
  5. Observe the DMM battery voltage and record your voltage reading for reference.

Is the voltage within the specified range?

12.5-14.5 V

Go to Step 5

Go to Charging System Test in Engine Electrical

5

  1. Increase the engine speed to 1,200 RPM.
  2. Observe the Ignition Voltage with the scan tool.

Is the scan tool Ignition Voltage within the specified range?

12.5-14.5 V

Go to Intermittent Conditions in Engine Controls - 2.2L

Go to Step 6

6

  1. Turn OFF the ignition.
  2. Disconnect the TCM connector.
  3. Probe the battery positive and the ignition 1 voltage circuits of the TCM connector with the ground probe of the DMM. Refer to Circuit Testing in Wiring Systems.
  4. Connect the positive lead of the DMM to the battery positive terminal.
  5. Turn ON the ignition, with the engine OFF.

Are the voltage drop measurements less than the specified value?

0.5 V

Go to Step 10

Go to Step 7

7

Inspect the 10 amp ECM/TCM fuse and the 10 amp PWR TRAIN fuse for an open. Refer to Circuit Protection - Fuses in Wiring Systems.

Did you find an open fuse?

--

Go to Step 8

Go to Step 9

8

Repair the short to ground in the battery positive voltage circuit or the ignition 1 voltage circuit. Refer to Wiring Repairs in Wiring Systems.

Is the repair complete?

--

Go to Step 13

--

9

Test the battery positive voltage circuit or the ignition 1 voltage circuit for an open or high resistance condition. Refer to Circuit Testing and Wiring Repairs in Wiring Systems.

Did you find and correct a condition?

--

Go to Step 13

Go to Step 10

10

  1. Turn ON the ignition, with the engine OFF.
  2. Using the positive probe of the DMM, probe the ground circuit of the TCM connector. Connect the negative lead of the DMM to the battery ground terminal. Observe and record the voltage measurement. Refer to Measuring Voltage Drop in Wiring Systems.

Are all of the voltage drop measurements less than the specified value?

0.2 V

Go to Step 12

Go to Step 11

11

Repair the open or high resistance condition in the TCM ground circuits. Refer to Wiring Repairs in Wiring Systems.

Is the repair complete?

--

Go to Step 13

--

12

Replace the TCM. Refer to Control Module References in Computer/Integrating Systems for replacement, setup, and programming.

Is the replacement complete?

--

Go to Step 13

--

13

Perform the following procedure in order to verify the repair:

  1. Select DTC.
  2. Select Clear Info.
  3. Operate the vehicle under the following conditions:
  4. • Start the engine.
    • Allow the engine to warm up to normal operating temperature.
    • Raise the engine speed to at least 1,200 RPM.
    • TCM voltage must be greater than 8 volts.
  5. Select Specific DTC.
  6. Enter DTC P0562.

Has the test run and passed?

--

Go to Step 14

Go to Step 2

14

With the scan tool, observe the stored information, capture info and DTC info.

Does the scan tool display any DTCs that you have not diagnosed?

--

Go to Diagnostic Trouble Code (DTC) List - Vehicle in Vehicle DTC Information

System OK