GM Service Manual Online
For 1990-2009 cars only
Makes
🢒
Suzuki
🢒
2009
🢒
XL-7 FWD
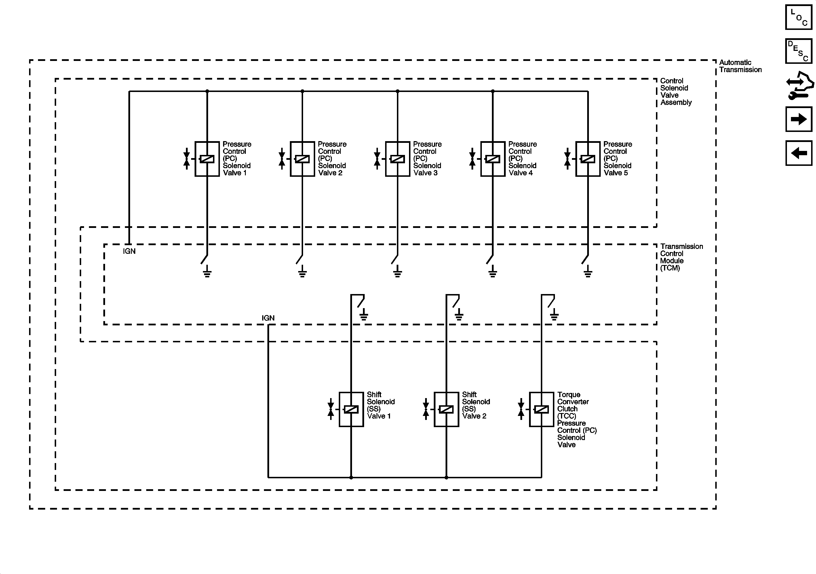
🢒 Pressure and Shift Controls
Pressure and Shift Controls
Pressure and Shift Controls
Master Electrical Component List
Transmission Component and System Description
Control Module References
ISS, OSS, TFP, TFT
Module Power, Ground and Data Communication