GM Service Manual Online
For 1990-2009 cars only
Figure 1:

Cell 44: PWR, GND, and Stoplamp/BTSI Switch


Object Number: 375171  Size: FS
ABS Components
ABS Description
Cell 44: ABS/TCS Switch, UART, PCM, and Traction Control Switch
Handling ESD Sensitive Parts Notice
Cell 10: Battery and Underhood Fuse Blocks
Cell 10: MISC LGT, COOL FNS, C/LTR/RDO/CLSTR/MISC, IGN SW, RR DEFOG/PWRSEAT, ABS SOL, and ABS MOT Fuses
Cell 10: MISC LGT, COOL FNS, C/LTR/RDO/CLSTR/MISC, IGN SW, RR DEFOG/PWRSEAT, ABS SOL, and ABS MOT Fuses
Cell 10: ABS/CCR and CLG FAN/TCC Fuses
Cell 14: G104
Cell 110: Turn/Hazard Switch and Stoplamp/BTSI Switch
Cell 110: Turn/Hazard Switch and Stoplamp/BTSI Switch
Cell 110: Stoplamp/BTSI Switch
Cell 110: Stoplamp/BTSI Switch
Figure 2:

Cell 44: ABS/TCS Switch, UART, PCM, and Traction Control Switch


Object Number: 375172  Size: FS
ABS Components
ABS Description
Cell 44: Wheel Speed Sensors and Variable Power Steering Actuator
Cell 44: PWR, GND, and Stoplamp/BTSI Switch
Handling ESD Sensitive Parts Notice
Handling ESD Sensitive Parts Notice
Handling ESD Sensitive Parts Notice
Cell 50: UART Serial Data Line
Cell 14: G202
Cell 14: G105 (3 of 4)
Cell 14: G105 (2 of 4)
Cell 14: G102 and G105 (1 of 4)
Cell 44: Pontiac Indicators
Figure 3:

Cell 44: Wheel Speed Sensors and Variable Power Steering Actuator


Object Number: 375173  Size: FS
ABS Components
ABS Description
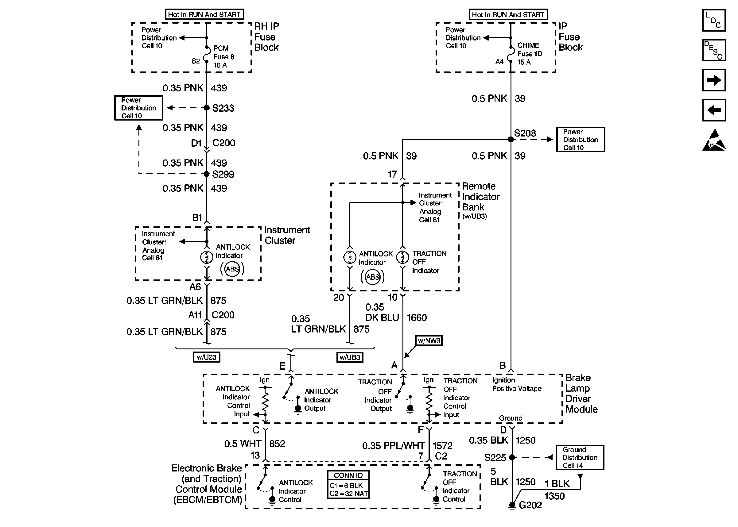
Cell 44: Buick Indicators
Cell 44: ABS/TCS Switch, UART, PCM, and Traction Control Switch
Handling ESD Sensitive Parts Notice
Figure 4:

Cell 44: Buick Indicators


Object Number: 375174  Size: FS
ABS Components
ABS Description
Cell 44: Pontiac Indicators
Cell 44: Wheel Speed Sensors and Variable Power Steering Actuator
Handling ESD Sensitive Parts Notice
Cell 10: IGN SW Fuse (1 of 2)
Cell 10: IGN SW Fuse (1 of 2)
Cell 10: PCM Fuse
Cell 10: CHIME Fuse
Cell 14: G202
Cell 80: IP Fuse Block
Cell 81: IP Fuse Block
Figure 5:

Cell 44: Pontiac Indicators


Object Number: 375175  Size: FS
ABS Components
ABS Description
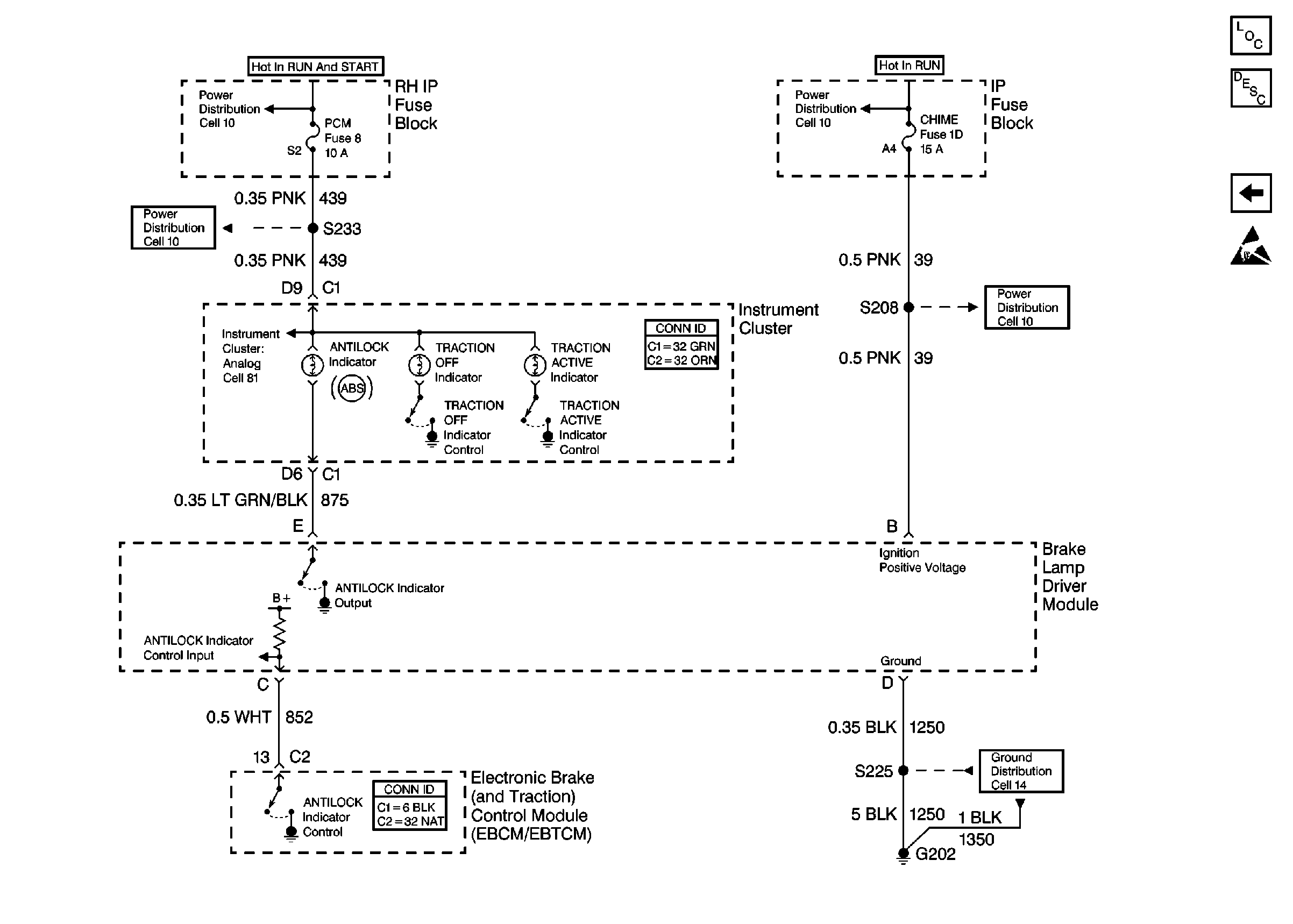
Cell 44: Oldsmobile Indicators
Cell 44: Buick Indicators
Handling ESD Sensitive Parts Notice
Cell 10: IGN SW Fuse (1 of 2)
Cell 10: IGN SW Fuse (1 of 2)
Cell 10: PCM Fuse
Cell 10: CHIME Fuse
Cell 14: G202
Cell 81: Brake Indicator
Cell 81: Brake Indicator
Cell 44: ABS/TCS Switch, UART, PCM, and Traction Control Switch
Figure 6:

Cell 44: Oldsmobile Indicators


Object Number: 375176  Size: FS
ABS Components
ABS Description
Cell 44: Pontiac Indicators
Handling ESD Sensitive Parts Notice
Cell 10: IGN SW Fuse (1 of 2)
Cell 10: IGN SW Fuse (1 of 2)
Cell 10: PCM Fuse
Cell 10: CHIME Fuse
Cell 14: G202
Cell 81: Oldsmobile with UH8