GM Service Manual Online
For 1990-2009 cars only
Makes
🢒
Buick
🢒
1999
🢒
LeSabre
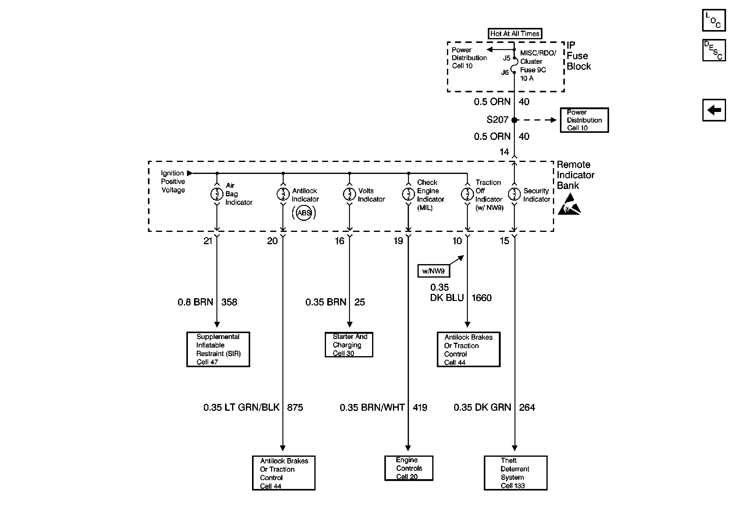
🢒 Cell 81: IP Fuse Block
Cell 81: IP Fuse Block
Cell 81: IP Fuse Block
Instrument Cluster and HUD Components
Instrument Cluster Circuit Description
Cell 81: Remote Indicator Bank
Handling ESD Sensitive Parts Notice
Theft Deterrent System Schematics
Power Distribution Schematics
Engine Controls Schematics
Starting and Charging Schematics
SIR Schematics
Antilock Brake System Schematics
Antilock Brake System Schematics
Power Distribution Schematics