GM Service Manual Online
For 1990-2009 cars only
Makes
🢒
Buick
🢒
1999
🢒
LeSabre
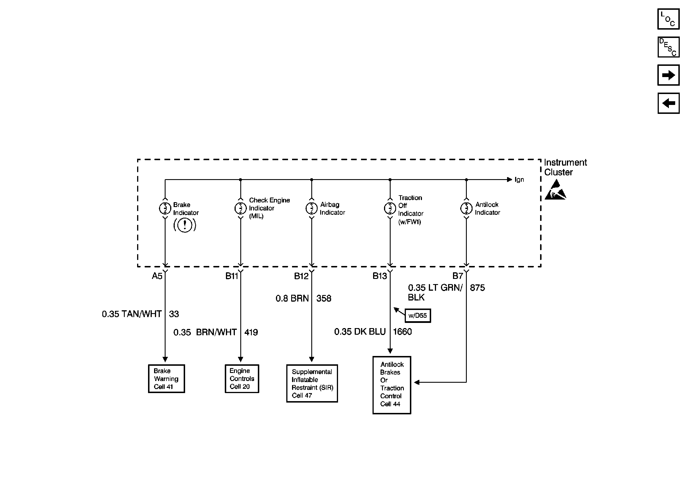
🢒 Cell 81: Brake Indicator
Cell 81: Brake Indicator
Cell 81: Brake Indicator
Instrument Cluster and HUD Components
Instrument Cluster Circuit Description
Cell 81: IP Fuse Block
Cell 81: Windshield Washer Fluid Level Switch
Brake Warning System Schematics Oldsmobile
Engine Controls Schematics
SIR Schematics
Antilock Brake System Schematics
Handling ESD Sensitive Parts Notice