GM Service Manual Online
For 1990-2009 cars only
Makes
🢒
Buick
🢒
1999
🢒
LeSabre
🢒
Body and Accessories
🢒
Cruise Control
🢒 Cruise Control Schematics
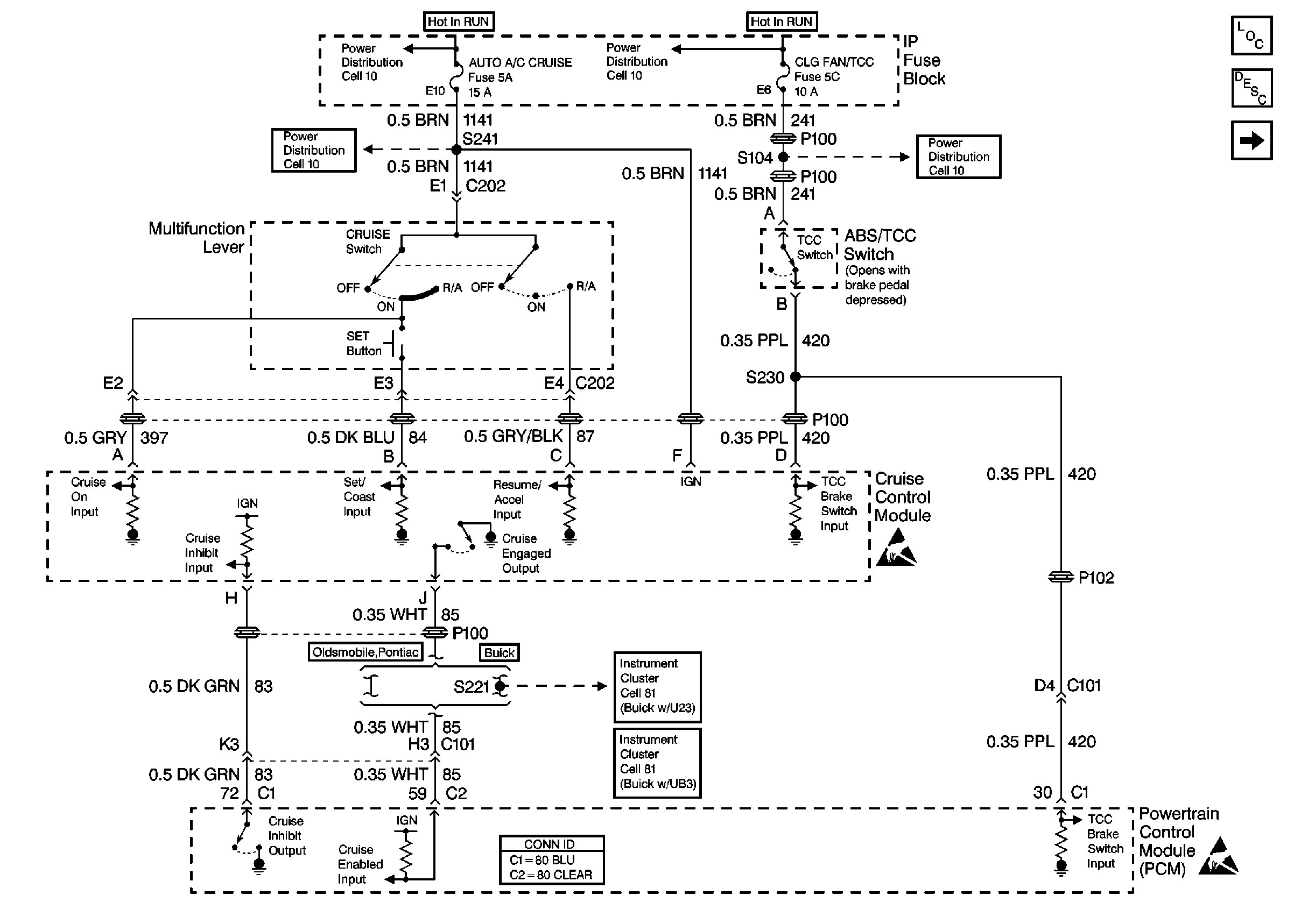
Figure
1:
Cell 34: Multifunction Lever
Cruise Control Components
Cruise Control System Circuit Description
Cell 34: VSS and Stoplamp Switch
Power Distribution Schematics
Power Distribution Schematics
Power Distribution Schematics
Instrument Cluster: Analog Schematics Buick with U23
Cruise Control Connector End Views
Handling ESD Sensitive Parts Notice
Handling ESD Sensitive Parts Notice
Instrument Cluster: Analog Schematics Buick with UB3
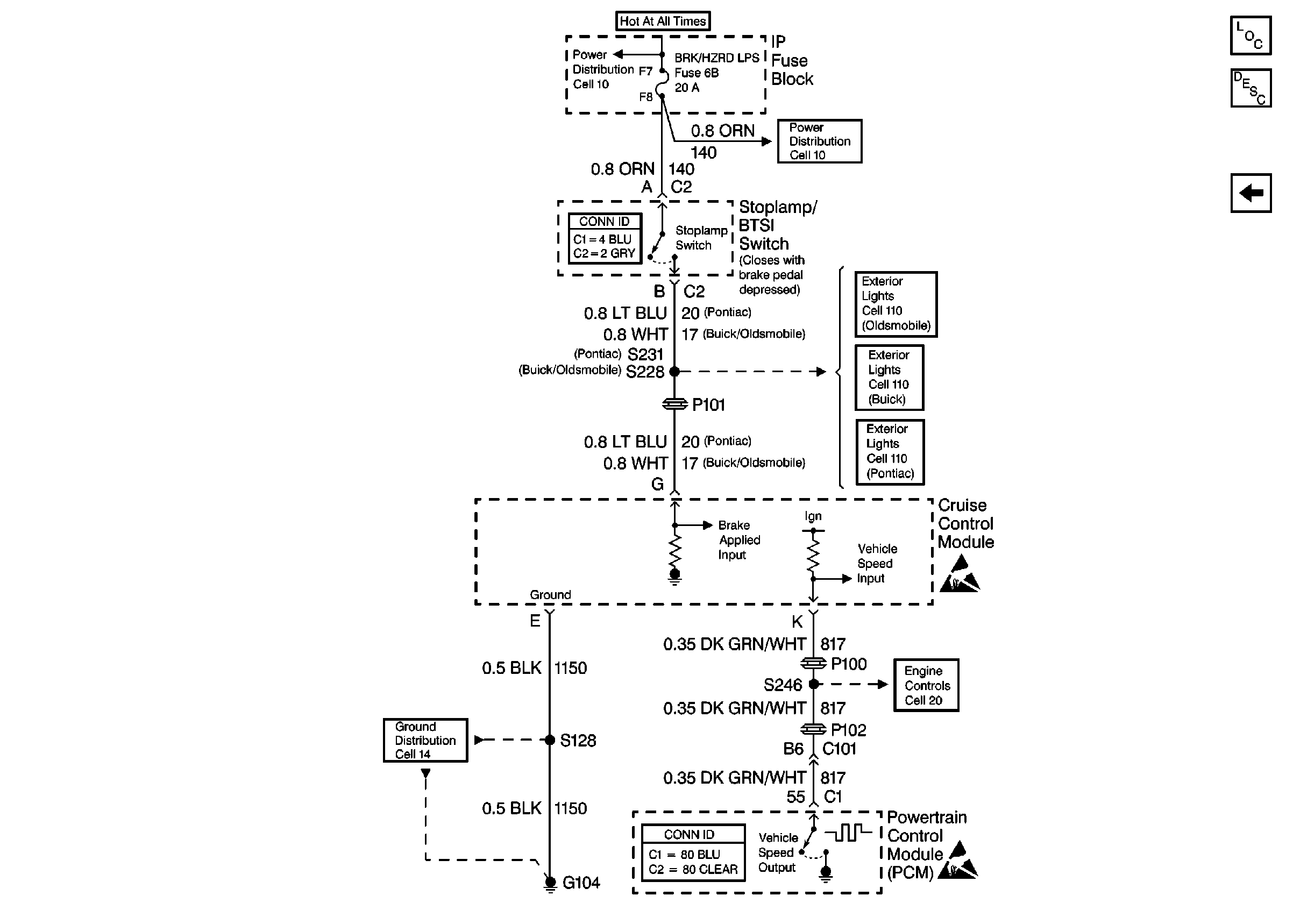
Figure
2:
Cell 34: VSS and Stoplamp Switch
Cruise Control Components
Cruise Control System Circuit Description
Cell 34: Multifunction Lever
Power Distribution Schematics
Power Distribution Schematics
Ground Distribution Schematics
Cell 110: Turn/Hazard Switch and Stoplamp/BTSI Switch
Cell 110: Turn/Hazard Switch and Stoplamp/BTSI Switch
Cell 110: Stoplamp/BTSI Switch
Handling ESD Sensitive Parts Notice
Powertrain Control Module Connector End Views