GM Service Manual Online
For 1990-2009 cars only

Instrument Cluster: Analog Schematics Buick with U23

Figure 1:

Cell 80: IP Fuse Block


Object Number: 342543  Size: FS
Instrument Cluster and HUD Components
Instrument Cluster Circuit Description
Cell 80: Instrument Cluster
Handling ESD Sensitive Parts Notice
Handling ESD Sensitive Parts Notice
Starting and Charging Schematics
Cruise Control Schematics
Ground Distribution Schematics
Power Distribution Schematics
Powertrain Control Module Connector End Views
Antilock Brake System Schematics
Power Distribution Schematics
Power Distribution Schematics
Figure 2:

Cell 80: Instrument Cluster


Object Number: 342549  Size: FS
Instrument Cluster and HUD Components
Instrument Cluster Circuit Description
Cell 80: IP Fuse Block
Cell 80: Indicators
Handling ESD Sensitive Parts Notice
SIR Schematics
Engine Controls Schematics
Engine Controls Schematics
Theft Deterrent System Schematics
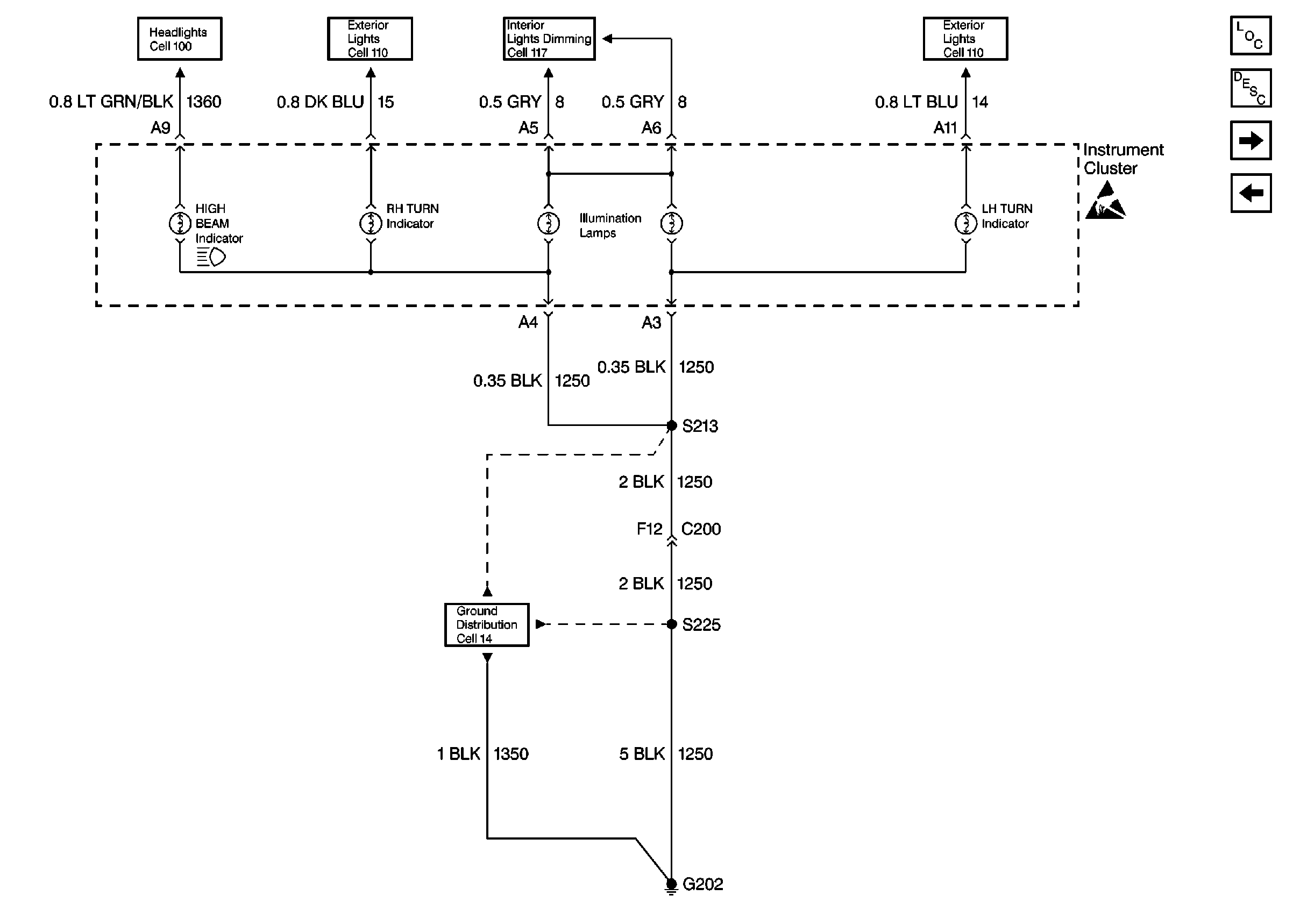
Figure 3:

Cell 80: Indicators


Object Number: 342554  Size: FS
Instrument Cluster and HUD Components
Instrument Cluster Circuit Description
Cell 80: Indicators # 2
Cell 80: Instrument Cluster
Handling ESD Sensitive Parts Notice
Instrument Cluster: Analog Schematics Buick with U23
Headlights Schematics Buick
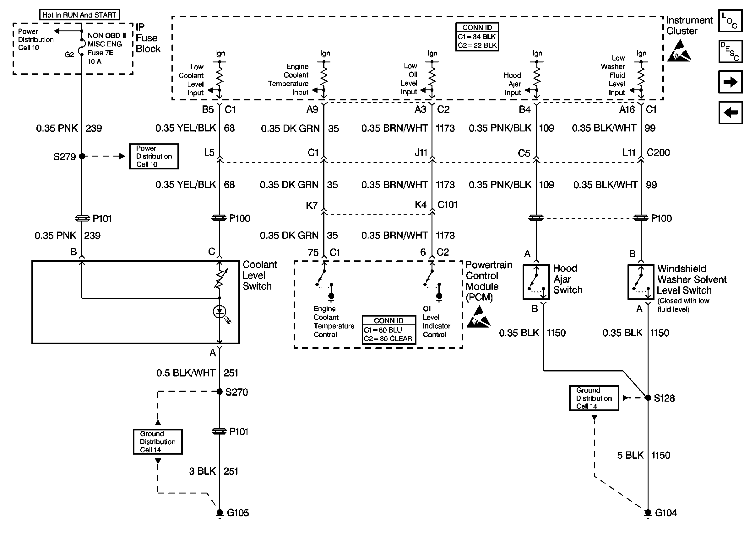
Figure 4:

Cell 80: Indicators # 2


Object Number: 342557  Size: FS
Instrument Cluster and HUD Components
Instrument Cluster Circuit Description
Headlights Schematics Buick
Cell 80: Fuel Sender
Audible Warnings Schematics
Cell 80: Indicators
Handling ESD Sensitive Parts Notice
Exterior Lights Schematics Buick
Interior Lights Dimming Schematics Buick
Ground Distribution Schematics
Ground Distribution Schematics
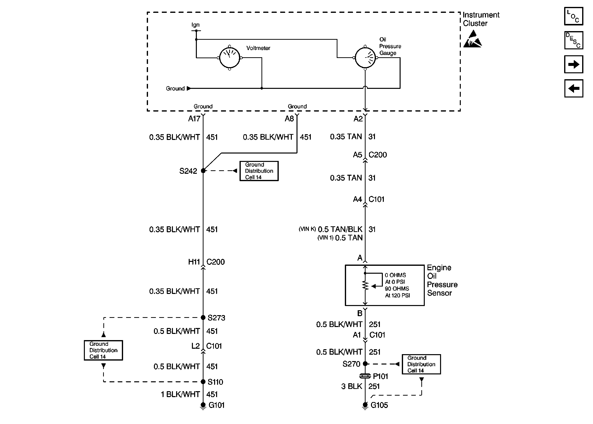
Figure 5:

Cell 80: Fuel Sender


Object Number: 342559  Size: FS
Instrument Cluster and HUD Components
Instrument Cluster Circuit Description
Cell 80: Indicators # 2
Handling ESD Sensitive Parts Notice
Handling ESD Sensitive Parts Notice
Engine Controls Schematics
Powertrain Control Module Connector End Views

Instrument Cluster: Analog Schematics Buick with UB3

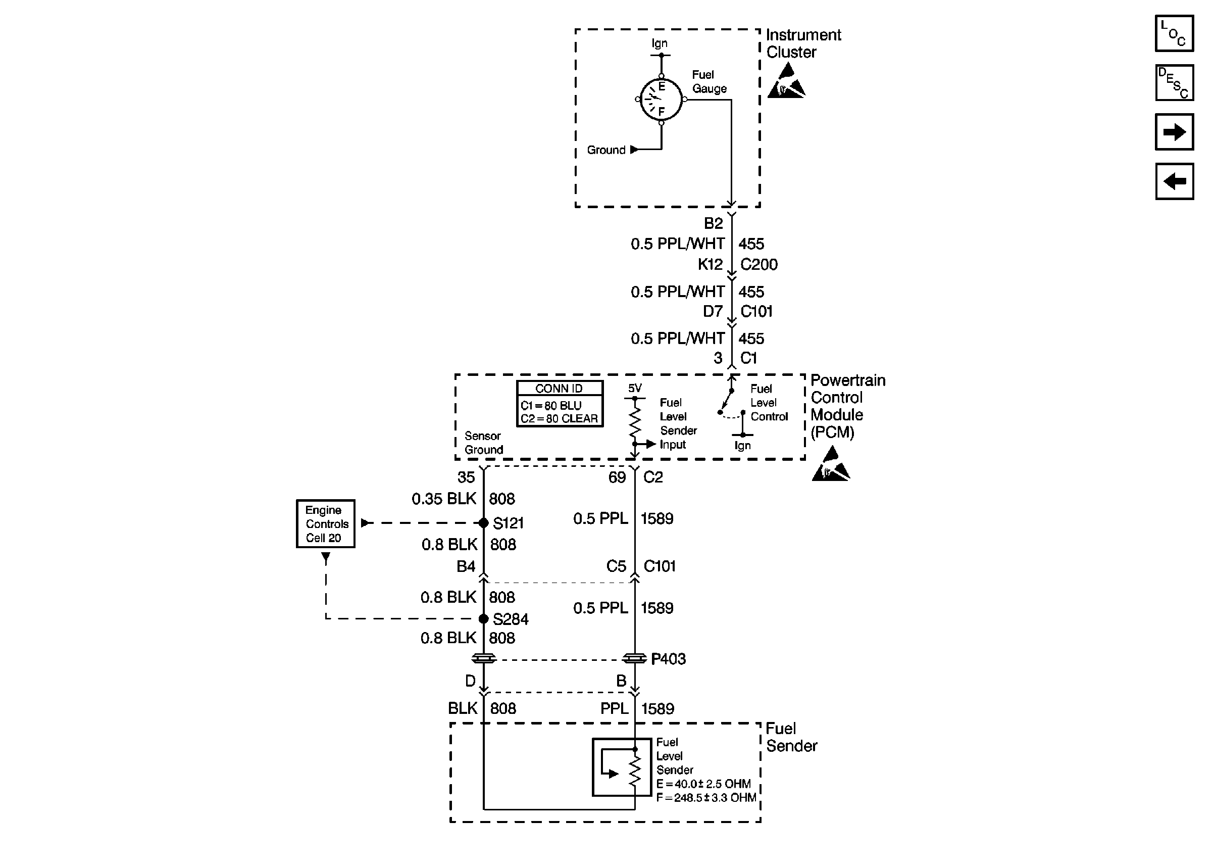
Figure 1:

Cell 81:Gauges


Object Number: 342661  Size: FS
Instrument Cluster and HUD Components
Instrument Cluster Circuit Description
Cell 81: Fuel Tank Unit
Handling ESD Sensitive Parts Notice
Ground Distribution Schematics
Power Distribution Schematics
Power Distribution Schematics
Figure 2:

Cell 81: Fuel Tank Unit


Object Number: 342672  Size: FS
Instrument Cluster and HUD Components
Instrument Cluster Circuit Description
Cell 81: Instrument Cluster
Cell 81:Gauges
Handling ESD Sensitive Parts Notice
Handling ESD Sensitive Parts Notice
Engine Controls Schematics
Powertrain Control Module Connector End Views
Figure 3:

Cell 81: Instrument Cluster


Object Number: 342679  Size: FS
Instrument Cluster and HUD Components
Instrument Cluster Circuit Description
Cell 81: Instrument Cluster
Cell 81: Fuel Tank Unit
Handling ESD Sensitive Parts Notice
Handling ESD Sensitive Parts Notice
Engine Controls Schematics
Powertrain Control Module Connector End Views
Figure 4:

Cell 81: Instrument Cluster


Object Number: 342685  Size: FS
Instrument Cluster and HUD Components
Instrument Cluster Circuit Description
Cell 81: Remote Indicator Bank
Cell 81: Instrument Cluster
Handling ESD Sensitive Parts Notice
Exterior Lights Schematics Buick
Exterior Lights Schematics Buick
Interior Lights Dimming Schematics Buick
Headlights Schematics Buick
Ground Distribution Schematics
Figure 5:

Cell 81: Remote Indicator Bank


Object Number: 342688  Size: FS
Instrument Cluster and HUD Components
Instrument Cluster Circuit Description
Cell 81: IP Fuse Block
Cell 81: Instrument Cluster
Handling ESD Sensitive Parts Notice
Handling ESD Sensitive Parts Notice
Cruise Control Schematics
Power Distribution Schematics
Power Distribution Schematics
Audible Warnings Schematics
Ground Distribution Schematics
Powertrain Control Module Connector End Views
Figure 6:

Cell 81: IP Fuse Block


Object Number: 342694  Size: FS
Instrument Cluster and HUD Components
Instrument Cluster Circuit Description
Cell 81: Remote Indicator Bank
Handling ESD Sensitive Parts Notice
Theft Deterrent System Schematics
Power Distribution Schematics
Engine Controls Schematics
Starting and Charging Schematics
SIR Schematics
Antilock Brake System Schematics
Antilock Brake System Schematics
Power Distribution Schematics

Instrument Cluster: Analog Schematics Oldsmobile

Figure 1:

Cell 81: Oldsmobile with UH8


Object Number: 342697  Size: FS
Instrument Cluster and HUD Components
Instrument Cluster Circuit Description
Cell 81: IP Fuse Block
Handling ESD Sensitive Parts Notice
Theft Deterrent System Schematics
Power Distribution Schematics
Power Distribution Schematics
Antilock Brake System Schematics
SIR Schematics
Engine Controls Schematics
Brake Warning System Schematics Oldsmobile
Instrument Cluster and HUD Connector End Views
Power Distribution Schematics
Power Distribution Schematics
Figure 2:

Cell 81: IP Fuse Block


Object Number: 342700  Size: FS
Instrument Cluster and HUD Components
Instrument Cluster Circuit Description
Cell 81: Oldsmobile with UH8
Cell 81: Oldsmobile with UH8
Handling ESD Sensitive Parts Notice
Ground Distribution Schematics
Ground Distribution Schematics
Headlights Schematics Buick
Interior Lights Dimming Schematics Buick
Power Distribution Schematics
Audible Warnings Schematics
Instrument Cluster and HUD Connector End Views
Power Distribution Schematics
Figure 3:

Cell 81: Oldsmobile with UH8


Object Number: 342702  Size: FS
Instrument Cluster and HUD Components
Instrument Cluster Circuit Description
Cell 81: Fuel Tank Unit
Cell 81: IP Fuse Block
Handling ESD Sensitive Parts Notice
Handling ESD Sensitive Parts Notice
Handling ESD Sensitive Parts Notice
Engine Controls Schematics
Instrument Cluster and HUD Connector End Views
Powertrain Control Module Connector End Views
Data Link Connector Schematics
Figure 4:

Cell 81: Fuel Tank Unit


Object Number: 342821  Size: FS
Instrument Cluster and HUD Components
Instrument Cluster Circuit Description
Cell 81: Engine Oil Pressure Switch
Cell 81: Oldsmobile with UH8
Handling ESD Sensitive Parts Notice
Instrument Cluster and HUD Connector End Views
Figure 5:

Cell 81: Engine Oil Pressure Switch


Object Number: 342826  Size: FS
Instrument Cluster and HUD Components
Instrument Cluster Circuit Description
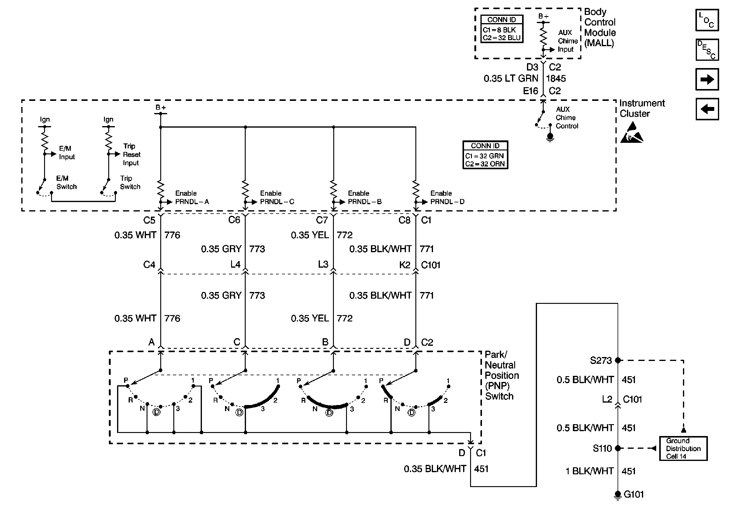
Cell 81: Body Control Module (MALL)
Cell 81: Fuel Tank Unit
Instrument Cluster and HUD Connector End Views
Handling ESD Sensitive Parts Notice
Ground Distribution Schematics
Exterior Lights Schematics Oldsmobile
Figure 6:

Cell 81: Body Control Module (MALL)


Object Number: 342831  Size: FS
Instrument Cluster and HUD Components
Instrument Cluster Circuit Description
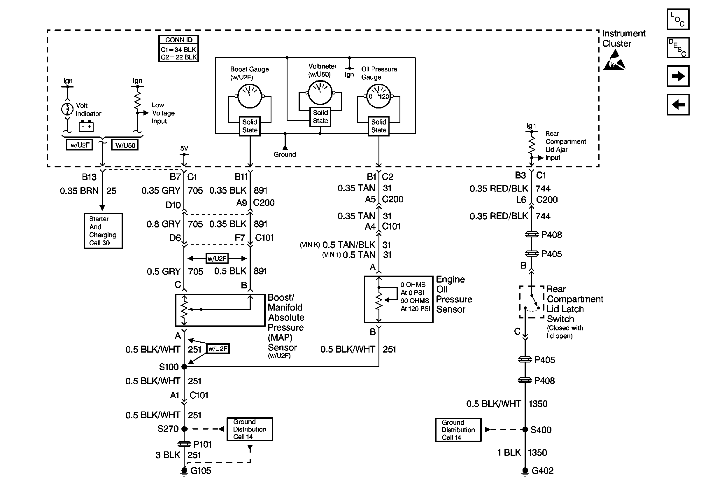
Cell 81: Powertrain Control Module (PCM)
Cell 81: Engine Oil Pressure Switch
Ground Distribution Schematics
Body Control System Connector End Views
Instrument Cluster and HUD Connector End Views
Handling ESD Sensitive Parts Notice
Figure 7:

Cell 81: Powertrain Control Module (PCM)


Object Number: 342836  Size: FS
Instrument Cluster and HUD Components
Instrument Cluster Circuit Description
Cell 81: Body Control Module (MALL)
Handling ESD Sensitive Parts Notice
Handling ESD Sensitive Parts Notice
Handling ESD Sensitive Parts Notice
Power Distribution Schematics
Power Distribution Schematics
Ground Distribution Schematics
Ground Distribution Schematics
Powertrain Control Module Connector End Views
Instrument Cluster and HUD Connector End Views

Instrument Cluster: Analog Schematics Pontiac with UB3

Figure 1:

Cell 81: Pontiac with UB3


Object Number: 342842  Size: FS
Instrument Cluster and HUD Components
Instrument Cluster Circuit Description
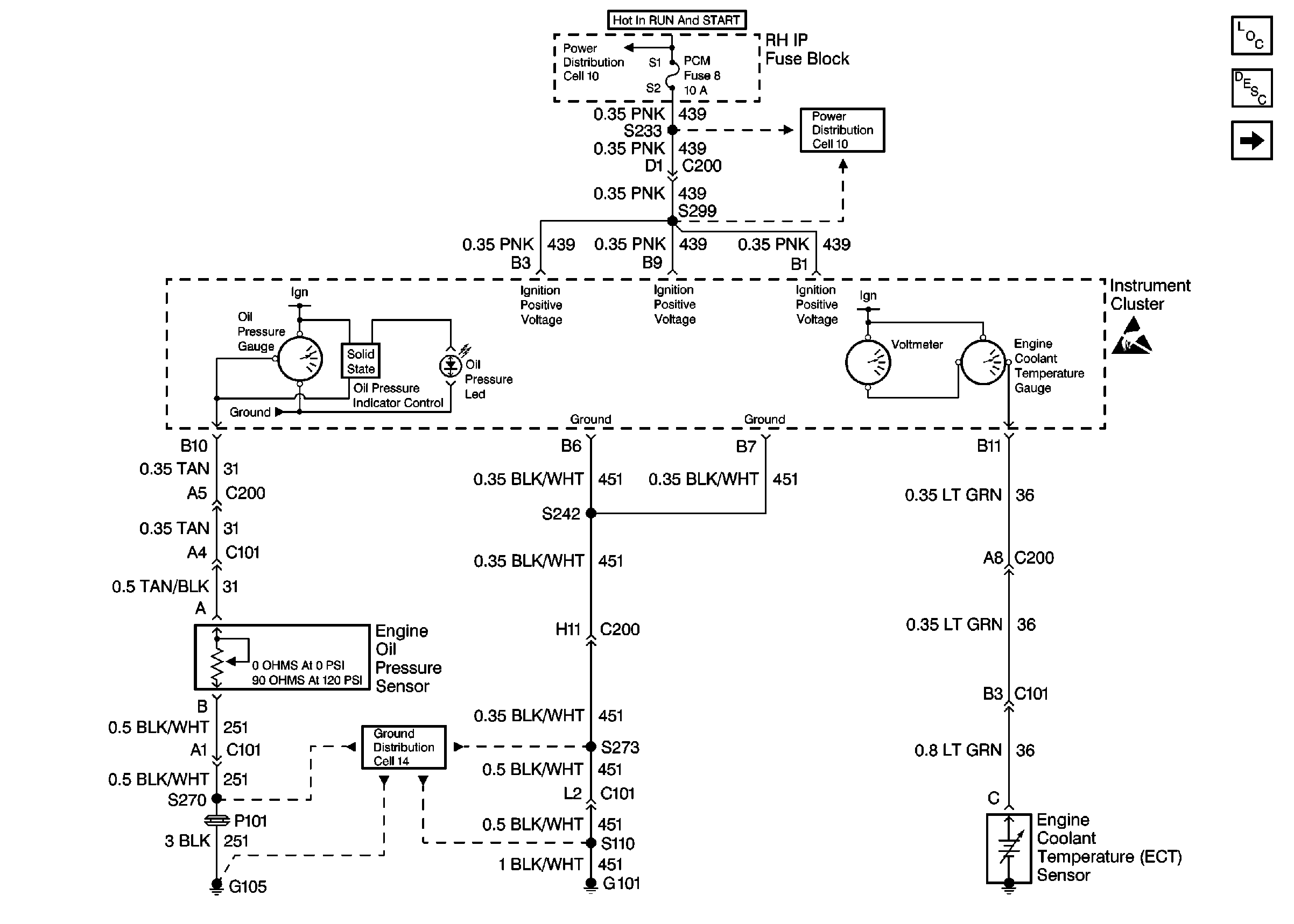
Cell 81: Engine Oil Pressure Sensor
Handling ESD Sensitive Parts Notice
Handling ESD Sensitive Parts Notice
Handling ESD Sensitive Parts Notice
Power Distribution Schematics
Power Distribution Schematics
Engine Controls Schematics
Powertrain Control Module Connector End Views
Figure 2:

Cell 81: Engine Oil Pressure Sensor


Object Number: 342853  Size: FS
Instrument Cluster and HUD Components
Instrument Cluster Circuit Description
Cell 81: Fuel Tank Unit
Cell 81: Pontiac with UB3
Handling ESD Sensitive Parts Notice
Ground Distribution Schematics
Ground Distribution Schematics
Ground Distribution Schematics
Figure 3:

Cell 81: Fuel Tank Unit


Object Number: 342860  Size: FS
Instrument Cluster and HUD Components
Instrument Cluster Circuit Description
Cell 81: Windshield Washer Fluid Level Switch
Cell 81: Engine Oil Pressure Sensor
Handling ESD Sensitive Parts Notice
Handling ESD Sensitive Parts Notice
Engine Controls Schematics
Powertrain Control Module Connector End Views
Figure 4:

Cell 81: Windshield Washer Fluid Level Switch


Object Number: 342890  Size: FS
Instrument Cluster and HUD Components
Instrument Cluster Circuit Description
Cell 81: Brake Indicator
Cell 81: Fuel Tank Unit
Audible Warnings Schematics
Starting and Charging Schematics
Powertrain Control Module Connector End Views
Handling ESD Sensitive Parts Notice
Handling ESD Sensitive Parts Notice
Ground Distribution Schematics
Figure 5:

Cell 81: Brake Indicator


Object Number: 342893  Size: FS
Instrument Cluster and HUD Components
Instrument Cluster Circuit Description
Cell 81: IP Fuse Block
Cell 81: Windshield Washer Fluid Level Switch
Brake Warning System Schematics Oldsmobile
Engine Controls Schematics
SIR Schematics
Antilock Brake System Schematics
Handling ESD Sensitive Parts Notice
Figure 6:

Cell 81: IP Fuse Block


Object Number: 342896  Size: FS
Instrument Cluster and HUD Components
Instrument Cluster Circuit Description
Cell 81: Brake Indicator
Handling ESD Sensitive Parts Notice
Power Distribution Schematics
Power Distribution Schematics
Theft Deterrent System Schematics
Ground Distribution Schematics
Interior Lights Dimming Schematics Buick
Instrument Cluster: Analog Schematics Buick with U23
Exterior Lights Schematics Pontiac w/ UB3
Headlights Schematics Pontiac

Instrument Cluster: Analog Schematics Pontiac with U50/U2F

Figure 1:

Cell 81: Pontiac with U50/U2F


Object Number: 342898  Size: FS
Instrument Cluster and HUD Components
Instrument Cluster Circuit Description
Cell 81: Boost/Manifold Absolute Pressure (MAP) Sensor
Handling ESD Sensitive Parts Notice
Power Distribution Schematics
Power Distribution Schematics
Power Distribution Schematics
Power Distribution Schematics
Power Distribution Schematics
Power Distribution Schematics
Ground Distribution Schematics
Instrument Cluster and HUD Connector End Views
Power Distribution Schematics
Figure 2:

Cell 81: Boost/Manifold Absolute Pressure (MAP) Sensor


Object Number: 342900  Size: FS
Instrument Cluster and HUD Components
Instrument Cluster Circuit Description
Cell 81: Pontiac with U50/U2F
Cell 81: Pontiac with U50/U2F
Handling ESD Sensitive Parts Notice
Ground Distribution Schematics
Ground Distribution Schematics
Starting and Charging Schematics
Instrument Cluster and HUD Connector End Views
Figure 3:

Cell 81: Pontiac with U50/U2F


Object Number: 342904  Size: FS
Instrument Cluster and HUD Components
Instrument Cluster Circuit Description
Cell 81: From Hood Ajar Switch
Cell 81: Boost/Manifold Absolute Pressure (MAP) Sensor
Engine Controls Schematics
Instrument Cluster and HUD Connector End Views
Powertrain Control Module Connector End Views
Handling ESD Sensitive Parts Notice
Handling ESD Sensitive Parts Notice
Figure 4:

Cell 81: From Hood Ajar Switch


Object Number: 342908  Size: FS
Instrument Cluster and HUD Components
Instrument Cluster Circuit Description
Cell 81: LH Front Door Jamb Switch
Cell 81: Pontiac with U50/U2F
Power Distribution Schematics
Ground Distribution Schematics
Ground Distribution Schematics
Instrument Cluster and HUD Connector End Views
Handling ESD Sensitive Parts Notice
Handling ESD Sensitive Parts Notice
Power Distribution Schematics
Powertrain Control Module Connector End Views
Figure 5:

Cell 81: LH Front Door Jamb Switch


Object Number: 342912  Size: FS
Instrument Cluster and HUD Components
Instrument Cluster Circuit Description
Cell 81: Hood Ajar Switch
Cell 81: From Hood Ajar Switch
Ground Distribution Schematics
Ground Distribution Schematics
Handling ESD Sensitive Parts Notice
Ground Distribution Schematics
Instrument Cluster and HUD Connector End Views
Figure 6:

Cell 81: Hood Ajar Switch


Object Number: 342914  Size: FS
Instrument Cluster and HUD Components
Instrument Cluster Circuit Description
Cell 81: Brake Indicator
Cell 81: LH Front Door Jamb Switch
Instrument Cluster and HUD Connector End Views
Engine Controls Schematics
Handling ESD Sensitive Parts Notice
Handling ESD Sensitive Parts Notice
Handling ESD Sensitive Parts Notice
Handling ESD Sensitive Parts Notice
Powertrain Control Module Connector End Views
Figure 7:

Cell 81: Brake Indicator


Object Number: 342918  Size: FS
Instrument Cluster and HUD Components
Instrument Cluster Circuit Description
Cell 81: Instrument Cluster Illumination Lights
Cell 81: Hood Ajar Switch
Handling ESD Sensitive Parts Notice
Audible Warnings Schematics
Brake Warning System Schematics Oldsmobile
Engine Controls Schematics
SIR Schematics
Antilock Brake System Schematics
Exterior Lights Schematics Pontiac w/ U50 or U2F
Head Up Display Schematics
Figure 8:

Cell 81: Instrument Cluster Illumination Lights


Object Number: 342922  Size: FS
Instrument Cluster and HUD Components
Instrument Cluster Circuit Description
Cell 81: Brake Indicator
Ground Distribution Schematics
Interior Lights Dimming Schematics Buick
Audible Warnings Schematics
Headlights Schematics Pontiac
Theft Deterrent System Schematics
Instrument Cluster and HUD Connector End Views
Handling ESD Sensitive Parts Notice
Exterior Lights Schematics Pontiac w/ U50 or U2F