GM Service Manual Online
For 1990-2009 cars only
Makes
🢒
Buick
🢒
1999
🢒
LeSabre
🢒 Cell 80: Instrument Cluster
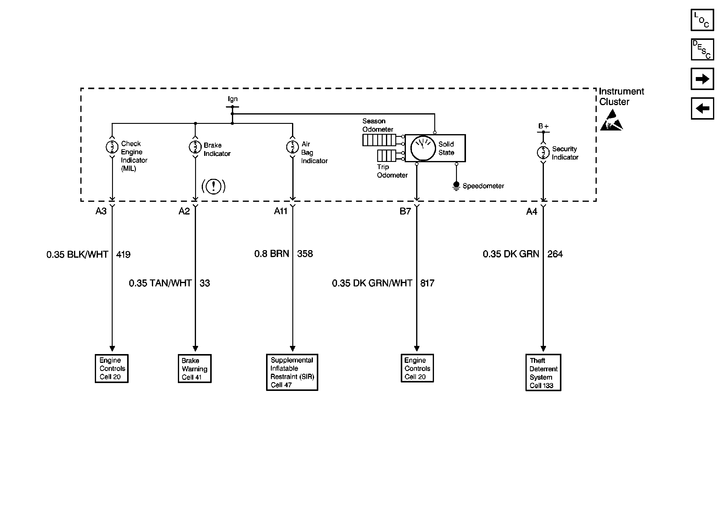
Cell 80: Instrument Cluster
Cell 80: Instrument Cluster
Instrument Cluster and HUD Components
Instrument Cluster Circuit Description
Cell 80: IP Fuse Block
Cell 80: Indicators
Handling ESD Sensitive Parts Notice
SIR Schematics
Engine Controls Schematics
Engine Controls Schematics
Theft Deterrent System Schematics