GM Service Manual Online
For 1990-2009 cars only
Makes
🢒
Buick
🢒
1999
🢒
LeSabre
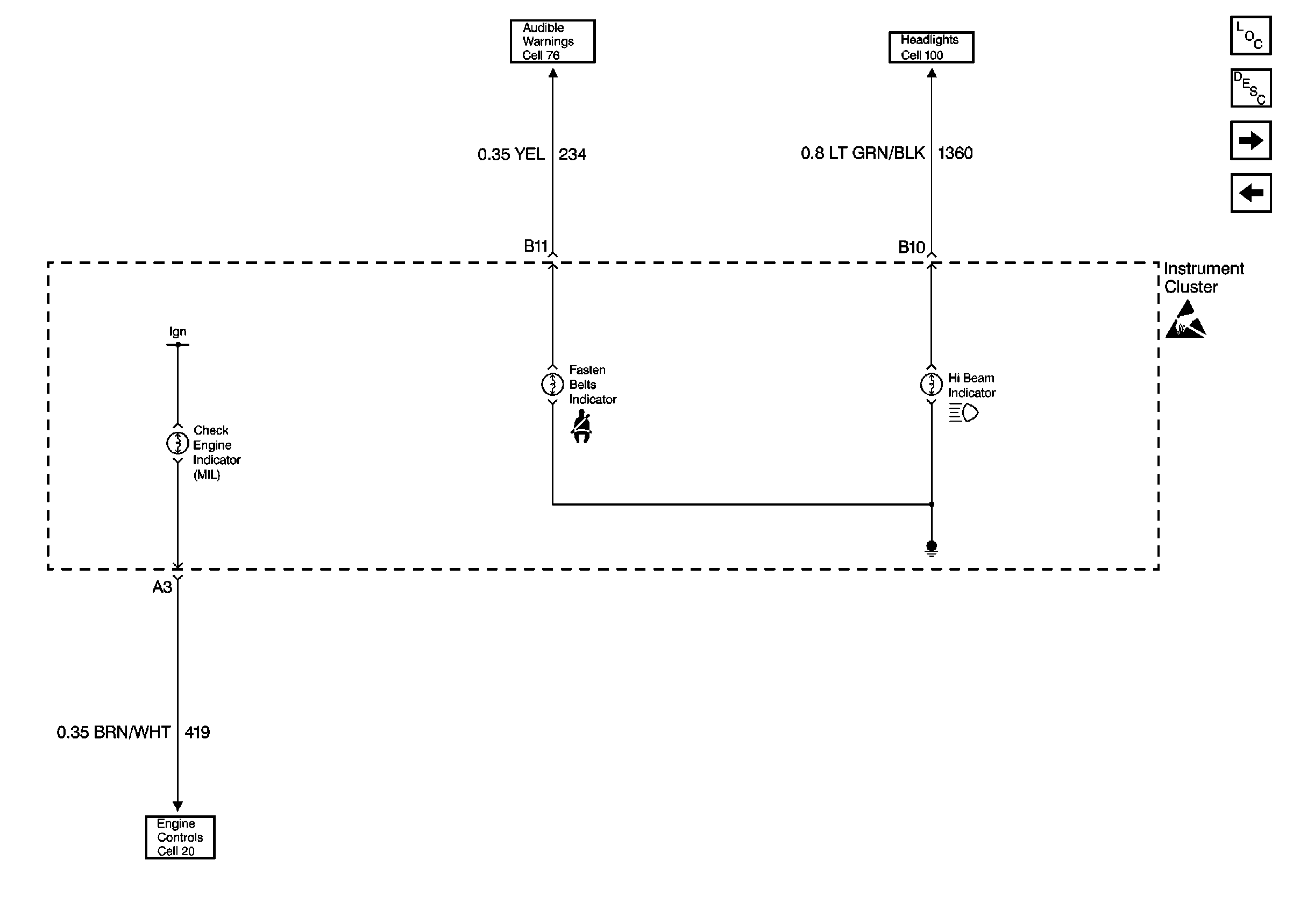
🢒 Cell 80: Indicators
Cell 80: Indicators
Cell 80: Indicators
Instrument Cluster and HUD Components
Instrument Cluster Circuit Description
Cell 80: Indicators # 2
Cell 80: Instrument Cluster
Handling ESD Sensitive Parts Notice
Instrument Cluster: Analog Schematics Buick with U23
Headlights Schematics Buick