GM Service Manual Online
For 1990-2009 cars only
Makes
🢒
Buick
🢒
1999
🢒
LeSabre
🢒 Cell 81: Oldsmobile with UH8
Cell 81: Oldsmobile with UH8
Cell 81: Oldsmobile with UH8
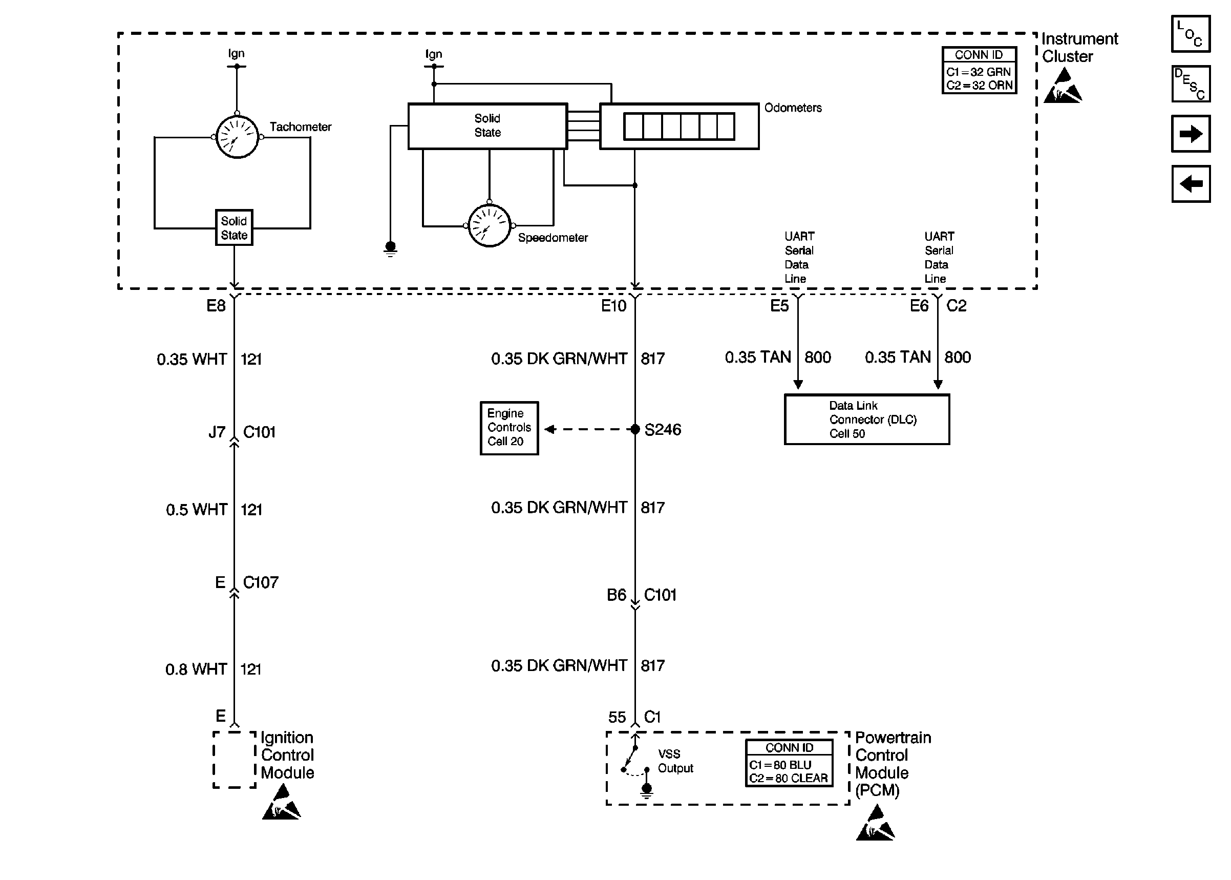
Instrument Cluster and HUD Components
Instrument Cluster Circuit Description
Cell 81: Fuel Tank Unit
Cell 81: IP Fuse Block
Handling ESD Sensitive Parts Notice
Handling ESD Sensitive Parts Notice
Handling ESD Sensitive Parts Notice
Engine Controls Schematics
Instrument Cluster and HUD Connector End Views
Powertrain Control Module Connector End Views
Data Link Connector Schematics