GM Service Manual Online
For 1990-2009 cars only
Makes
🢒
Buick
🢒
2001
🢒
LeSabre
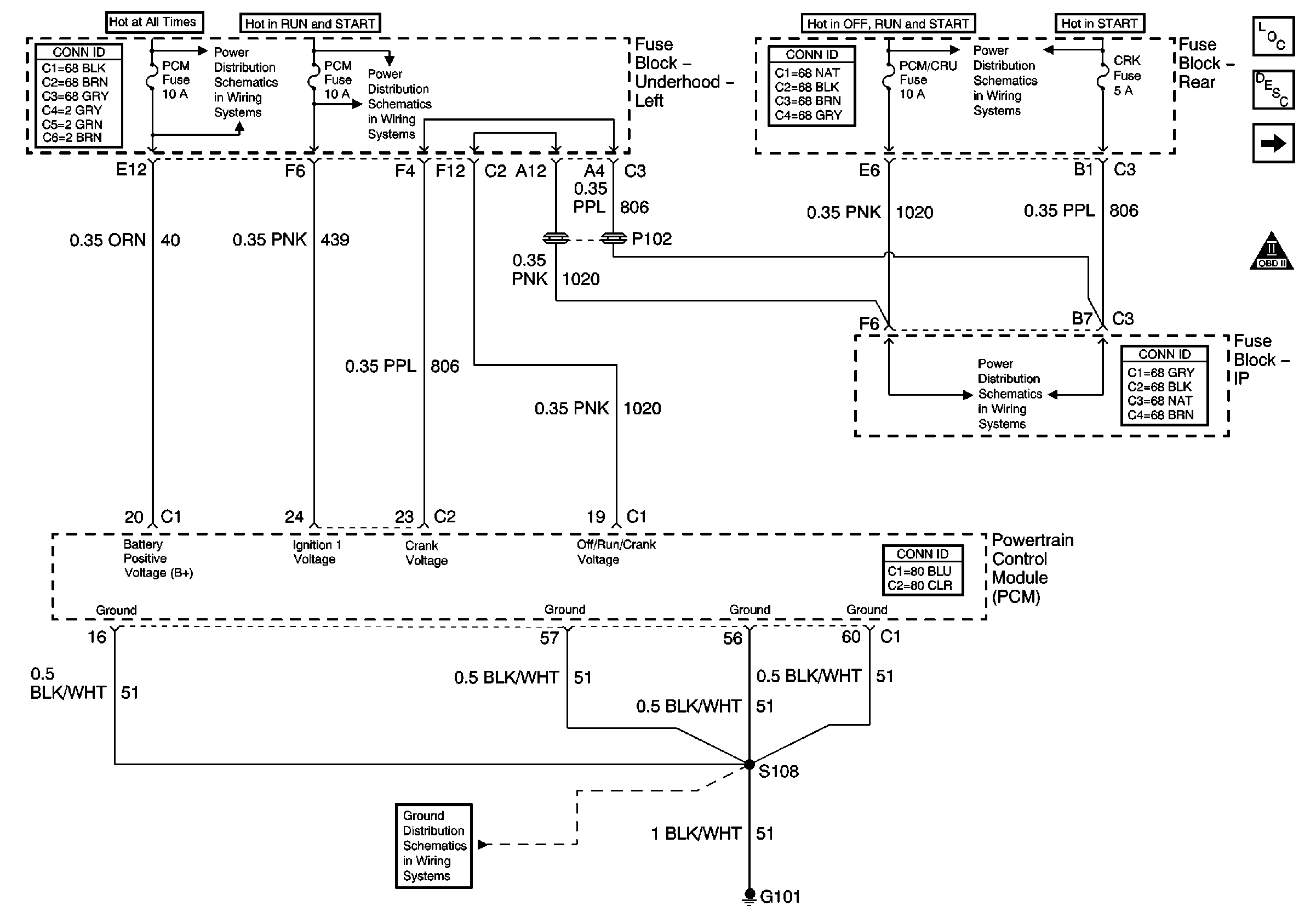
🢒 PCM Power and Ground
PCM Power and Ground
PCM Power and Ground
Master Electrical Component List
Powertrain Control Module Description
MIL and Data Link Connector (DLC)
OBD II Symbol Description Notice
Underhood Fuse Block- CRK, PCM/CRU and SBM Fuses
Underhood Fuse Block- CRK, PCM/CRU and SBM Fuses
Underhood Fuse Block- PCM, SIR and INJR Fuses
Underhood Fuse Block- PCM, ABS, HZDT/SG, F/PMP, PK LP Fuses and F/PMP Relay
G100, G101, G102 and G103