GM Service Manual Online
For 1990-2009 cars only
Makes
🢒
Buick
🢒
2001
🢒
LeSabre
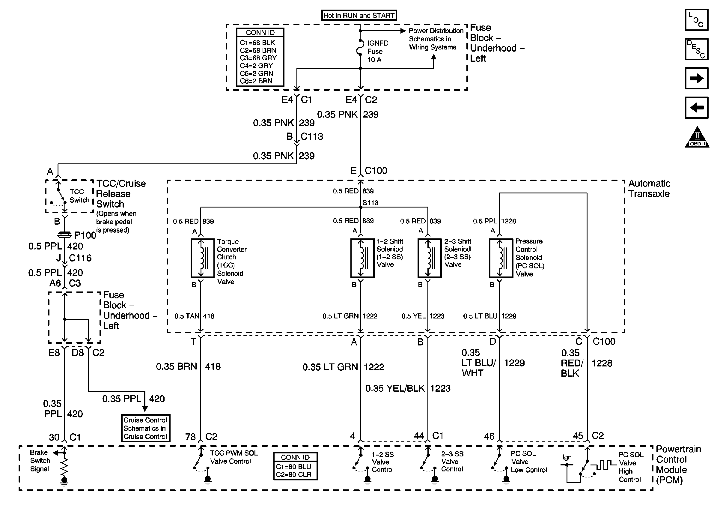
🢒 Transaxle Solenoids and ABS/TCC Switch
Transaxle Solenoids and ABS/TCC Switch
Transaxle Solenoids and ABS/TCC Switch
Master Electrical Component List
Powertrain Control Module Description
Sensors
Fuel Injectors
OBD II Symbol Description Notice
Underhood Fuse Block- AIR SOL, C3I and IGNFD Fuse
ABS/TCC Switch