GM Service Manual Online
For 1990-2009 cars only
Makes
🢒
Buick
🢒
1998
🢒
Park Avenue
🢒 Cell 55: Door Control Modules
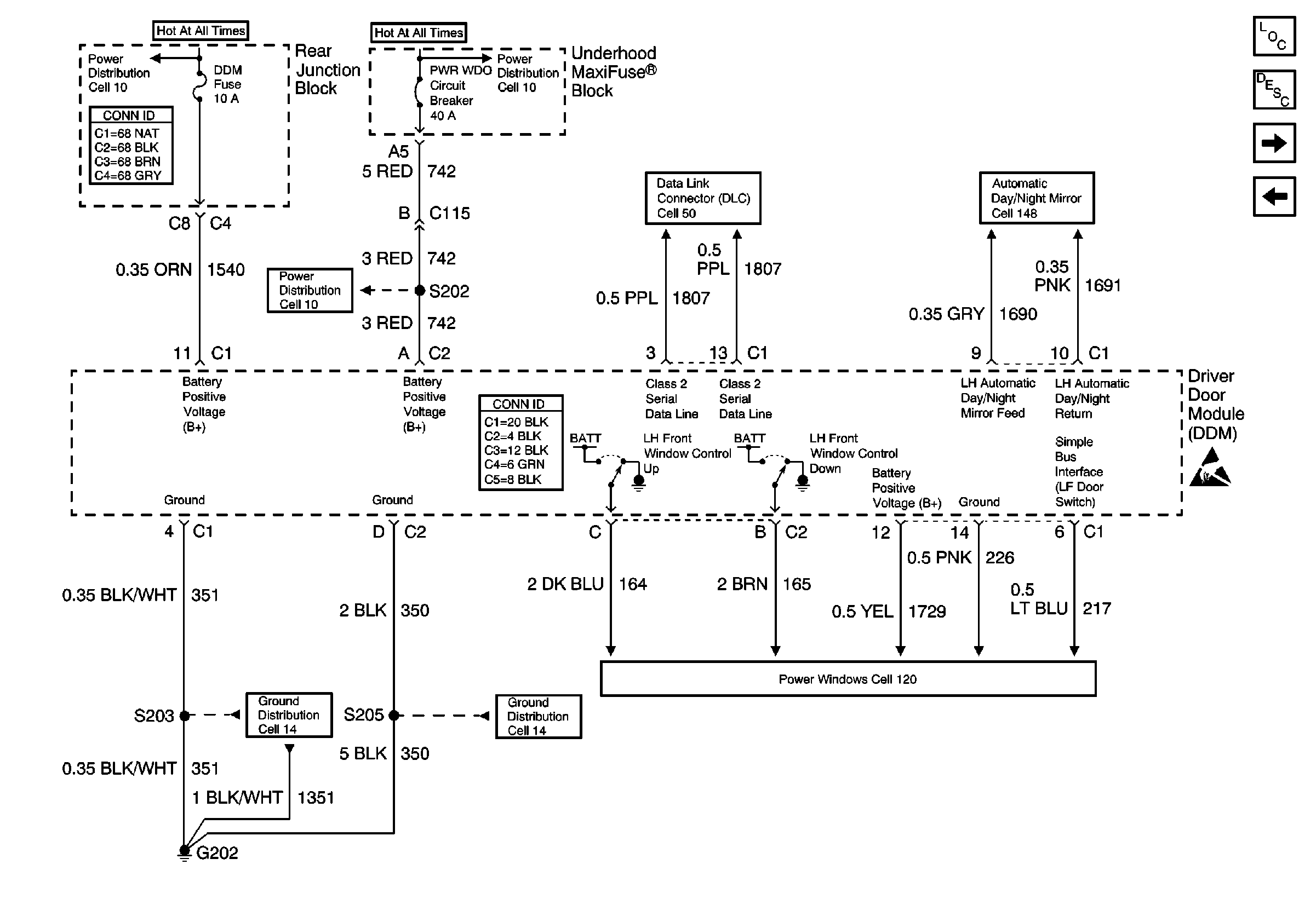
Cell 55: Door Control Modules
Cell 55: Door Control Modules
Power Door Systems Components
Power Door Locks Circuit Description
Cell 55: Left Front Door Jamb Switch
Cell 50: Class 2 Serial Data Line
Power Door Systems Connector End Views
Cell 14: G202 (1 of 4)
Cell 10: SUNROOF Fuse and PWR WDO Circuit Breaker
Power and Grounding Connector End Views
Cell 10: BATT 1, RDM, C/LTR, DDM, HTDST L, TRK REL, PDM, SBM, and CSTR/SBM FuseS
Handling ESD Sensitive Parts Notice
Cell 14: G202 (3 of 4)
Cell 10: SUNROOF Fuse and PWR WDO Circuit Breaker
Cell 148: Driver Door Module
Cell 55: DDM, PDM and RDM
Cell 120: Front Power Window Components