GM Service Manual Online
For 1990-2009 cars only
Makes
🢒
Buick
🢒
2000
🢒
Park Avenue
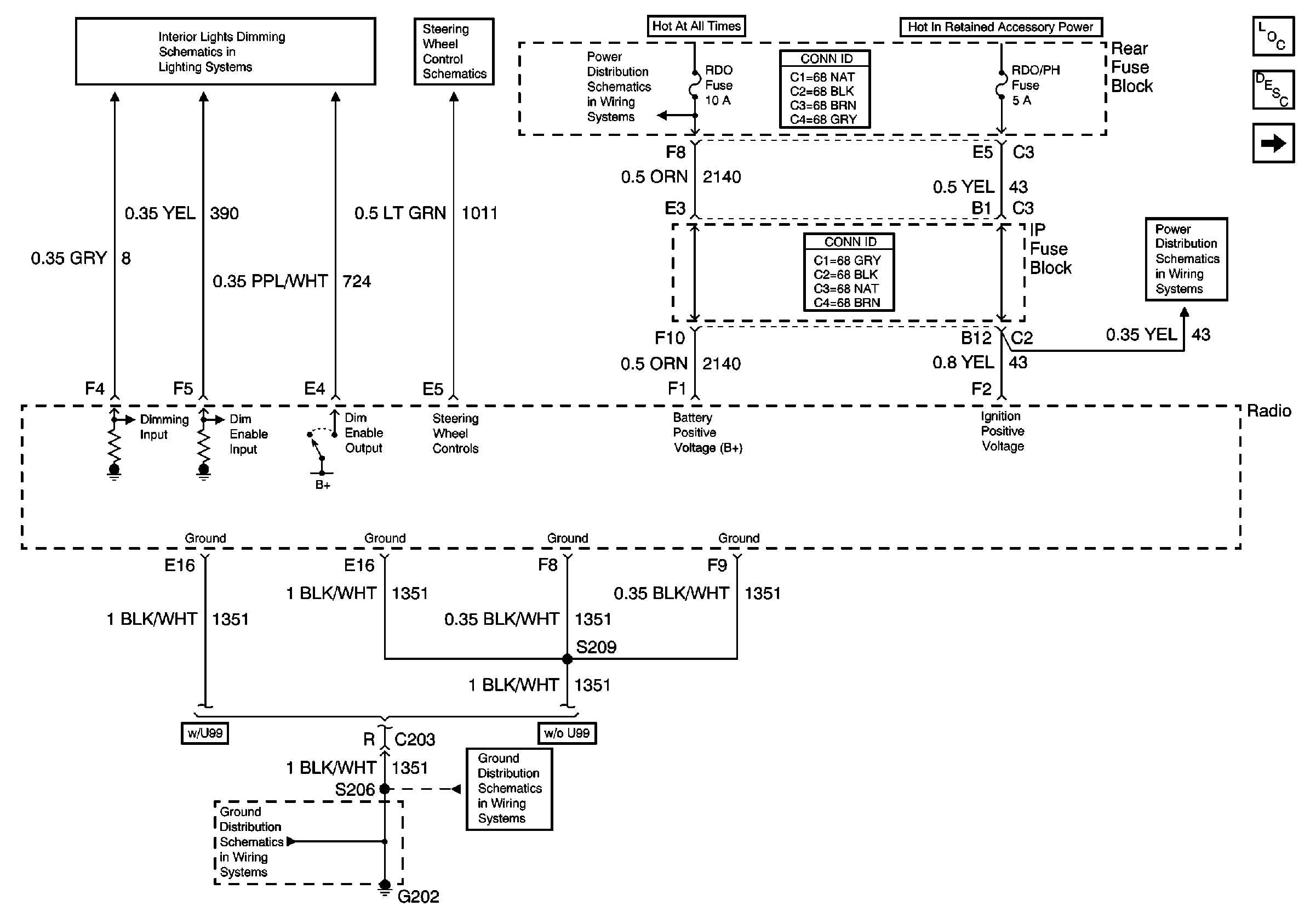
🢒 Radio Power and Grounds
Radio Power and Grounds
Radio Power and Grounds
VF Dimming and Control
Steering Wheel Controls
Entertainment Components
Radio/Audio System Circuit Description
Amplifier and Remote CD Power and Grounds
Underhood Maxi-Fuse Block, RAP Fuse/Rear Fuse Block, RAP Relay, RADIO and SUNROOF Fuses
G202, 3 of 4
G202, 3 of 4
Rear Fuse Block, RDO, RDO/PH and CD/PH Fuses