GM Service Manual Online
For 1990-2009 cars only
Makes
🢒
Buick
🢒
2001
🢒
Park Avenue
🢒
Body and Accessories
🢒
Seats
🢒 Power Seats Schematics
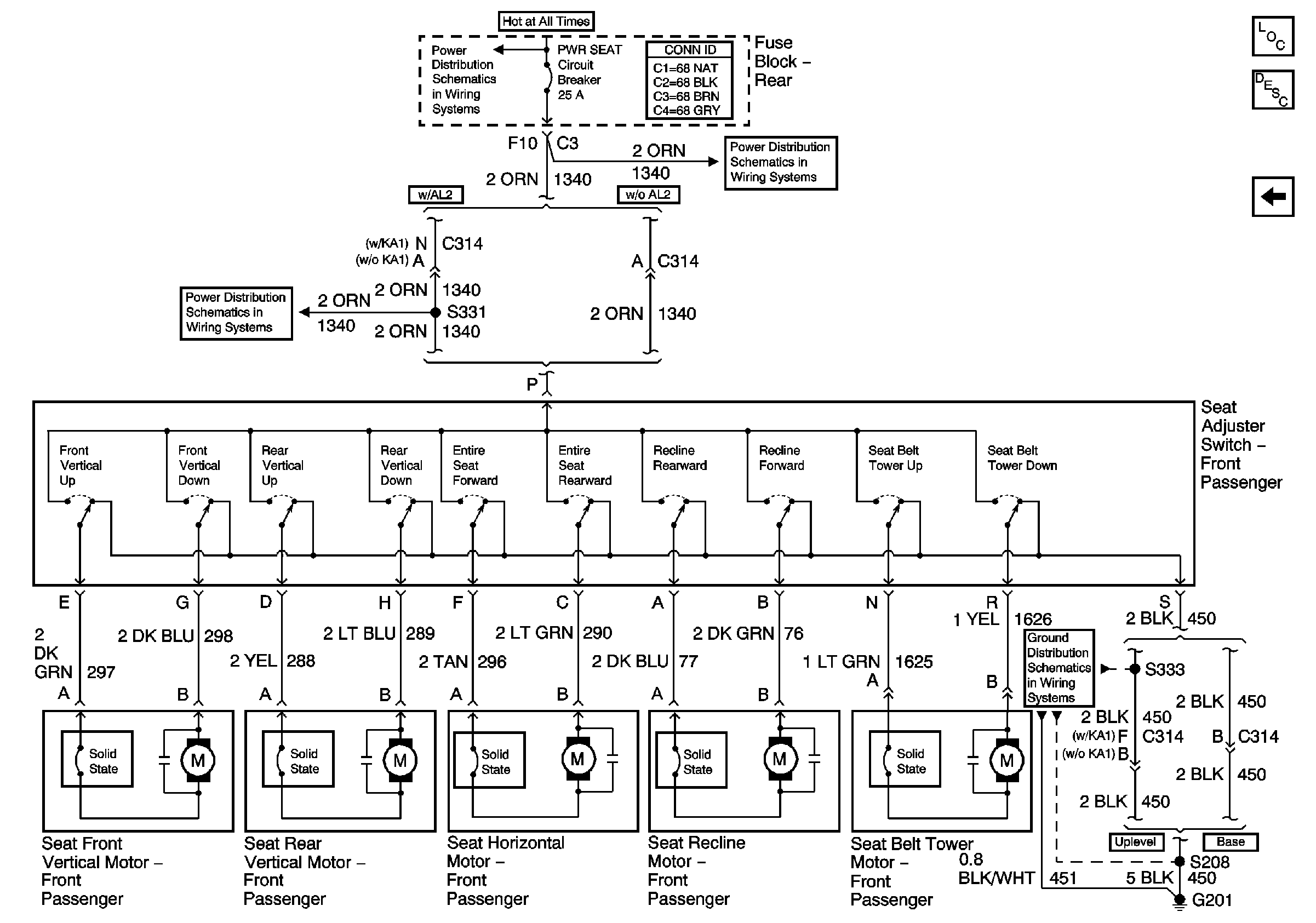
Figure
1:
LH Seat Switch (w/o A45)
Master Electrical Component List
Power Seats System Description and Operation
RH Seat Switch
Underhood Fuse Block- BAT 2 Fuse/ Rear Fuse Block- PWR SEAT and MEM/RFA FUSEs
Underhood Fuse Block- BAT 2 Fuse/ Rear Fuse Block- PWR SEAT and MEM/RFA FUSEs
G201 (1 of 2)
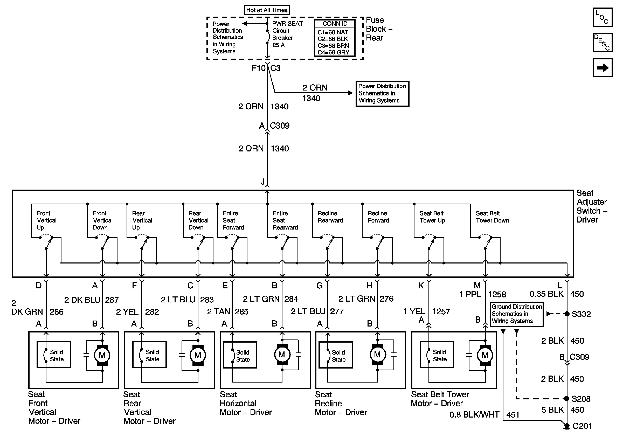
Figure
2:
RH Seat Switch
Master Electrical Component List
Power Seats System Description and Operation
LH Seat Switch (w/o A45)
Underhood Fuse Block- BAT 2 Fuse/ Rear Fuse Block- PWR SEAT and MEM/RFA FUSEs
Underhood Fuse Block- BAT 2 Fuse/ Rear Fuse Block- PWR SEAT and MEM/RFA FUSEs
Underhood Fuse Block- BAT 2 Fuse/ Rear Fuse Block- PWR SEAT and MEM/RFA FUSEs
G201 (1 of 2)