GM Service Manual Online
For 1990-2009 cars only
Makes
🢒
Buick
🢒
2001
🢒
Park Avenue
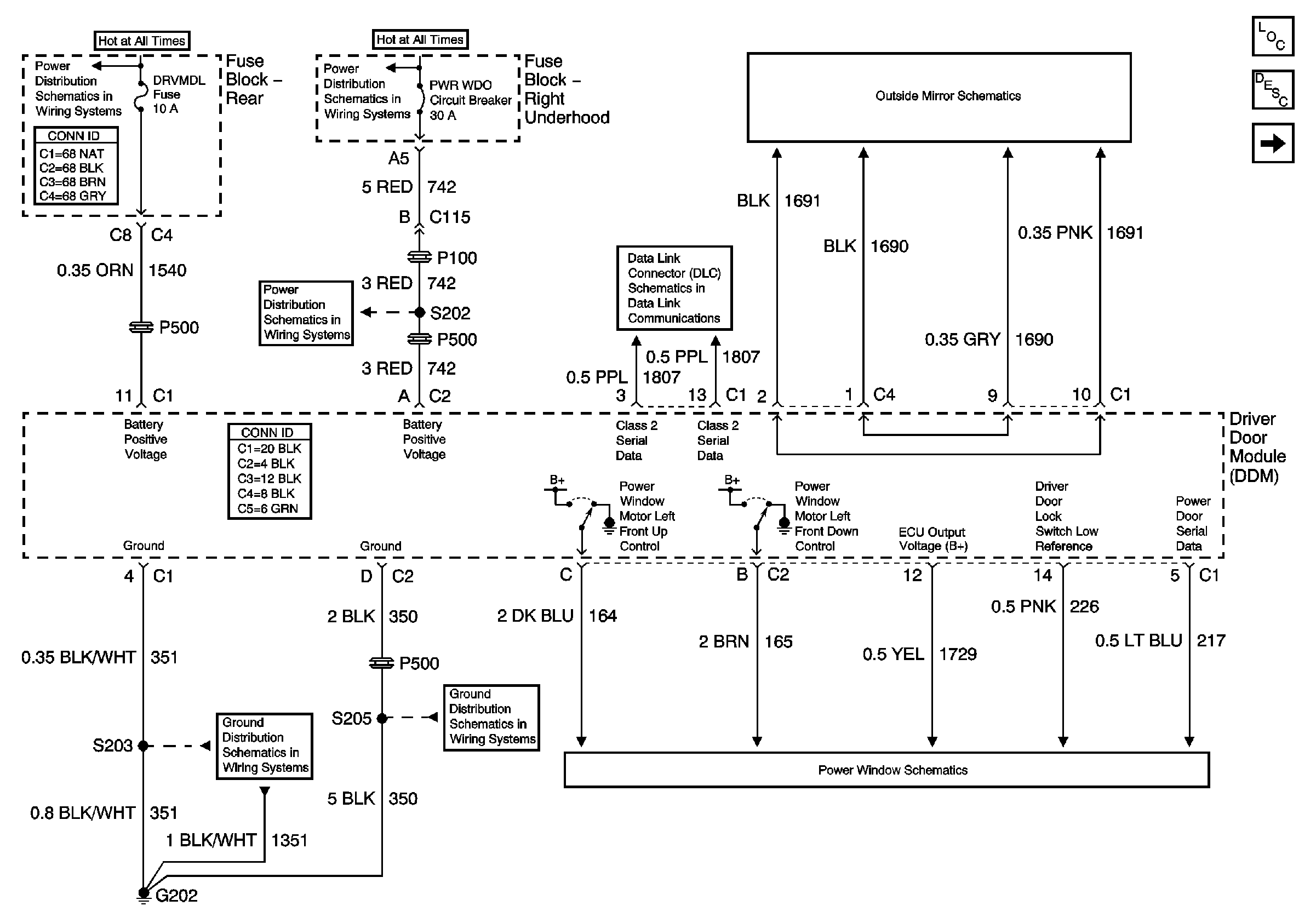
🢒 Driver Door Module
Driver Door Module
Driver Door Module
Master Electrical Component List
Outside Mirror Description and Operation
Driver Door Module Inputs and Outputs
Underhood Fuse Block- BAT 1/ Rear Fuse Block- RDM, C/LTR, DDM, HTDSTL, TRK REL Fuses and Trunk Lid Release Relay/ IP Fuse Block- PDM, SBM, CSTR/SBM Fuses
Underhood Fuse Block and Underhood Maxi-Fuse Block
Class 2 Serial Data Line
Underhood Maxi-Fuse Block- PWR WDO Circuit Breaker/Rear Fuse Block-RDO/PH, SUNRF Fuses and RAP Relay
Inside Rear View Mirror
G202 (1 of 4)
G202 (4 of 4)
Front Power Window Components