GM Service Manual Online
For 1990-2009 cars only
Figure 1:

Power Seat (w/o A45)


Object Number: 880402  Size: FS
Master Electrical Component List
Power Seats System Description and Operation
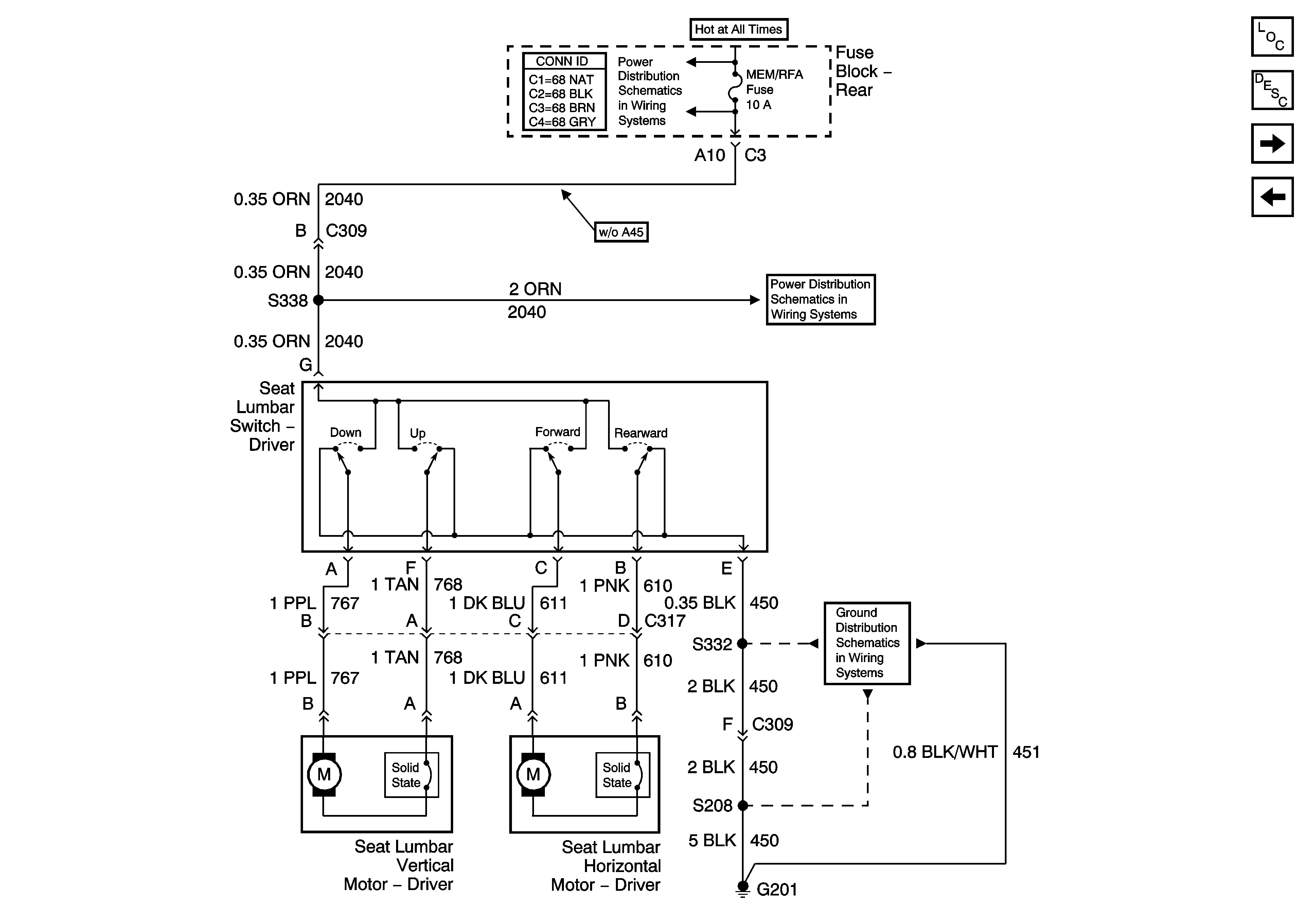
Power Lumbar Seat
PWR SEAT Circuit Breaker, MEM/RFA and BAT 2 Fuses
PWR SEAT Circuit Breaker, MEM/RFA and BAT 2 Fuses
G201 - 1 of 2
Figure 2:

Power Lumbar Seat


Object Number: 1339216  Size: FS
Master Electrical Component List
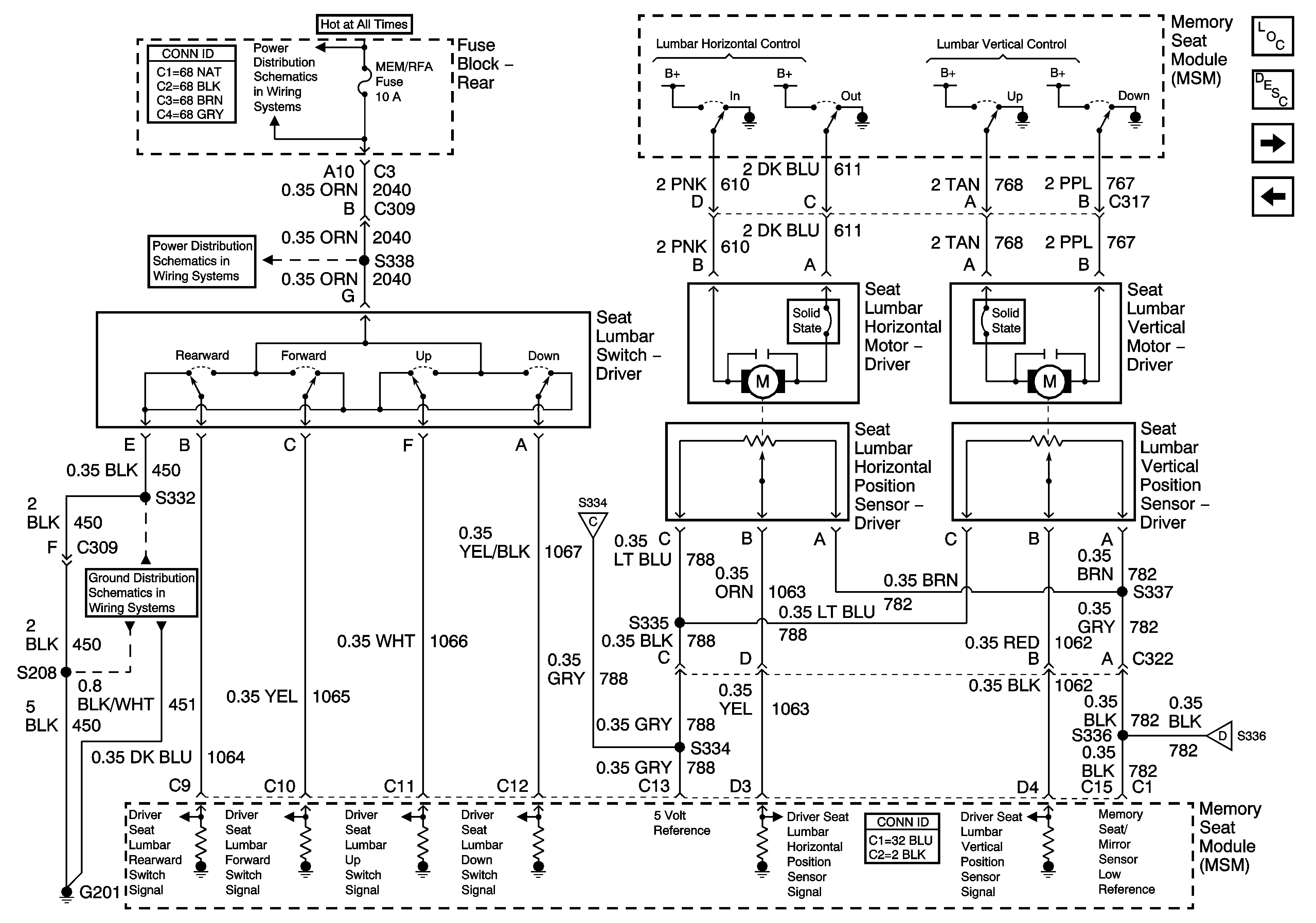
Memory Lumbar Seat (w/ A45)
Power Seat (w/o A45)
Figure 3:

Memory Lumbar Seat (w/A45)


Object Number: 1339224  Size: FS
Master Electrical Component List
Lumbar Support Description and Operation w/o A45
Heated Seat
Power Lumbar Seat
PWR SEAT Circuit Breaker, MEM/RFA and BAT 2 Fuses
PWR SEAT Circuit Breaker, MEM/RFA and BAT 2 Fuses
Vertical and Horizontal Motors (w/ A45)
Vertical and Horizontal Motors (w/ A45)
G201 - 1 of 2
Figure 4:

Heated Seat


Object Number: 1339229  Size: FS
Master Electrical Component List
Heated Seats Description and Operation
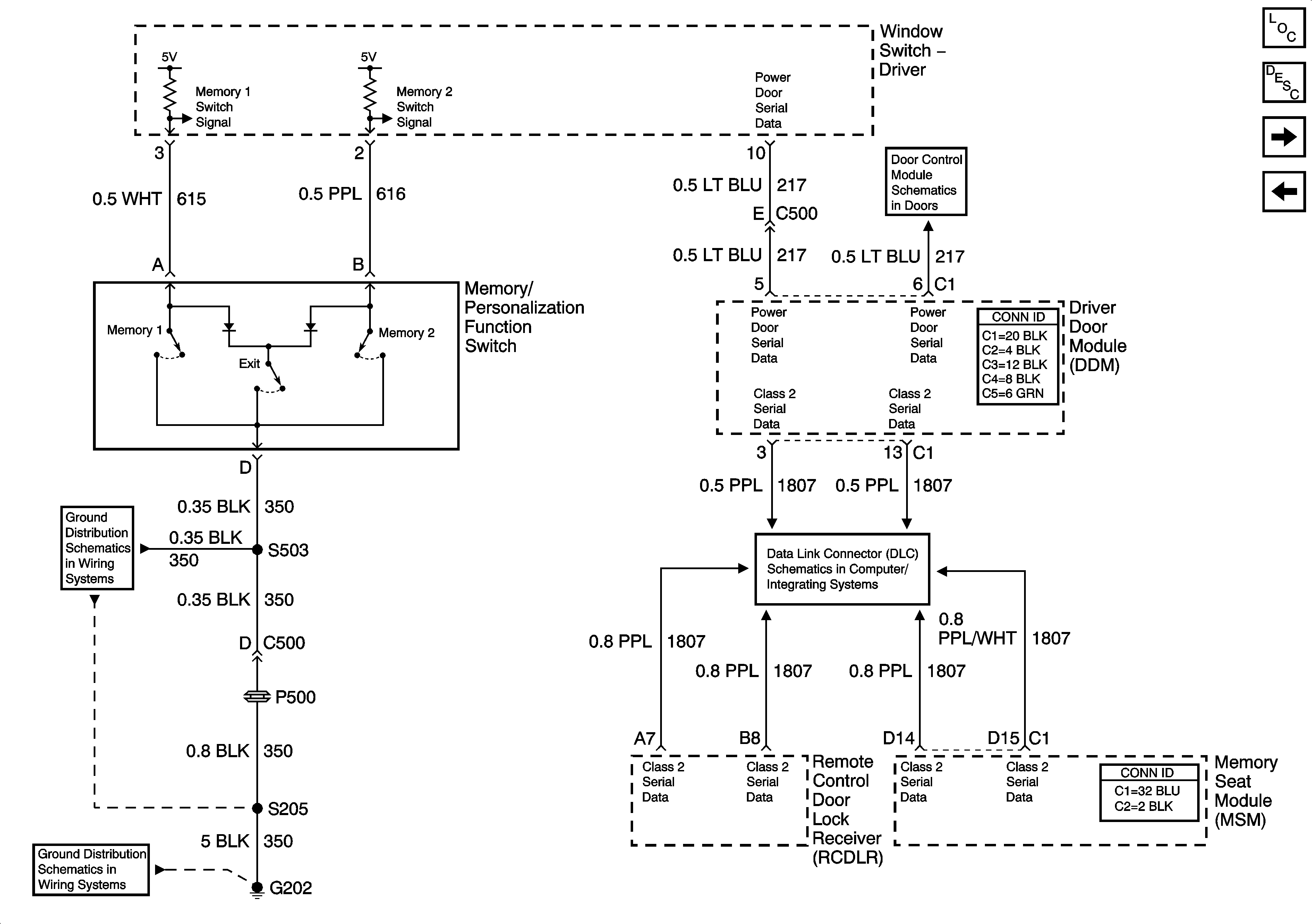
Memory/Personalization Function Switch (w/A45)
Memory Lumbar Seat (w/ A45)
BAT 1, RRINMDL, C/LTR, DRVMDL, HTDST L, TRK REL, PDM, SBM and CSTR/SBM Fuses
IGN SEN Fuse
IGN SEN Fuse
Front Passenger Heated Seat
Front Passenger Heated Seat
G201 - 2 of 2
G201 - 1 of 2
G201 - 2 of 2
Figure 5:

Memory/Personalization Function Switch (w/ A45)


Object Number: 1441556  Size: FS
Master Electrical Component List
Memory Seats Description and Operation
Driver Seat Adjuster Switch (w/ A45)
Heated Seat
Driver Door Module Inputs and Outputs
Class 2 Serial Data Lines
G202 - 4 of 4
G202 - 1 of 4
Figure 6:

Driver Seat Adjuster Switch (w/A45)


Object Number: 880404  Size: FS
Master Electrical Component List
Memory Seats Description and Operation
Vertical and Horizontal Motors (w/ A45)
Memory/Personalization Function Switch (w/A45)
PWR SEAT Circuit Breaker, MEM/RFA and BAT 2 Fuses
PWR SEAT Circuit Breaker, MEM/RFA and BAT 2 Fuses
PWR SEAT Circuit Breaker, MEM/RFA and BAT 2 Fuses
G201 - 1 of 2
G201 - 1 of 2
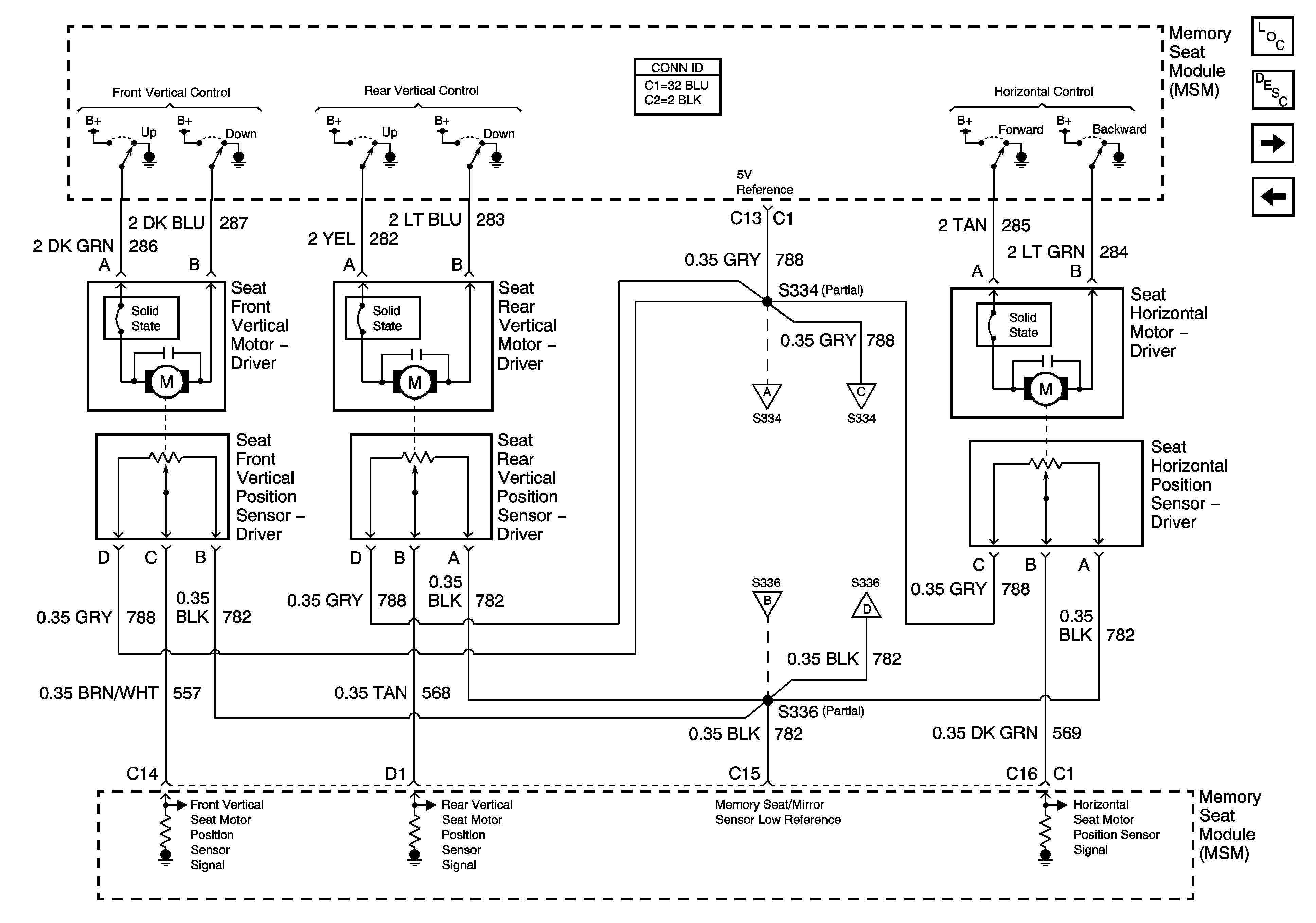
Figure 7:

Vertical and Horizontal Motors (w/A45)


Object Number: 1339235  Size: FS
Master Electrical Component List
Memory Seats Description and Operation
Recline Motor (w/ A45)
Driver Seat Adjuster Switch (w/ A45)
Recline Motor (w/ A45)
Recline Motor (w/ A45)
Memory Lumbar Seat (w/ A45)
Figure 8:

Recline Motor (w/A45)


Object Number: 880405  Size: FS
Master Electrical Component List
Memory Seats Description and Operation
Vertical and Horizontal Motors (w/ A45)
IGN SEN Fuse
IGN SEN Fuse
Vertical and Horizontal Motors (w/ A45)
Vertical and Horizontal Motors (w/ A45)