GM Service Manual Online
For 1990-2009 cars only
Makes
🢒
Buick
🢒
2005
🢒
Park Avenue
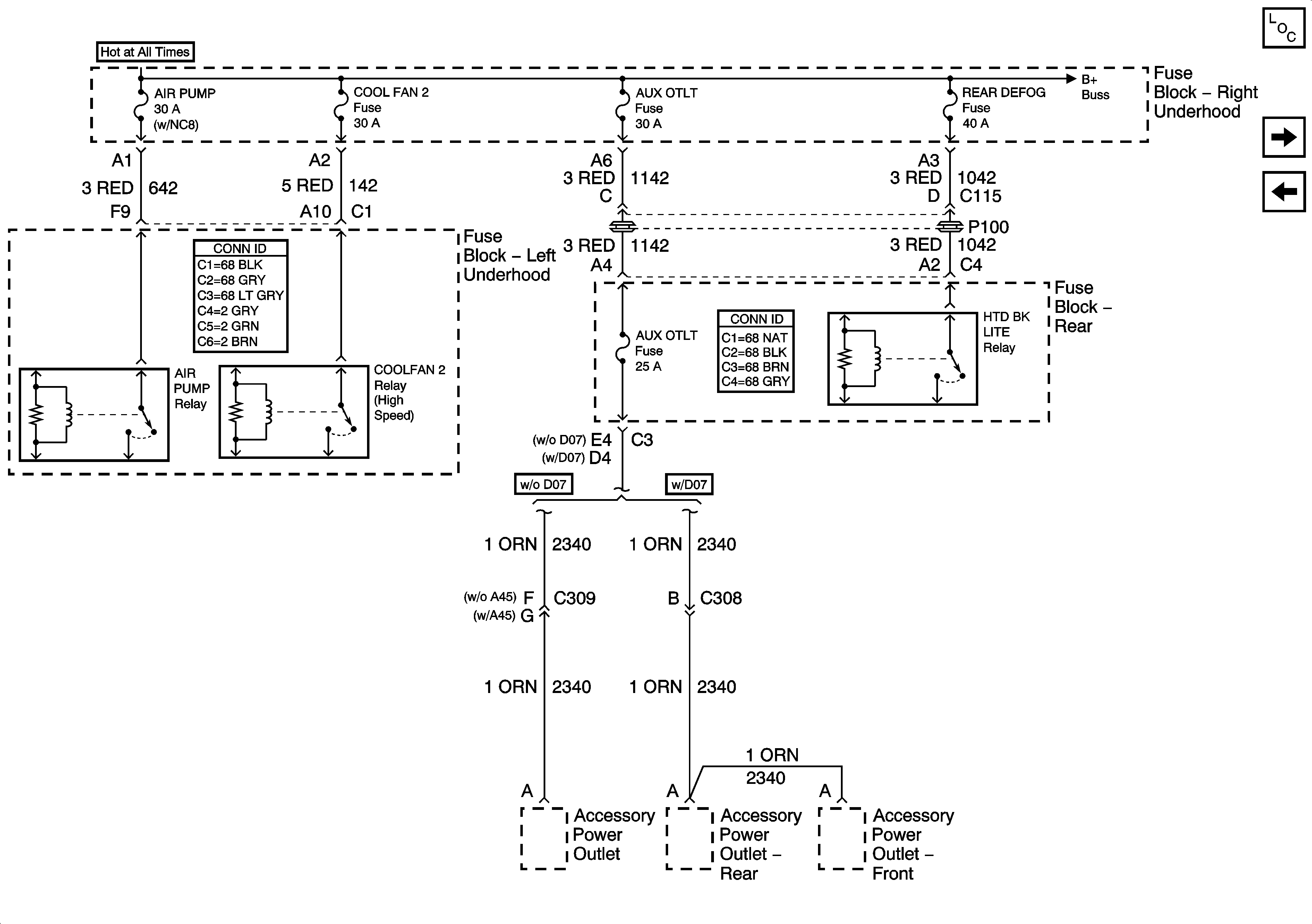
🢒 AIR PUMP, COOL FAN 2, AUX OTLT and REAR DEFOG Fuses
AIR PUMP, COOL FAN 2, AUX OTLT and REAR DEFOG Fuses
AIR PUMP, COOL FAN 2, AUX OTLT, and REAR DEFOG Fuses
Master Electrical Component List
PWR WDO Circuit Breaker, RDO/PH and SUNRF Fuses
CRK, PCM/CRU and SBM Fuses
Battery Feed to Left and Right Underhood Fuse Blocks